Part Number Hot Search : 
51125 C475M LTI610T BC238BTA DS3231M B5100B 405I31EM B230NH
Product Description
Full Text Search

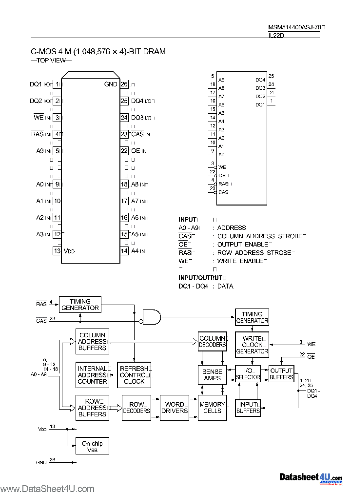
MSM514400ASJ-70 - CMOS 4M-Bit DRAM

MSM514400ASJ-70_7827809.PDF Datasheet


 Full text search : CMOS 4M-Bit DRAM
 Product Description search : CMOS 4M-Bit DRAM


 Related Part Number
PART Description Maker
GM71C17800C GM71C17800C-5 GM71C17800C-7 GM71C17800 x8 Fast Page Mode DRAM 2M X 8 FAST PAGE DRAM, 60 ns, PDSO28
x8 Fast Page Mode DRAM 2M X 8 FAST PAGE DRAM, 50 ns, PDSO28
2,097,152 WORDS x 8 BIT CMOS DYNAMIC RAM 2M X 8 FAST PAGE DRAM, 50 ns, PDSO28
x8 Fast Page Mode DRAM 2M X 8 FAST PAGE DRAM, 70 ns, PDSO28
2Mx8|5V|2K|5/6|FP/EDO DRAM - 16M
IC LOGIC 1G125 SINGLE BUS BUFFER GATE WITH 3-STATE OUTPUTS -40 85C SOT-23-5 3000/REEL
2/097/152 WORDS x 8 BIT CMOS DYNAMIC RAM
Hynix Semiconductor, Inc.
Hynix Semiconductor Inc.
GM71C17400 GM71C17400CJ GM71CS17400CL GM71C17400CL    4,194,304 WORDS x 4 BIT CMOS DYNAMIC RAM
4,194,304 words x 4 bit CMOS dynamic RAM, 60ns
4M X 4 FAST PAGE DRAM, 50 ns, PDSO24
x4 Fast Page Mode DRAM 4M X 4 FAST PAGE DRAM, 60 ns, PDSO24
4Mx4|5V|2K|5/6/7|FP/EDO DRAM - 16M
IC REG LDO 1A 12V SHDN TO220FP-5
null4/194/304 WORDS x 4 BIT CMOS DYNAMIC RAM
null4,194,304 WORDS x 4 BIT CMOS DYNAMIC RAM
4,194,304 words x 4 bit CMOS dynamic RAM, 50ns
4,194,304 words x 4 bit CMOS dynamic RAM, 70ns
Hynix Semiconductor, Inc.
Hynix Semiconductor Inc.
HYNIX[Hynix Semiconductor]
MB814100C-60 MB814100C-70 CMOS 4 M ×1 BIT Fast Page Mode DRAM(CMOS 4 M ×1 位快速页面存取模式动态RAM)
CMOS 4 M ×1 BIT Fast Page Mode DRAM(CMOS 4 M ×1位快速页面存取模式动态RAM)
Fujitsu Limited
MB814100D-60 MB814100D-70 CMOS 4 M ×1 BIT Fast Page Mode DRAM(CMOS 4 M ×1位速页面存取模式动态RAM)
CMOS 4 M ?1 BIT Fast Page Mode DRAM(CMOS 4 M ?1浣??椤甸?瀛??妯″??ㄦ?RAM)
Fujitsu Limited
MB85343C-70 CMOS 1M×32 BIT Hyper Page Mode DRAM Module(CMOS 1M×32位超级页面存取模式动态RAM模块)
CMOS 1M×32 BIT Hyper Page Mode DRAM Module(CMOS 1M×32位超级页面存取模式动态RAM模块) 的CMOS 100万32位的超页模式内存的CMOS00万32位超级页面存取模式动态内存模块)
Fujitsu Limited
Fujitsu, Ltd.
MB8116160A-70 CMOS 1 M ×16 BIT Fast Page Mode DRAM(CMOS 1 M ×16 位快速页面存取模式动态RAM)
CMOS 1 M ?16 BIT Fast Page Mode DRAM(CMOS 1 M ?16 浣?揩??〉?㈠???ā寮????AM)
Fujitsu Limited
MB814400D-60 CMOS 4 M ×1 BIT Fast Page Mode DRAM(CMOS 4 M ×1位速页面存取模式动态RAM)
Fujitsu Limited
HYS72V2200GU-10 HYS72V2200GU-8 HYS64V2200GU-10 HYS Network Cable Assembly; Connector Type A:T568A/B Modular Plug; Connector Type B:T568A/B Modular Plug; Cable Length:7ft; Approval Categories:Augmented Category 6 standards; cord color per TIA/EIA-606 standard RoHS Compliant: Yes
3.3V 2M x 64/72-Bit 1 BANK SDRAM Module 3.3V 4M x 64/72-Bit 2 BANK SDRAM Module 4M X 64 SYNCHRONOUS DRAM MODULE, 8 ns, DMA168
3.3V 2M x 64/72-Bit 1 BANK SDRAM Module 3.3V 4M x 64/72-Bit 2 BANK SDRAM Module 2M X 72 SYNCHRONOUS DRAM MODULE, 8 ns, DMA168
3.3V 2M x 64/72-Bit 1 BANK SDRAM Module 3.3V 4M x 64/72-Bit 2 BANK SDRAM Module 2M X 64 SYNCHRONOUS DRAM MODULE, 8 ns, DMA168
KPT 3C 3#20 SKT PLUG 3.3 2米x 64/72-Bit一银行内存模块3.3 4米64/72-Bit 2银行内存模块
3.3V 2M x 64/72-Bit 1 BANK SDRAM Module 3.3V 4M x 64/72-Bit 2 BANK SDRAM Module 4M X 72 SYNCHRONOUS DRAM MODULE, 6 ns, DMA168
3.3V 2M x 64/72-Bit 1 BANK SDRAM Module 3.3V 4M x 64/72-Bit 2 BANK SDRAM Module 2M X 64 SYNCHRONOUS DRAM MODULE, 6 ns, DMA168
3.3V 2M x 64/72-Bit 1 BANK SDRAM Module 3.3V 4M x 64/72-Bit 2 BANK SDRAM Module 4M X 64 SYNCHRONOUS DRAM MODULE, 6 ns, DMA168
3.3V 4M x 64/72-Bit 1 BANK SDRAM Module 3.3V 8M x 64/72-Bit 2 BANK SDRAM Module
Siemens Semiconductor G...
SIEMENS[Siemens Semiconductor Group]
Infineon
SIEMENS AG
SIEMENS A G
LH64256BK-60 CMOS 4-Bit DRAM
ETC
UPD424400LA-80L CMOS 4M-Bit DRAM
ETC
KM48C512 512K x 8-Bit CMOS DRAM
Samsung Electronics
 
 Related keyword From Full Text Search System
MSM514400ASJ-70 参数比较 MSM514400ASJ-70 philips MSM514400ASJ-70 gaas MSM514400ASJ-70 address MSM514400ASJ-70 schottky
MSM514400ASJ-70 Address MSM514400ASJ-70 image sensor MSM514400ASJ-70 filetype:pdf MSM514400ASJ-70 bus switch MSM514400ASJ-70 transceiver
 

 

Price & Availability of MSM514400ASJ-70

All Rights Reserved © IC-ON-LINE 2003 - 2022  

[Add Bookmark] [Contact Us] [Link exchange] [Privacy policy]
Mirror Sites :  [www.datasheet.hk]   [www.maxim4u.com]  [www.ic-on-line.cn] [www.ic-on-line.com] [www.ic-on-line.net] [www.alldatasheet.com.cn] [www.gdcy.com]  [www.gdcy.net]


 . . . . .
  We use cookies to deliver the best possible web experience and assist with our advertising efforts. By continuing to use this site, you consent to the use of cookies. For more information on cookies, please take a look at our Privacy Policy. X
0.94409704208374