Part Number Hot Search : 
CFWLA LM13400 CHIMB4PT 6021129 FRF1007G AC205 Z8400BD6 AON7458
Product Description
Full Text Search

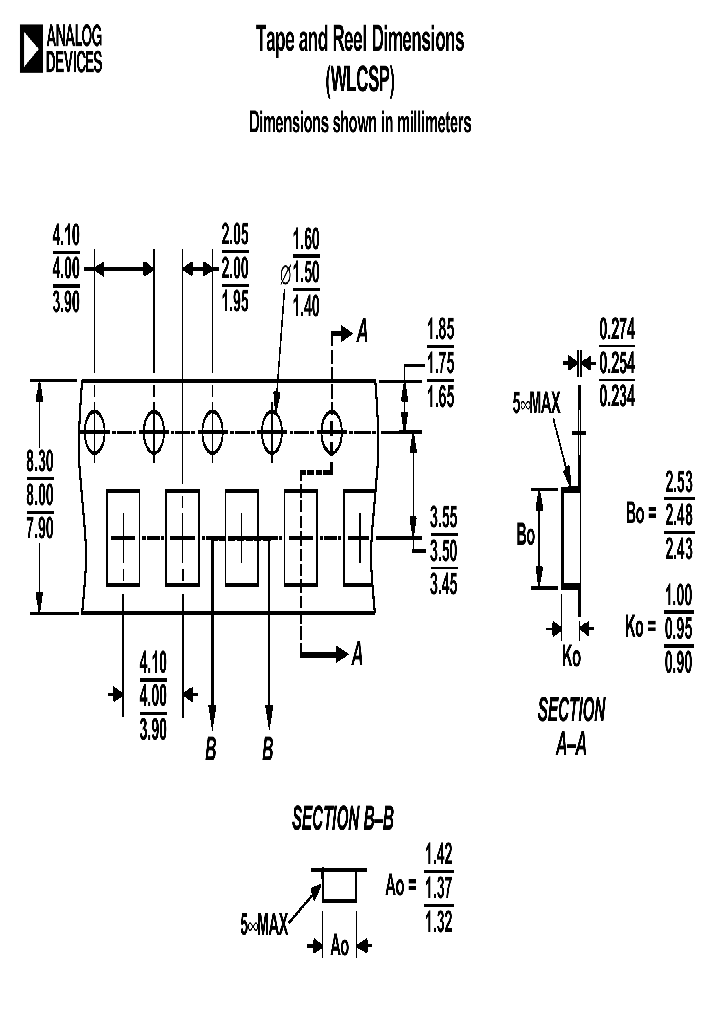
SSM2375CBZ - Dimensions shown in millimeters

SSM2375CBZ_8094591.PDF Datasheet

 
Part No. SSM2375CBZ
Description Dimensions shown in millimeters

File Size 22.24K  /  1 Page  

Maker


Analog Devices



JITONG TECHNOLOGY
(CHINA HK & SZ)
Datasheet.hk's Sponsor

Part: SSM2375CBZ-REEL
Maker: Analog Devices Inc
Pack: ETC
Stock: Reserved
Unit price for :
    50: $0.00
  100: $0.00
1000: $0.00

Email: oulindz@gmail.com

Contact us

Homepage http://www.analog.com/
Download [ ]
[ SSM2375CBZ Datasheet PDF Downlaod from Datasheet.HK ]
[SSM2375CBZ Datasheet PDF Downlaod from Maxim4U.com ] :-)


[ View it Online ]   [ Search more for SSM2375CBZ ]

[ Price & Availability of SSM2375CBZ by FindChips.com ]

 Full text search : Dimensions shown in millimeters
 Product Description search : Dimensions shown in millimeters


 Related Part Number
PART Description Maker
SSM2375CBZ Dimensions shown in millimeters
Analog Devices
ML-24-5 24-Lead Module with Connector Interface. Dimensions shown in millimeters.
Analog Devices
RM-8 8-Lead Mini Small Outline Package [MSOP] Dimensions shown in millimeters
Analog Devices
CB-9-1 9-Ball Wafer Level Chip Scale Package [WLCSP] Dimensions shown in millimeters
Analog Devices
52-PV6F240SSG341 HARDWARE SUPPLIED: O-RING AND HEXNUT (NOT SHOWN)
E-SWITCH
52-PV5H24018 HARDWARE INCLUDED, 1 O-RING & 1 HEX NUT.(NOT SHOWN)
E-SWITCH
52-PV0H24011311 52-PV0H24011311-18 HARDWARE INCLUDED: HEX NUT AND O-RING (NOT SHOWN)
E-SWITCH
JXWBHP-M1840C JXWBHP-M440 JXWBHP-M440C Broadband Millimeter Mixer 6 to 40GHz
American Accurate Components, Inc.
MWT-0618S-12P1 Microwave/Millimeter Wave Amplifier 微波/毫米波放大器
OSRAM GmbH
GN01039B Microwave/Millimeter Wave Amplifier 微波/毫米波放大器
Black Box, Corp.
ATC111 ATC Millimeter Wavelength Single Layer Capacitors
List of Unclassifed Manufacturers
ETC
 
 Related keyword From Full Text Search System
SSM2375CBZ Specification SSM2375CBZ volts SSM2375CBZ circuit SSM2375CBZ corporation SSM2375CBZ number
SSM2375CBZ frequency SSM2375CBZ upload SSM2375CBZ transistor SSM2375CBZ Precision SSM2375CBZ Interface
 

 

Price & Availability of SSM2375CBZ

All Rights Reserved © IC-ON-LINE 2003 - 2022  

[Add Bookmark] [Contact Us] [Link exchange] [Privacy policy]
Mirror Sites :  [www.datasheet.hk]   [www.maxim4u.com]  [www.ic-on-line.cn] [www.ic-on-line.com] [www.ic-on-line.net] [www.alldatasheet.com.cn] [www.gdcy.com]  [www.gdcy.net]


 . . . . .
  We use cookies to deliver the best possible web experience and assist with our advertising efforts. By continuing to use this site, you consent to the use of cookies. For more information on cookies, please take a look at our Privacy Policy. X
0.043470859527588