Part Number Hot Search : 
SR240PT CDLL5818 EL2160C TLVY4200 DA0786 WM2610 63A52 7A6XX
Product Description
Full Text Search

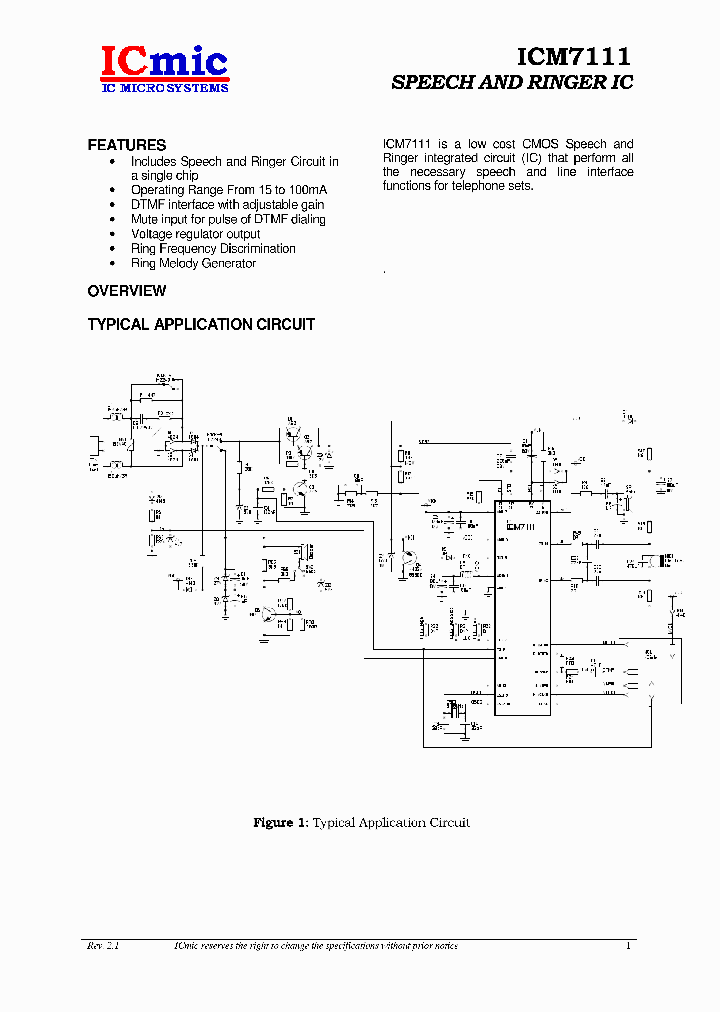
ICM7111 - SPEECH AND RINGER IC

ICM7111_7044737.PDF Datasheet


 Full text search : SPEECH AND RINGER IC
 Product Description search : SPEECH AND RINGER IC


 Related Part Number
PART Description Maker
UBA2050 (UBA2051) One-chip telephone ICs with speech / dialler and ringer functions
NXP
LS1241 Electronic Two - Tone Ringer 电子音铃
From old datasheet system
Electronic Two - Tone Ringer
STMicroelectronics N.V.
STMICROELECTRONICS[STMicroelectronics]
RSC-164 RSC164 General Purpose Microcontroller Featuring Speech Recognition, Speech & Music Synthesis, Speaker Verification and Audio Record/Playback
Electronic Theatre Controls, Inc.
AN6472NFBP Cordless Telephone Speech Network IC Incorporating Cross-Point Switch TELEPHONE SPEECH CKT, PQFP64
Panasonic, Corp.
Panasonic Corporation
Panasonic Semiconductor
SNC82060 SNC82085 SNC749 SNC729 SNC205 SNC739 SNR0 12-Channel MIDI/Speech Controller
16-bit Voice Processor
Direct Drive Speech Controller
32M-bit Mask ROM
SONIX[SONiX Technology Company]
PJ31002 Tone Ringer
Promax
KK2411D KK2411N Tone Ringer
Kodenshi
TS2411CDC3 TS24111 Tong Ringer
Taiwan Semiconductor Company, Ltd
Taiwan Semiconductor Co...
MC34017 Telephone Tone Ringer
Motorola
CEP-1141 piezo telephone ringer
CUI INC,
HA16805F Telephone Ringer 电话铃声
Advanced Interconnections, Corp.
 
 Related keyword From Full Text Search System
ICM7111 bookmark ICM7111 filetype:pdf ICM7111 capacitors ICM7111 transceiver ICM7111 filetype:pdf
ICM7111 connector ICM7111 DIFFERENTIAL CLOCK ICM7111 battery mcu ICM7111 poliester ICM7111 Specification
 

 

Price & Availability of ICM7111

All Rights Reserved © IC-ON-LINE 2003 - 2022  

[Add Bookmark] [Contact Us] [Link exchange] [Privacy policy]
Mirror Sites :  [www.datasheet.hk]   [www.maxim4u.com]  [www.ic-on-line.cn] [www.ic-on-line.com] [www.ic-on-line.net] [www.alldatasheet.com.cn] [www.gdcy.com]  [www.gdcy.net]


 . . . . .
  We use cookies to deliver the best possible web experience and assist with our advertising efforts. By continuing to use this site, you consent to the use of cookies. For more information on cookies, please take a look at our Privacy Policy. X
0.037410020828247