Part Number Hot Search : 
066BCF 3357D H1200 VAA23F1 ZIF600 ED14G 49102 P8P10
Product Description
Full Text Search

MT8812 - 8 x 12 Analog Switch Array with low on-resistance, for VDD = 4.5V to 14.5V

MT8812_5734976.PDF Datasheet

 
Part No. MT8812
Description 8 x 12 Analog Switch Array with low on-resistance, for VDD = 4.5V to 14.5V

File Size 523.52K  /  9 Page  

Maker

Zarlink Semiconductor



JITONG TECHNOLOGY
(CHINA HK & SZ)
Datasheet.hk's Sponsor

Part: MT8812
Maker: MT
Pack: PLCC44
Stock: 100
Unit price for :
    50: $1.23
  100: $1.17
1000: $1.10

Email: oulindz@gmail.com

Contact us

Homepage
Download [ ]
[ MT8812 Datasheet PDF Downlaod from Datasheet.HK ]
[MT8812 Datasheet PDF Downlaod from Maxim4U.com ] :-)


[ View it Online ]   [ Search more for MT8812 ]

[ Price & Availability of MT8812 by FindChips.com ]

 Full text search : 8 x 12 Analog Switch Array with low on-resistance, for VDD = 4.5V to 14.5V
 Product Description search : 8 x 12 Analog Switch Array with low on-resistance, for VDD = 4.5V to 14.5V


 Related Part Number
PART Description Maker
AD75019 AD75019JP AD75019JPZ 16 3 16 Crosspoint Switch Array
The AD75019 Contains 256 Analog Switches in a 16 x 16 Array
16 x 16 Crosspoint Switch Array
AD[Analog Devices]
Analog Devices, Inc.
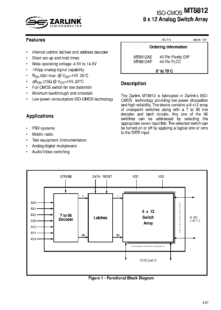
MT8812 MT8812AC MT8812AE MT8812AP ISO-CMOS 8 x 12 Analog Switch Array
Mitel Semiconductor
MITEL[Mitel Networks Corporation]
MT8808 MT8808AC MT8808AE MT8808AP ISO-CMOS 8 x 8 Analog Switch Array
Mitel Semiconductor
MITEL[Mitel Networks Corporation]
ADG2128 IC CMOS 8 x 12 Unbuffered Analog Switch Array
Analog Devices
MT8816 8 x 16 Analog Switch Array
From old datasheet system
Mitel
MT8815 MT8815AC MT8815AE MT8815AP ISO-CMOS 8 x 12 Analog Switch Array 标准- 8 × 12的CMOS模拟开关阵
Mitel Networks, Corp.
MITEL[Mitel Networks Corporation]
Mitel Semiconductor
MT8804A 8 x 4 Analog Switch Array with Low On-resistance, for (VDD - VEE) = 5 V to 15 V
Zarlink Semiconductor
MT8814 8 x 12 Analog Switch Array with Low On-resistance, for (VDD - VEE) =4.5 V to 13.2 V, with Chip Select
Zarlink Semiconductor
KTK5132 KTK5132E SMOS FET/ Analog Switch Application
N CHANNEL MOS FIELD EFFECT TRANSISTOR (ULTRA-HIGH SPEED SWITCHING/ ANALOG SWITCH)
Korea Electronics (KEC)
KEC(Korea Electronics)
MT8808AE MT8808AC MT8808AP    ISO-CMOS 8 x 8 Analog Switch Array
Mitel Networks Corporat...
MT8815 MT8815AE MT8815AP MT8815AC    ISO-CMOS 8 x 12 Analog Switch Array
Mitel Networks Corporat...
MT8814 MT8814AP MT8814AC    ISO-CMOS 8 x 12 Analog Switch Array
Mitel Networks Corporat...
 
 Related keyword From Full Text Search System
MT8812 interface MT8812 bit MT8812 samsung MT8812 npn transistor MT8812 Differential
MT8812 Technolog MT8812 mosfet MT8812 single cell MT8812 Ic-on-line MT8812 relay
 

 

Price & Availability of MT8812

All Rights Reserved © IC-ON-LINE 2003 - 2022  

[Add Bookmark] [Contact Us] [Link exchange] [Privacy policy]
Mirror Sites :  [www.datasheet.hk]   [www.maxim4u.com]  [www.ic-on-line.cn] [www.ic-on-line.com] [www.ic-on-line.net] [www.alldatasheet.com.cn] [www.gdcy.com]  [www.gdcy.net]


 . . . . .
  We use cookies to deliver the best possible web experience and assist with our advertising efforts. By continuing to use this site, you consent to the use of cookies. For more information on cookies, please take a look at our Privacy Policy. X
0.28971600532532