Part Number Hot Search : 
AD7533KR AQF120E RC2223 2SK2598 405C35BM DRDP006W 4HC57 87CL88
Product Description
Full Text Search

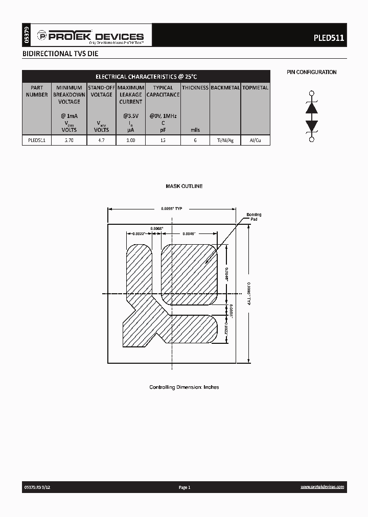
PLED511 - BIDIRECTIONAL TVS DIE

PLED511_4642197.PDF Datasheet


 Full text search : BIDIRECTIONAL TVS DIE
 Product Description search : BIDIRECTIONAL TVS DIE


 Related Part Number
PART Description Maker
SA12A-T SA20CA-T SA10CA-T SA15CA-T SA7V0CA TVS UNI-DIR 12V 500W DO-15 500 W, UNIDIRECTIONAL, SILICON, TVS DIODE, DO-15
TVS BI-DIR 20V 500W DO-15 500 W, BIDIRECTIONAL, SILICON, TVS DIODE, DO-15
TVS BI-DIR 10V 500W DO-15 500 W, BIDIRECTIONAL, SILICON, TVS DIODE, DO-15
TVS BI-DIR 15V 500W DO-15 500 W, BIDIRECTIONAL, SILICON, TVS DIODE, DO-15
   500W TRANSIENT VOLTAGE SUPPRESSOR
Diodes, Inc.
Diodes Incorporated
SA43A-TP SA6.0A-TP SA150CA-TP SA8.0A-TP SCA45CA SA 500WATTS TRANSIENT VOLTAGE SUPPRESSOR 5.0 TO 170 VOLTS
TVS 500W 20V BIDIRECT DO-15 500 W, BIDIRECTIONAL, SILICON, TVS DIODE, DO-15
TVS 500W 10V BIDIRECT DO-15 500 W, BIDIRECTIONAL, SILICON, TVS DIODE, DO-15
TVS 500W 20V UNIDIRECT DO-15 500 W, UNIDIRECTIONAL, SILICON, TVS DIODE, DO-15
TVS 500W 6.5V UNIDIRECT DO-15 500 W, UNIDIRECTIONAL, SILICON, TVS DIODE, DO-15
TVS 500W 5.0V UNIDIRECT DO-15 500 W, UNIDIRECTIONAL, SILICON, TVS DIODE, DO-15
TVS 500W 6.0V BIDIRECT DO-15
http://
Micro Commercial Components, Corp.
Micro Commercial Compon...
41206ESDA-TR1 41206ESDA-SP1 SUPPRESSOR ESD 12VDC 4/1206 SMD BIDIRECTIONAL, 4 ELEMENT, SILICON, TVS DIODE
BIDIRECTIONAL, 4 ELEMENT, SILICON, TVS DIODE ROHS COMPLIANT PACKAGE-8
Cooper Bussmann, Inc.
SMBJ78A-TP SMBJ78CA-TP SMBJ26CA-TP SMBJ170A-TP SMB TVS 600W 78V UNIDIRECT SMB 600 W, UNIDIRECTIONAL, SILICON, TVS DIODE, DO-214AA
TVS 600W 78V BIDIRECT SMB 600 W, BIDIRECTIONAL, SILICON, TVS DIODE, DO-214AA
TVS 600W 26V BIDIRECT SMB 600 W, BIDIRECTIONAL, SILICON, TVS DIODE, DO-214AA
TVS 600W 170V UNIDIRECT SMB 600 W, UNIDIRECTIONAL, SILICON, TVS DIODE, DO-214AA
TVS 600W 22V BIDIRECT SMB 600 W, BIDIRECTIONAL, SILICON, TVS DIODE, DO-214AA
TVS 600W 33V UNIDIRECT SMB 600 W, UNIDIRECTIONAL, SILICON, TVS DIODE, DO-214AA
TVS 600W 130V UNIDIRECT SMB 600 W, UNIDIRECTIONAL, SILICON, TVS DIODE, DO-214AA
TVS 600W 100V BIDIRECT SMB 600 W, BIDIRECTIONAL, SILICON, TVS DIODE, DO-214AA
Micro Commercial Components, Corp.
P6KE39A P6KE9.1CA P6KE51CA P6KE300A P6KE300CA P6KE 16-Bit Bus Transceivers and Registers with 3-State Outputs 56-SSOP -40 to 85 600 W, BIDIRECTIONAL, SILICON, TVS DIODE, DO-15
RF Down-Converter 20-QFN 600 W, BIDIRECTIONAL, SILICON, TVS DIODE, DO-15
Low Power 5V RS232 Dual Driver/Receiver with 0.1?μF Capacitors; Package: SO; No of Pins: 16; Temperature Range: -40?°C to 85?°C 600 W, UNIDIRECTIONAL, SILICON, TVS DIODE, DO-15
Presettable Synchronous 4-Bit Up/Down Binary Counters 16-SOIC -40 to 85 600 W, UNIDIRECTIONAL, SILICON, TVS DIODE, DO-15
2.5-V 460-Kbps RS-232 Transceiver With /-15-kV ESD Protection 20-TSSOP 0 to 70
600 Watt Transient Voltage Suppressors
Fairchild Semiconductor, Corp.
Fairchild Semiconductor Corporation
FAIRCHILD[Fairchild Semiconductor]
Microsemi
SM1615C-LF-T7 SM1603C-T7 STANDARD CAPACITANCE TVS ARRAY 500 W, BIDIRECTIONAL, 8 ELEMENT, SILICON, TVS DIODE
ProTek Devices
PRSB6.8CF-LF-T75 PRSB6.8CF-T75 STANDARD TVS COMPONENTS 10 W, BIDIRECTIONAL, SILICON, TVS DIODE
ProTek Devices
P6KE250-AP P6KE10A-AP P6KE10A-TP P6KE200A-AP P6KE2 600WATTS TRANSIENT VOLTAGE SUPPRESSOR 6.8 TO 540 VOLTS
TVS 600W 7.5V UNIDIRECT DO-15 600 W, UNIDIRECTIONAL, SILICON, TVS DIODE, DO-15
TVS 600W 68V BIDIRECT DO-15 600 W, BIDIRECTIONAL, SILICON, TVS DIODE, DO-15
TVS 600W 24V UNIDIRECT DO-15 600 W, UNIDIRECTIONAL, SILICON, TVS DIODE, DO-15
TVS 600W 10V UNIDIRECT DO-15 600 W, UNIDIRECTIONAL, SILICON, TVS DIODE, DO-15
TVS 600W 10V BIDIRECT DO-15
TVS 600W 150V BIDIRECT DO-15
TVS 600W 20V BIDIRECT DO-15
TVS 600W 51V BIDIRECT DO-15
Micro Commercial Compon...
http://
Micro Commercial Components, Corp.
Z2150U Z6120U Z2120 Z1033 Z1015 Z6047 Z6056 7280 W, UNIDIRECTIONAL, SILICON, TVS DIODE
7280 W, BIDIRECTIONAL, SILICON, TVS DIODE
18200 W, UNIDIRECTIONAL, SILICON, TVS DIODE
3030 W, BIDIRECTIONAL, SILICON, TVS DIODE
18200 W, BIDIRECTIONAL, SILICON, TVS DIODE

TGL41-6.807 TGL41-520 TGL41-68 TGL41-10 TGL41-100A 400 W, BIDIRECTIONAL, SILICON, TVS DIODE, DO-213AB
Surface mount unidirectional and bidirectional Transient Voltage Suppressor Diodes 400 W, UNIDIRECTIONAL, SILICON, TVS DIODE, DO-213AB
Diotec Semiconductor AG
CDSOT23-T24LC CDSOT23-T36LC CDSOT23-T08LC CDSOT23- CDSOT23-T03LC~T36LC - Low Capacitance TVS Diode Array Series 500 W, BIDIRECTIONAL, 2 ELEMENT, SILICON, TVS DIODE
Bourns Inc.
Bourns, Inc.
1.5SMC82CA 1.5SMC100 1.5SMC100C 1.5SMC36A 1.5SMC16 TVS: Bidirectional
TVS: Unidirectional
Taiwan Semiconductor
 
 Related keyword From Full Text Search System
PLED511 filetype:pdf PLED511 技术参数 PLED511 display PLED511 sanyo PLED511 regulator
PLED511 Vbe(on) PLED511 datasheet pdf PLED511 digital ic PLED511 gain PLED511 resistor
 

 

Price & Availability of PLED511

All Rights Reserved © IC-ON-LINE 2003 - 2022  

[Add Bookmark] [Contact Us] [Link exchange] [Privacy policy]
Mirror Sites :  [www.datasheet.hk]   [www.maxim4u.com]  [www.ic-on-line.cn] [www.ic-on-line.com] [www.ic-on-line.net] [www.alldatasheet.com.cn] [www.gdcy.com]  [www.gdcy.net]


 . . . . .
  We use cookies to deliver the best possible web experience and assist with our advertising efforts. By continuing to use this site, you consent to the use of cookies. For more information on cookies, please take a look at our Privacy Policy. X
0.25308704376221