Part Number Hot Search : 
IS42S 1736EPC 01LFT 3381P 2148C TDA7021 74HC13 ADV71
Product Description
Full Text Search

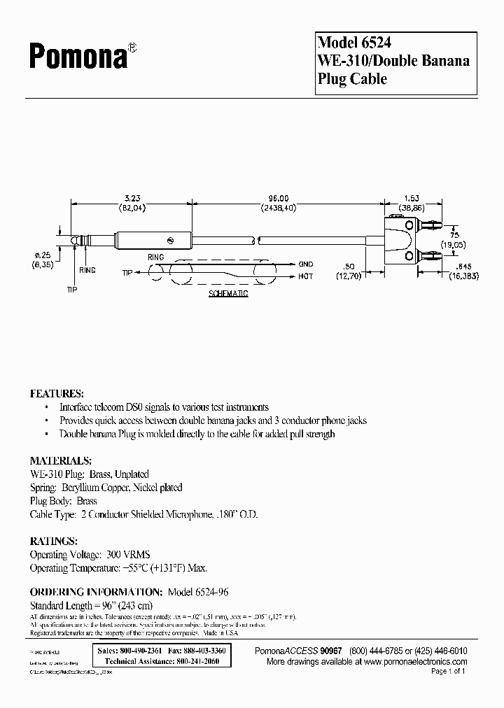
6524 - WE-310/Double Banana Plug Cable

6524_4084039.PDF Datasheet

 
Part No. 6524
Description WE-310/Double Banana Plug Cable

File Size 34.89K  /  1 Page  

Maker


Pomona Electronics



JITONG TECHNOLOGY
(CHINA HK & SZ)
Datasheet.hk's Sponsor

Part: 6520ACB
Maker: Intersil(英特矽尔)
Pack: SOP-8
Stock: 88
Unit price for :
    50: $0.84
  100: $0.80
1000: $0.76

Email: oulindz@gmail.com

Contact us

Homepage http://www.pomonaelectronics.com/
Download [ ]
[ 6524 Datasheet PDF Downlaod from Datasheet.HK ]
[6524 Datasheet PDF Downlaod from Maxim4U.com ] :-)


[ View it Online ]   [ Search more for 6524 ]

[ Price & Availability of 6524 by FindChips.com ]

 Full text search : WE-310/Double Banana Plug Cable
 Product Description search : WE-310/Double Banana Plug Cable


 Related Part Number
PART Description Maker
MODEL1442 Adapter, Phono Jack To Double Banana Plug
Pomona Electronics
1270 MODEL1270 BNC (Male) To Double Stacking Banana Plug
Pomona Electronics
2BA-AL-36 2BC-AL-36 2BA-AL-48 2BC-AL-60 Double Banana Plug to Alligator Clip Breakouts Cable Assembly
Pomona Electronics
http://
72917 72917-2 4mm Banana Plug to 2mm Sheathed Banana Jack Adapter
Banana adapter; Color:Black; Features:4mm banana plug to 2mm sheathed banana jack , black INTERCONNECTION DEVICE
Pomona Electronics
MODEL1468 Isolation Adapter BNC (F) To Double Banana Plug With Solder Turret Terminals
Pomona Electronics
2948-12-0 2484-0 2948-24-0 3014-24-0 3014-12-2 427 Connector Assembly; Connector Type A:Stackable Banana Plug; Connector Type B:Stackable Banana Plug; Cable Length:12"; Color:Black; Contact Material:Brass; Current Rating:15A RoHS Compliant: Yes INTERCONNECTION DEVICE
Retractile Cable Assembly; Connector Type A:Stackable Banana Plug; Connector Type B:Stackable Banana Plug; Cable Length:4ft RoHS Compliant: Yes INTERCONNECTION DEVICE
Connector assemblies, Test; Connector Type A:Banana Plug; Connector Type B:Banana; Cable Length:36"; Color:Black; Contact Material:Copper; Operating Temp. Max:55 C; Wire Size (AWG):12
Pomona Electronics
4702-36-0 4702-36-2 4702-24-0 4702-48-0 4702-24-2 Banana Plug To In-Line Banana Jack
Pomona Electronics
5291A-36-0 Test Cable Assembly; Connector Type A:Retractable Sheath Banana Plug; Connector Type B:Retractable Sheath Banana Plug; Cable Length:36"; Leaded Process Compatible:Yes; Peak Reflow Compatible (260 C):Yes RoHS Compliant: Yes INTERCONNECTION DEVICE
Pomona Electronics
3220-36-2 3220-36-0 3220-60-0 3220-24-0 AL-B-24-3 MINI CL/BANANA PLUG (RED) RoHS Compliant: Yes INTERCONNECTION DEVICE
Connector Assemblies, Test; Connector Type A:Banana Plug; Connector Type B:Minigator Clip; Cable Length:3ft RoHS Compliant: Yes INTERCONNECTION DEVICE
Pomona Electronics
5343-C-36 5343-C-60 Retractable Sheath Banana To BNC Male
Test Cable Assembly; Connector Type A:Banana Plugs (2); Connector Type B:BNC Male; Cable Length:36"; Color:Black; Features:1 Black and 1 Red Retractable Sheath Banana Plug; Leaded Process Compatible:Yes RoHS Compliant: Yes INTERCONNECTION DEVICE
Pomona Electronics
1269 MODEL1269 BNC (Female) To Double Stacking Banana Plugs
Pomona Electronics
 
 Related keyword From Full Text Search System
6524 ascel 6524 価格 6524 Regulator 6524 search 6524 rectifier
6524 international 6524 inductors 6524 ic资料查询 6524 data 6524 driver
 

 

Price & Availability of 6524

All Rights Reserved © IC-ON-LINE 2003 - 2022  

[Add Bookmark] [Contact Us] [Link exchange] [Privacy policy]
Mirror Sites :  [www.datasheet.hk]   [www.maxim4u.com]  [www.ic-on-line.cn] [www.ic-on-line.com] [www.ic-on-line.net] [www.alldatasheet.com.cn] [www.gdcy.com]  [www.gdcy.net]


 . . . . .
  We use cookies to deliver the best possible web experience and assist with our advertising efforts. By continuing to use this site, you consent to the use of cookies. For more information on cookies, please take a look at our Privacy Policy. X
0.093480825424194