Part Number Hot Search : 
S2HB20 24106 Z3SMB150 2SC2856 18B336 AN591 U10C60 GPZ20X
Product Description
Full Text Search

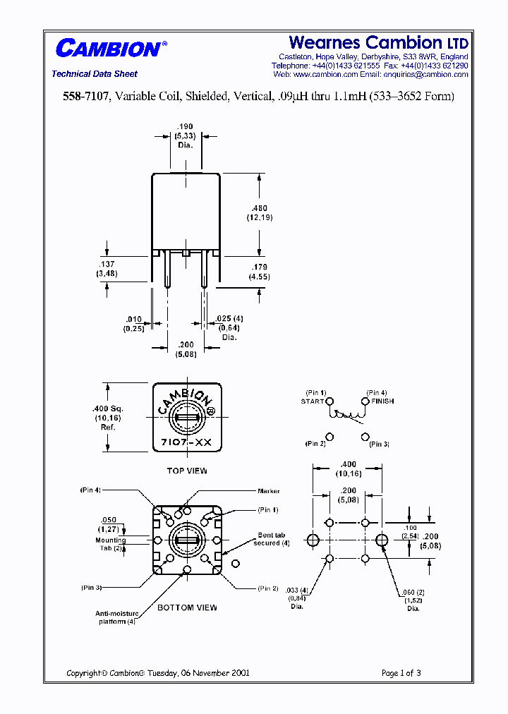
558-7107 - Variable Coil, Shielded, Vertical, .09μH thru 1.1mΗ SHIELDED, 0.297 uH - 0.363 uH, VARIABLE INDUCTOR

558-7107_3570097.PDF Datasheet


 Full text search : Variable Coil, Shielded, Vertical, .09μH thru 1.1mΗ SHIELDED, 0.297 uH - 0.363 uH, VARIABLE INDUCTOR
 Product Description search : Variable Coil, Shielded, Vertical, .09μH thru 1.1mΗ SHIELDED, 0.297 uH - 0.363 uH, VARIABLE INDUCTOR


 Related Part Number
PART Description Maker
9117 9104 Knobs & Dials ADJUSTABLE RF COIL SHIELDED, 3360 uH - 11120 uH, VARIABLE INDUCTOR
SHIELDED, 0.246 uH - 0.418 uH, VARIABLE INDUCTOR
Bourns, Inc.
BOURNS INC
142-06J08SL 144-06J12L 143-16J12SL 142-06J08L 143- RF inductor, tunable, Carbonyl J core, shielded, RoHS SHIELDED, 0.22 uH - 0.248 uH, VARIABLE INDUCTOR
RF inductor, tunable, Carbonyl J core, RoHS UNSHIELDED, 0.193 uH - 0.306 uH, VARIABLE INDUCTOR
RF inductor, tunable, Carbonyl J core, shielded, RoHS SHIELDED, 0.638 uH - 0.801 uH, VARIABLE INDUCTOR
RF inductor, tunable, Carbonyl J core, RoHS UNSHIELDED, 0.275 uH - 0.355 uH, VARIABLE INDUCTOR
RF inductor, tunable, Carbonyl J core, shielded, RoHS SHIELDED, 0.315 uH - 0.423 uH, VARIABLE INDUCTOR
RF inductor, tunable, Carbonyl J core, shielded, RoHS SHIELDED, 0.115 uH - 0.121 uH, VARIABLE INDUCTOR
RF inductor, tunable, Carbonyl J core, shielded, RoHS SHIELDED, 0.382 uH - 0.422 uH, VARIABLE INDUCTOR
RF inductor, tunable, Carbonyl J core, RoHS UNSHIELDED, 0.391 uH - 0.493 uH, VARIABLE INDUCTOR
RF inductor, tunable, Carbonyl J core, shielded, RoHS SHIELDED, 0.355 uH - 0.477 uH, VARIABLE INDUCTOR
RF inductor, tunable, Carbonyl J core, shielded, RoHS SHIELDED, 0.693 uH - 0.846 uH, VARIABLE INDUCTOR
Coilcraft, Inc.
COILCRAFT INC
NJM2137 NJM2137M NJM2137V COIL VAR H FREQ 1.5UH TYPE 7KMM 超宽带,SLUE率双路运算放大器
COIL VARIABLE .56UH TYPE 7KMM 超宽带,SLUE率双路运算放大器
COIL VARIABLE .68UH TYPE 7KMM
ULTRA WIDE BAND, HIGH SLUE RATE DUAL OPERATIONAL AMPLIFIER
New Japan Radio Co., Ltd.
NJRC[New Japan Radio]
KM51A1202N KM51A1202N-LFR KM51A1203N KM51A1203N-LF 5mm Adjustable shielded IFT Coil
http://
Frontier Electronics.
KM743N KM740N KM746N KM747N KM749N KM745N KM748N K 10mm Adjustable Shielded RF Coil (II).P/N KM739N to KM756N
Frontier Electronics.
4171-T036 SHIELDED, VARIABLE INDUCTOR
SUMIDA CORP
SUMIDACORP-S5-R39-NP S5-R15-NP SUMIDACORP-S5-R91-N SHIELDED, VARIABLE INDUCTOR
SUMIDA CORP
A119ANS-18976Z 119LC-470053N0 SHIELDED, VARIABLE INDUCTOR
TOKO INC
533-3652 Coil Form, Shielded, Vertical, .210 (5,33) Winding Diameter
CAMBION Electronic Components
R573002345 R573002340 R573502410 R574183980 R57308 RF COAXIAL RELAY, SP3T, MOMENTARY, 0.25A (COIL), 12VDC (COIL), 3000mW (COIL), 3000MHz, PANEL MOUNT
RF COAXIAL RELAY, SP4T, MOMENTARY, 0.25A (COIL), 12VDC (COIL), 3000mW (COIL), 3000MHz, PANEL MOUNT
RF COAXIAL RELAY, SP9T, LATCHED, 0.5A (COIL), 28VDC (COIL), 14000mW (COIL), 12400MHz, PANEL MOUNT
RF COAXIAL RELAY, SP12T, LATCHED, 1.28A (COIL), 12VDC (COIL), 15360mW (COIL), 3000MHz, PANEL MOUNT
RF COAXIAL RELAY, SP6T, LATCHED, 0.375A (COIL), 28VDC (COIL), 10500mW (COIL), 12400MHz, PANEL MOUNT
RF COAXIAL RELAY, SP11T, LATCHED, 1.375A (COIL), 28VDC (COIL), 38500mW (COIL), 3000MHz, PANEL MOUNT
RF COAXIAL RELAY, SP10T, LATCHED, 3.2A (COIL), 12VDC (COIL), 38400mW (COIL), 12400MHz, PANEL MOUNT
RF COAXIAL RELAY, SP12T, LATCHED, 1.5A (COIL), 28VDC (COIL), 42000mW (COIL), 12400MHz, PANEL MOUNT
RF COAXIAL RELAY, SP4T, MOMENTARY, 0.102A (COIL), 28VDC (COIL), 2856mW (COIL), 3000MHz, PANEL MOUNT
Radiall S.A.
RADIALL S A
SM-2-B-D-TL RF COAXIAL RELAY, SP6T, FAILSAFE, 0.19A (COIL), 28VDC (COIL), 5320mW (COIL), 1000MHz, PANEL MOUNT
RLC ELECTRONICS INC
 
 Related keyword From Full Text Search System
558-7107 components 558-7107 Technolog 558-7107 Fixed 558-7107 Battery MCU 558-7107 varactor
558-7107 21 ic on line 558-7107 Micropower 558-7107 data 558-7107 ic资料网 558-7107 watt
 

 

Price & Availability of 558-7107

All Rights Reserved © IC-ON-LINE 2003 - 2022  

[Add Bookmark] [Contact Us] [Link exchange] [Privacy policy]
Mirror Sites :  [www.datasheet.hk]   [www.maxim4u.com]  [www.ic-on-line.cn] [www.ic-on-line.com] [www.ic-on-line.net] [www.alldatasheet.com.cn] [www.gdcy.com]  [www.gdcy.net]


 . . . . .
  We use cookies to deliver the best possible web experience and assist with our advertising efforts. By continuing to use this site, you consent to the use of cookies. For more information on cookies, please take a look at our Privacy Policy. X
0.032627820968628