Part Number Hot Search : 
UCD1E15 O55CC R1003 SFH48 KRA740E 65023 HFA30 JANTX1
Product Description
Full Text Search

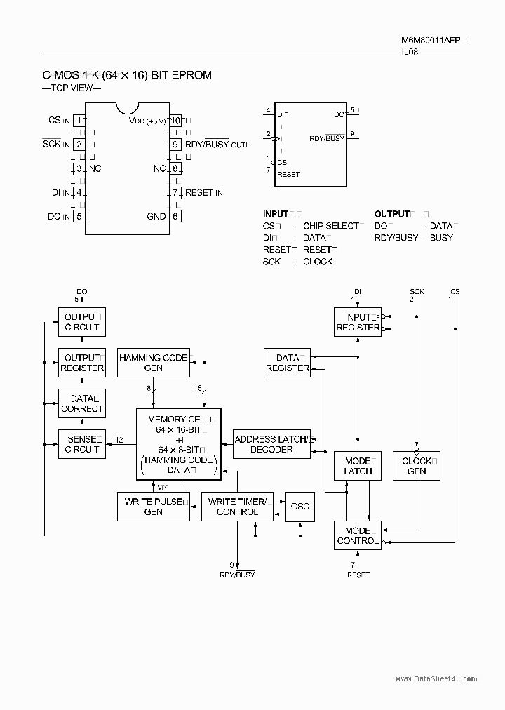
M6M80011AFP - CMOS 1K-Bit EPROM

M6M80011AFP_1996577.PDF Datasheet

 
Part No. M6M80011AFP
Description CMOS 1K-Bit EPROM

File Size 53.80K  /  1 Page  

Maker


ETC



JITONG TECHNOLOGY
(CHINA HK & SZ)
Datasheet.hk's Sponsor

Part: M6M80011AFP
Maker: MITSUBIS(三菱)
Pack: SOP-10
Stock: 2445
Unit price for :
    50: $1.57
  100: $1.49
1000: $1.41

Email: oulindz@gmail.com

Contact us

Homepage
Download [ ]
[ M6M80011AFP Datasheet PDF Downlaod from Datasheet.HK ]
[M6M80011AFP Datasheet PDF Downlaod from Maxim4U.com ] :-)


[ View it Online ]   [ Search more for M6M80011AFP ]

[ Price & Availability of M6M80011AFP by FindChips.com ]

 Full text search : CMOS 1K-Bit EPROM
 Product Description search : CMOS 1K-Bit EPROM


 Related Part Number
PART Description Maker
MX27C8000A MX27C8000AMC-10 MX27C8000AMC-12 MX27C80 8M-BIT [1M x8] CMOS EPROM 1M X 8 OTPROM, 90 ns, PQCC32
JT 21C 21#16 SKT RECP 1M X 8 OTPROM, 90 ns, PDSO32
Single Output LDO, 100mA, Fixed(3.0V), Low Quiescent Current, Thermal Protection 5-SOT-23 1M X 8 OTPROM, 120 ns, PDSO32
8M-BIT [1M x8] CMOS EPROM 1M X 8 OTPROM, 120 ns, PQCC32
8M-BIT [1M x8] CMOS EPROM 1M X 8 OTPROM, 100 ns, PQCC32
8M-BIT [1M x8] CMOS EPROM 1M X 8 OTPROM, 90 ns, PDIP32
Macronix International Co., Ltd.
MCNIX[Macronix International]
CY27C128-120WMB CY27C128-150JC CY27C128-150WC CY27    128K (16K x 8-Bit) CMOS EPROM
128K (16K x 8-Bit) CMOS EPROM 16K X 8 OTPROM, 120 ns, PDIP28
128K (16K x 8-Bit) CMOS EPROM 16K X 8 OTPROM, 120 ns, PQCC32
128K (16K x 8-Bit) CMOS EPROM 16K X 8 OTPROM, 45 ns, PDIP28
128K (16K x 8-Bit) CMOS EPROM 16K X 8 OTPROM, 150 ns, PDIP28
128K (16K x 8-Bit) CMOS EPROM 16K X 8 UVPROM, 200 ns, CDIP28
Cypress Semiconductor Corp.
Cypress Semiconductor, Corp.
C167CR-16F SAFC167CR-16F SAF-C167CR-16F 16-Bit CMOS Single-Chip Microcontroller with 128KByte Flash EPROM 16位CMOS单芯片微控制器,带有128K字节的Flash EPROM
Siemens Semiconductor Group
SIEMENS AG
AM27C1024 AM27C1024-120DC5 AM27C1024-120DC5B AM27C Quad 2-input exclusive-NOR gates with open collector outputs 14-SOIC 0 to 70
Quad 2-input exclusive-NOR gates with open collector outputs 14-PDIP 0 to 70
1 Megabit (65 K x 16-Bit) CMOS EPROM 1兆位5亩16位)的CMOS存储
1 Megabit (65 K x 16-Bit) CMOS EPROM 64K X 16 UVPROM, 55 ns, CDIP40
Quadruple 2-Line To 1-Line Data Selectors/Multiplexers With 3-State Outputs 16-SO 0 to 70 1兆位5亩16位)的CMOS存储
1 Megabit (65 K x 16-Bit) CMOS EPROM 1兆位65亩16位)的CMOS存储
64K X 16 UVPROM, 70 ns, CDIP40
1 megabit CMOS EPROM
AMD[Advanced Micro Devices]
Advanced Micro Devices, Inc.
ADVANCED MICRO DEVICES INC
SPANSION LLC
NM27C240 NM27C240QE120 4 Meg (256K x 16) High Performance CMOS EPROM [Life-time buy]
4,194,304-Bit (256k x 16) High Performance CMOS EPROM
4 /194 /304-Bit (256k x 16) High Performance CMOS EPROM
4,194,304位(256k × 16)高性能的CMOS存储
FAIRCHILD[Fairchild Semiconductor]
AM27C020 AM27C020-120 AM27C020-120DC5 AM27C020-120    2 Megabit (256 K x 8-Bit) CMOS EPROM
Octal bus transceivers 20-SSOP 0 to 70
Octal Buffers And Line Drivers With 3-State Outputs 20-SO 0 to 70 2兆位56亩8位)的CMOS存储
2 Megabit (256 K x 8-Bit) CMOS EPROM 256K X 8 UVPROM, 55 ns, CDIP32
Octal Buffers And Line Drivers With 3-State Outputs 20-SOIC 0 to 70 2兆位56亩8位)的CMOS存储
Octal bus transceivers 20-SOIC 0 to 70 256K X 8 OTPROM, 55 ns, PQCC32
2 Megabit (256 K x 8-Bit) CMOS EPROM 2兆位256亩8位)的CMOS存储
BCD-To-Seven-Segment Decoders/Drivers 16-SOIC 0 to 70 2兆位256亩8位)的CMOS存储
2 Megabit (256 K x 8-Bit) CMOS EPROM 2兆位56亩8位)的CMOS存储
Octal Buffers And Line Drivers With 3-State Outputs 20-PDIP 0 to 70
Octal Buffers And Line Drivers With 3-State Outputs 20-SSOP 0 to 70
RES 1.5K-OHM 1% 0.125W 100PPM THK-FILM SMD-0805 TR-7-PA
2 megabit CMOS EPROM
ADVANCED MICRO DEVICES INC
Advanced Micro Devices, Inc.
AMD [Advanced Micro Devices]
AMD[Advanced Micro Devices]
MX27L2000T2I-25 MX27L2000T2I-20 MX27L2000T3I-15 MX XO 33.3333MHZ 50PPM 3.3V SMD-7050 TR-7-PL
CAP 10UF 25V 10% TANT RAD.10 TR-14
LT Series Water Resistant Linear Position Transducer, 50,8 mm [2.0 in] Electrical Travel, 1.0 % Linearity, Cable Termination, Item Number F58000202
null2M-BIT [256Kx8] CMOS EPROM 256K X 8 OTPROM, 120 ns, PDSO32
OSCILLATOR 24.576MHZ SMD 256K X 8 OTPROM, 150 ns, PDSO32
null2M-BIT [256Kx8] CMOS EPROM 256K X 8 OTPROM, 200 ns, PDSO32
Macronix International Co., Ltd.
HN27C4096ACC CMOS 4M-Bit UV EPROM
ETC
M6M80011AFP CMOS 1K-Bit EPROM
ETC
HN27C1024HCP-10 CMOS 1M-Bit EPROM
ETC
MX27C8000 MX27C8000MC-10 MX27C8000MC-12 MX27C8000M 8M-BIT [1M x8] CMOS EPROM
Macronix International Co., Ltd.
27C512A 27C512A-12EVS 11173E 27C512A-12ISO 27C512A 512K (64K x 8) CMOS EPROM 12k4K的8)的CMOS存储
From old datasheet system
512K (64Kx8) CMOS EPROM
Microchip Technology, Inc.
Microchip Technology Inc.
MICROCHIP[Microchip Technology]
 
 Related keyword From Full Text Search System
M6M80011AFP configuration M6M80011AFP Series M6M80011AFP ocr M6M80011AFP voltage M6M80011AFP lamp
M6M80011AFP digital ic M6M80011AFP marking code M6M80011AFP GaAs Hall Device M6M80011AFP Control M6M80011AFP mosfet
 

 

Price & Availability of M6M80011AFP

All Rights Reserved © IC-ON-LINE 2003 - 2022  

[Add Bookmark] [Contact Us] [Link exchange] [Privacy policy]
Mirror Sites :  [www.datasheet.hk]   [www.maxim4u.com]  [www.ic-on-line.cn] [www.ic-on-line.com] [www.ic-on-line.net] [www.alldatasheet.com.cn] [www.gdcy.com]  [www.gdcy.net]


 . . . . .
  We use cookies to deliver the best possible web experience and assist with our advertising efforts. By continuing to use this site, you consent to the use of cookies. For more information on cookies, please take a look at our Privacy Policy. X
0.53128600120544