Part Number Hot Search : 
HD6321 E003109 13K5K UNRF1A1 44067 E001459 C4010 2DD2679
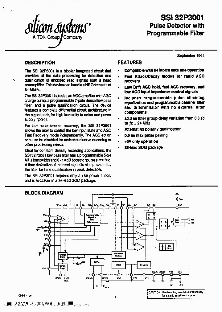
Product Description
Full Text Search

SSI32P3001-CM - Disk Read Data Processor

SSI32P3001-CM_1673137.PDF Datasheet


 Full text search : Disk Read Data Processor
 Product Description search : Disk Read Data Processor


 Related Part Number
PART Description Maker
SSI32P3040-CM SSI32P3040-CGT Disk Read Data Processor 磁盘读取数据处理
Electronic Theatre Controls, Inc.
TDA5153AG TDA5153BG TDA5153X Pre-amplifier for Hard Disk Drive HDD with MR-read/inductive write heads 预硬盘驱动器硬盘驱动器放大器MR-read/inductive写磁
NXP Semiconductors N.V.
CS-514-4DW24 CS-514-2DW18 CS-514-6DW28 CS-514-6FN2 4-Channel Disk/Tape Read/Write Circuit
6通道写电
4通道的磁磁带写电
2-Channel Disk Read/Write Circuit 2通道磁盘写电
6-Channel Read/Write Circuit
Glenair, Inc.
SSI34R575-2CP SSI34R575-4CP 2-Channel Disk Read/Write Circuit
4-Channel Disk/Tape Read/Write Circuit 4通道的磁磁带写电
Microchip Technology, Inc.
TDA5360UK TDA5360UH Pre-Amplifier for Hard Disk Drive with MR-Read / Inductive Write Heads 12 CHANNEL READ WRITE AMPLIFIER CIRCUIT, UUC75
NXP Semiconductors N.V.
CXA3541N 2-channel Read/Write Amplifier for GMR-Ind Head Hard Disk Drive
2-Channel Read/Write Amplifier for GMR(Giant Magneto Resistive-Inductive)-Ind Head Hard Disk Drive(双通道写放大器(用于硬盘驱动器中大型磁发电机感抗磁头))
http://
Sony Corporation
BH6627FS Magnetic Disk LSIs > FDD read/write amplifier
Read /Write amplifier for FDD
Read / Write Amplifier for FDD(FDD的读/写放大器)
ROHM[Rohm]
Rohm CO.,LTD.
HA166132 HA166134 Read / Write Amplifier for Hard Disk Drive
Renesas Technology
SSI32R2021R-4CL SSI32R2021R-4CV 4-Channel Disk/Tape Read/Write Circuit 4通道的磁磁带写电
Bourns, Inc.
Molex, Inc.
VM7004VSL 4-Channel Disk/Tape Read/Write Circuit 4通道的磁磁带写电
飞思卡尔半导体(中国)有限公司
CXA1362Q READ/WRITE AMPLIFIER FOR FLOPPY DISK DRIVE WITH BUILT-IN FILTER
Sony Corporation
TDA5360 TDA5360UH TDA5360UK Pre-Amplifier for Hard Disk Drive with MR-Read / Inductive Write Heads
Philips Semiconductors
 
 Related keyword From Full Text Search System
SSI32P3001-CM power SSI32P3001-CM coilcraft SSI32P3001-CM ic资料查询 SSI32P3001-CM Integrate SSI32P3001-CM Protect
SSI32P3001-CM Lead forming SSI32P3001-CM max SSI32P3001-CM Circuit SSI32P3001-CM speech voice SSI32P3001-CM 替换的
 

 

Price & Availability of SSI32P3001-CM

All Rights Reserved © IC-ON-LINE 2003 - 2022  

[Add Bookmark] [Contact Us] [Link exchange] [Privacy policy]
Mirror Sites :  [www.datasheet.hk]   [www.maxim4u.com]  [www.ic-on-line.cn] [www.ic-on-line.com] [www.ic-on-line.net] [www.alldatasheet.com.cn] [www.gdcy.com]  [www.gdcy.net]


 . . . . .
  We use cookies to deliver the best possible web experience and assist with our advertising efforts. By continuing to use this site, you consent to the use of cookies. For more information on cookies, please take a look at our Privacy Policy. X
0.27769303321838