Part Number Hot Search : 
HT66F25D MLL5272 TA0872A A225M 100N1 S30D30PT BYD17JA PST3735
Product Description
Full Text Search

IR3702N - General Purpose Quad Operational Amplifier

IR3702N_1841429.PDF Datasheet

 
Part No. IR3702N
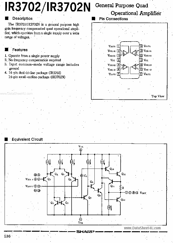
Description General Purpose Quad Operational Amplifier

File Size 152.66K  /  3 Page  

Maker

Sharp



JITONG TECHNOLOGY
(CHINA HK & SZ)
Datasheet.hk's Sponsor

Part: IR3702N
Maker: IR
Pack: SOP16
Stock: 402
Unit price for :
    50: $1.29
  100: $1.23
1000: $1.16

Email: oulindz@gmail.com

Contact us

Homepage
Download [ ]
[ IR3702N Datasheet PDF Downlaod from Datasheet.HK ]
[IR3702N Datasheet PDF Downlaod from Maxim4U.com ] :-)


[ View it Online ]   [ Search more for IR3702N ]

[ Price & Availability of IR3702N by FindChips.com ]

 Full text search : General Purpose Quad Operational Amplifier
 Product Description search : General Purpose Quad Operational Amplifier


 Related Part Number
PART Description Maker
OA100FL16 OA100FL18 OA100NL15 OA100NL19 CA25FL20 C 1 ELEMENT, 18000 uH, GENERAL PURPOSE INDUCTOR
1 ELEMENT, 46000 uH, GENERAL PURPOSE INDUCTOR
1 ELEMENT, 16000 uH, GENERAL PURPOSE INDUCTOR
1 ELEMENT, 100000 uH, GENERAL PURPOSE INDUCTOR
1 ELEMENT, 830 uH, GENERAL PURPOSE INDUCTOR
1 ELEMENT, 130000 uH, GENERAL PURPOSE INDUCTOR
1 ELEMENT, 7300 uH, GENERAL PURPOSE INDUCTOR
1 ELEMENT, 7400000 uH, GENERAL PURPOSE INDUCTOR
1 ELEMENT, 180000 uH, GENERAL PURPOSE INDUCTOR
1 ELEMENT, 30000000 uH, GENERAL PURPOSE INDUCTOR
1 ELEMENT, 40000 uH, GENERAL PURPOSE INDUCTOR
1 ELEMENT, 8000000 uH, GENERAL PURPOSE INDUCTOR
1 ELEMENT, 280000 uH, GENERAL PURPOSE INDUCTOR
1 ELEMENT, 31000 uH, GENERAL PURPOSE INDUCTOR
1 ELEMENT, 260000 uH, GENERAL PURPOSE INDUCTOR
1 ELEMENT, 11000 uH, GENERAL PURPOSE INDUCTOR
1 ELEMENT, 830000 uH, GENERAL PURPOSE INDUCTOR
1 ELEMENT, 5300 uH, GENERAL PURPOSE INDUCTOR
1 ELEMENT, 2300000 uH, GENERAL PURPOSE INDUCTOR
1 ELEMENT, 15000000 uH, GENERAL PURPOSE INDUCTOR
1 ELEMENT, 1100000 uH, GENERAL PURPOSE INDUCTOR
1 ELEMENT, 3200000 uH, GENERAL PURPOSE INDUCTOR
1 ELEMENT, 27000000 uH, GENERAL PURPOSE INDUCTOR
1 ELEMENT, 35000 uH, GENERAL PURPOSE INDUCTOR
1 ELEMENT, 7700 uH, GENERAL PURPOSE INDUCTOR
1 ELEMENT, 6300000 uH, GENERAL PURPOSE INDUCTOR
1 ELEMENT, 2500 uH, GENERAL PURPOSE INDUCTOR
1 ELEMENT, 11000000 uH, GENERAL PURPOSE INDUCTOR
1 ELEMENT, 2600000 uH, GENERAL PURPOSE INDUCTOR
1 ELEMENT, 4200000 uH, GENERAL PURPOSE INDUCTOR

U07-17 U07-24 U07-38 U07-19 PSC10-19 PSC10-D-11 PS 1 ELEMENT, 175000 uH, POWDERED IRON-CORE, GENERAL PURPOSE INDUCTOR
1 ELEMENT, 600000 uH, POWDERED IRON-CORE, GENERAL PURPOSE INDUCTOR
1 ELEMENT, 10000 uH, POWDERED IRON-CORE, GENERAL PURPOSE INDUCTOR
1 ELEMENT, 7200000 uH, POWDERED IRON-CORE, GENERAL PURPOSE INDUCTOR
1 ELEMENT, 240000 uH, POWDERED IRON-CORE, GENERAL PURPOSE INDUCTOR
1 ELEMENT, 120000 uH, POWDERED IRON-CORE, GENERAL PURPOSE INDUCTOR
1 ELEMENT, 430000 uH, POWDERED IRON-CORE, GENERAL PURPOSE INDUCTOR
1 ELEMENT, 50000 uH, POWDERED IRON-CORE, GENERAL PURPOSE INDUCTOR
1 ELEMENT, 5000 uH, POWDERED IRON-CORE, GENERAL PURPOSE INDUCTOR
1 ELEMENT, 5000000 uH, POWDERED IRON-CORE, GENERAL PURPOSE INDUCTOR
1 ELEMENT, 72000 uH, POWDERED IRON-CORE, GENERAL PURPOSE INDUCTOR
1 ELEMENT, 1500000 uH, POWDERED IRON-CORE, GENERAL PURPOSE INDUCTOR
1 ELEMENT, 7200 uH, POWDERED IRON-CORE, GENERAL PURPOSE INDUCTOR
1 ELEMENT, 36000 uH, POWDERED IRON-CORE, GENERAL PURPOSE INDUCTOR
1 ELEMENT, 1200000 uH, POWDERED IRON-CORE, GENERAL PURPOSE INDUCTOR
1 ELEMENT, 6000000 uH, POWDERED IRON-CORE, GENERAL PURPOSE INDUCTOR
1 ELEMENT, 1000000 uH, POWDERED IRON-CORE, GENERAL PURPOSE INDUCTOR
1 ELEMENT, 17500 uH, POWDERED IRON-CORE, GENERAL PURPOSE INDUCTOR
1 ELEMENT, 360000 uH, POWDERED IRON-CORE, GENERAL PURPOSE INDUCTOR
1 ELEMENT, 86000 uH, POWDERED IRON-CORE, GENERAL PURPOSE INDUCTOR

AL0410S470M-S-A AL0204AT3R3J-S-B AL0410S470M-S-B-N 1 ELEMENT, 47 uH, GENERAL PURPOSE INDUCTOR
1 ELEMENT, 3.3 uH, GENERAL PURPOSE INDUCTOR
1 ELEMENT, 33 uH, GENERAL PURPOSE INDUCTOR
1 ELEMENT, 330 uH, GENERAL PURPOSE INDUCTOR
1 ELEMENT, 1.5 uH, GENERAL PURPOSE INDUCTOR
1 ELEMENT, 390 uH, GENERAL PURPOSE INDUCTOR
1 ELEMENT, 22 uH, GENERAL PURPOSE INDUCTOR
1 ELEMENT, 1000 uH, GENERAL PURPOSE INDUCTOR
1 ELEMENT, 82 uH, GENERAL PURPOSE INDUCTOR
1 ELEMENT, 470 uH, GENERAL PURPOSE INDUCTOR
1 ELEMENT, 18 uH, GENERAL PURPOSE INDUCTOR
1 ELEMENT, 10 uH, GENERAL PURPOSE INDUCTOR
1 ELEMENT, 0.47 uH, GENERAL PURPOSE INDUCTOR
1 ELEMENT, 220 uH, GENERAL PURPOSE INDUCTOR
1 ELEMENT, 8.2 uH, GENERAL PURPOSE INDUCTOR
1 ELEMENT, 680 uH, GENERAL PURPOSE INDUCTOR
1 ELEMENT, 560 uH, GENERAL PURPOSE INDUCTOR
YAGEO CORP
EC30AL42464 EC30AL301.87 EC30AL301.82 EC30AL3518.2 1 ELEMENT, 464000 uH, GENERAL PURPOSE INDUCTOR
1 ELEMENT, 1870 uH, GENERAL PURPOSE INDUCTOR
1 ELEMENT, 1820 uH, GENERAL PURPOSE INDUCTOR
1 ELEMENT, 18200 uH, GENERAL PURPOSE INDUCTOR
1 ELEMENT, 20000 uH, GENERAL PURPOSE INDUCTOR
1 ELEMENT, 22600 uH, GENERAL PURPOSE INDUCTOR
1 ELEMENT, 26100 uH, GENERAL PURPOSE INDUCTOR
1 ELEMENT, 4020 uH, GENERAL PURPOSE INDUCTOR
1 ELEMENT, 4420 uH, GENERAL PURPOSE INDUCTOR

9250A-184-RC 9250A-107-RC 9250A-331-RC 9250A-333-R CHOKE RF MOLDED 180UH FERRITE 1 ELEMENT, 180 uH, FERRITE-CORE, GENERAL PURPOSE INDUCTOR
CHOKE RF MOLDED 100000UH FERRITE 1 ELEMENT, 100000 uH, FERRITE-CORE, GENERAL PURPOSE INDUCTOR
CHOKE RF MOLDED .33UH PHENOLIC 1 ELEMENT, 0.33 uH, FERRITE-CORE, GENERAL PURPOSE INDUCTOR
CHOKE RF MOLDED 33UH FERRITE 1 ELEMENT, 33 uH, FERRITE-CORE, GENERAL PURPOSE INDUCTOR
CHOKE RF MOLDED 1.5UH IRON 1 ELEMENT, 1.5 uH, FERRITE-CORE, GENERAL PURPOSE INDUCTOR
Choke, Axial Molded 1 ELEMENT, 39000 uH, FERRITE-CORE, GENERAL PURPOSE INDUCTOR
Choke, Axial Molded 1 ELEMENT, 0.68 uH, FERRITE-CORE, GENERAL PURPOSE INDUCTOR
CHOKE RF MOLDED 3300UH FERRITE 1 ELEMENT, 3300 uH, FERRITE-CORE, GENERAL PURPOSE INDUCTOR
Choke, Axial Molded 1 ELEMENT, 470 uH, FERRITE-CORE, GENERAL PURPOSE INDUCTOR
CHOKE RF MOLDED 150UH FERRITE 1 ELEMENT, 150 uH, FERRITE-CORE, GENERAL PURPOSE INDUCTOR
CHOKE RF MOLDED 8200UH FERRITE 1 ELEMENT, 8200 uH, FERRITE-CORE, GENERAL PURPOSE INDUCTOR
CHOKE RF MOLDED 6800UH FERRITE 1 ELEMENT, 6800 uH, FERRITE-CORE, GENERAL PURPOSE INDUCTOR
CHOKE RF MOLDED 82UH FERRITE 1 ELEMENT, 82 uH, FERRITE-CORE, GENERAL PURPOSE INDUCTOR
CHOKE RF MOLDED 22000UH FERRITE 1 ELEMENT, 22000 uH, FERRITE-CORE, GENERAL PURPOSE INDUCTOR
CHOKE RF MOLDED .15UH PHENOLLIC 1 ELEMENT, 0.15 uH, FERRITE-CORE, GENERAL PURPOSE INDUCTOR
1 ELEMENT, 390 uH, FERRITE-CORE, GENERAL PURPOSE INDUCTOR
1 ELEMENT, 0.47 uH, FERRITE-CORE, GENERAL PURPOSE INDUCTOR
CHOKE RF MOLDED 33000UH FERRITE
CHOKE RF MOLDED 1000UH FERRITE
Bourns, Inc.
BOURNS INC
M21-1 M21-23 M21-18 M21-40 PF48-19 PF48-15 PF48-22 1 ELEMENT, 10000 uH, POWDERED IRON-CORE, GENERAL PURPOSE INDUCTOR
1 ELEMENT, 500000 uH, POWDERED IRON-CORE, GENERAL PURPOSE INDUCTOR
1 ELEMENT, 12000 uH, POWDERED IRON-CORE, GENERAL PURPOSE INDUCTOR
1 ELEMENT, 200000 uH, POWDERED IRON-CORE, GENERAL PURPOSE INDUCTOR
1 ELEMENT, 10000000 uH, POWDERED IRON-CORE, GENERAL PURPOSE INDUCTOR
1 ELEMENT, 50000 uH, POWDERED IRON-CORE, GENERAL PURPOSE INDUCTOR
1 ELEMENT, 2000 uH, POWDERED IRON-CORE, GENERAL PURPOSE INDUCTOR
1 ELEMENT, 24000 uH, POWDERED IRON-CORE, GENERAL PURPOSE INDUCTOR
1 ELEMENT, 86000 uH, POWDERED IRON-CORE, GENERAL PURPOSE INDUCTOR
1 ELEMENT, 17500 uH, POWDERED IRON-CORE, GENERAL PURPOSE INDUCTOR
1 ELEMENT, 240 uH, POWDERED IRON-CORE, GENERAL PURPOSE INDUCTOR
1 ELEMENT, 3000 uH, POWDERED IRON-CORE, GENERAL PURPOSE INDUCTOR
1 ELEMENT, 6000 uH, POWDERED IRON-CORE, GENERAL PURPOSE INDUCTOR
1 ELEMENT, 400 uH, POWDERED IRON-CORE, GENERAL PURPOSE INDUCTOR

CTCH895F CTCH895F-100M CTCH895F-101K CTCH895F-102K Peaking Coils - Radial
1 ELEMENT, 470 uH, GENERAL PURPOSE INDUCTOR
1 ELEMENT, 4700 uH, GENERAL PURPOSE INDUCTOR
1 ELEMENT, 1200 uH, GENERAL PURPOSE INDUCTOR
1 ELEMENT, 15000 uH, GENERAL PURPOSE INDUCTOR
1 ELEMENT, 3300 uH, GENERAL PURPOSE INDUCTOR
1 ELEMENT, 68 uH, GENERAL PURPOSE INDUCTOR
Central Technologies
LMV324 LMV324AM14X LMV324AMTC14X LMV358 LMV358AM8X General Purpose, Low Voltage, Rail-to-Rail Output Amplifiers
Quad, General Purpose, Low Cost, RRO Amplifier
Dual, General Purpose, Low Cost, RRO Amplifier
Fairchild Semiconductor
DQ1260 DQ1280 DQ7545 DQ6530 DQ6545 DQ7534 DQ1280-1    SMD Shielded Base Plate Power Inductor Series; Part Numbering Sequence
1 ELEMENT, 270 uH, GENERAL PURPOSE INDUCTOR, SMD
1 ELEMENT, 390 uH, GENERAL PURPOSE INDUCTOR, SMD
1 ELEMENT, 1 uH, GENERAL PURPOSE INDUCTOR, SMD
1 ELEMENT, 180 uH, GENERAL PURPOSE INDUCTOR, SMD
1 ELEMENT, 10 uH, GENERAL PURPOSE INDUCTOR, SMD
1 ELEMENT, 330 uH, GENERAL PURPOSE INDUCTOR, SMD
1 ELEMENT, 150 uH, GENERAL PURPOSE INDUCTOR, SMD
MACOM[Tyco Electronics]
N.A.
List of Unclassifed Man...
RCP1317NP-181L RCP1317NP-272L RCP1317NP-330M RCP13 RCP1317 1 ELEMENT, 82 uH, GENERAL PURPOSE INDUCTOR
RCP1317 1 ELEMENT, 470 uH, GENERAL PURPOSE INDUCTOR
RCP1317 1 ELEMENT, 4700 uH, GENERAL PURPOSE INDUCTOR
RCP1317 1 ELEMENT, 330 uH, GENERAL PURPOSE INDUCTOR
RCP1317 1 ELEMENT, 1200 uH, GENERAL PURPOSE INDUCTOR
RCP1317 1 ELEMENT, 120 uH, GENERAL PURPOSE INDUCTOR
RCP1317 1 ELEMENT, 33 uH, GENERAL PURPOSE INDUCTOR
RCP1317 1 ELEMENT, 2700 uH, GENERAL PURPOSE INDUCTOR
RCP1317 1 ELEMENT, 1800 uH, GENERAL PURPOSE INDUCTOR
RCP1317 1 ELEMENT, 68 uH, GENERAL PURPOSE INDUCTOR
RCP1317 1 ELEMENT, 47 uH, GENERAL PURPOSE INDUCTOR
Bourns, Inc.
Sumida, Corp.
SUMIDA[Sumida Corporation]
 
 Related keyword From Full Text Search System
IR3702N register IR3702N cantherm IR3702N Pass IR3702N processor IR3702N ram
IR3702N voltage IR3702N filetype:pdf IR3702N 価格 IR3702N oscillator IR3702N synthesizer rom
 

 

Price & Availability of IR3702N

All Rights Reserved © IC-ON-LINE 2003 - 2022  

[Add Bookmark] [Contact Us] [Link exchange] [Privacy policy]
Mirror Sites :  [www.datasheet.hk]   [www.maxim4u.com]  [www.ic-on-line.cn] [www.ic-on-line.com] [www.ic-on-line.net] [www.alldatasheet.com.cn] [www.gdcy.com]  [www.gdcy.net]


 . . . . .
  We use cookies to deliver the best possible web experience and assist with our advertising efforts. By continuing to use this site, you consent to the use of cookies. For more information on cookies, please take a look at our Privacy Policy. X
0.045815944671631