Part Number Hot Search : 
4F158D 74HC15 74HC08B1 SI9400DY GA128 SDSST211 VS400M 330M10
Product Description
Full Text Search

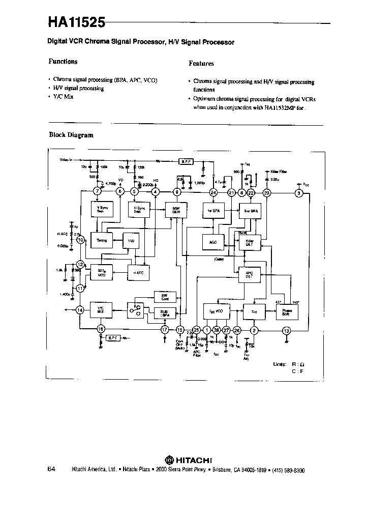
HA11525MP - Color Processor for VCR

HA11525MP_1548018.PDF Datasheet


 Full text search : Color Processor for VCR
 Product Description search : Color Processor for VCR


 Related Part Number
PART Description Maker
CXA1200BQ VCR Brightness and Color Signal Processor
ETC
BA7795LS BA7795 BA7795FS VCR standard audio signal processor
ROHM[Rohm]
TA1246F HI-FI AUDIO SIGNAL PROCESSOR FOR VHS VCR 高保真音响信号录影机处理
Toshiba, Corp.
LA7289 VCR Audio Signal Record and Playback Processor
Sanyo Semicon Device
LA75676V LA75676V07 For TV and VCR Products IF Signal Processor (VIF SIF)
Sanyo Semicon Device
LA7282 LA7282M VCR Audio Signal Recording / Playback Processor
SANYO[Sanyo Semicon Device]
CXA2038R AFM Monaural Signal Processor for 8mm VCR
SONY
NTE1422 Integrated Circuit Playback Video Signal Processor for VCR
NTE Electronics
TA1246AF TA1246F E008155 From old datasheet system
HI-FI AUDIO SIGNAL PROCESSOR FOR VHS VCR
Toshiba Semiconductor
LA70100M LA70100M06 LA70100M07 SECAM Chroma-Signal Processor IC for VCR
   SECAM Chroma-Signal Processor IC for VCR
Sanyo Semicon Device
AN3672NFBP Audio signal processor IC for HiFi VCR incorporating EIAJ sound multiplex system
Panasonic Semiconductor
NTE15030 Integrated Circuit CMOS, Color Processing Circuit for VCR 集成电路的CMOS,色彩处理电路录像机
Integrated Circuit CMOS / Color Processing Circuit for VCR
ON Semiconductor
NTE Electronics
 
 Related keyword From Full Text Search System
HA11525MP battery mcu HA11525MP stmicroelectronics HA11525MP Battery MCU HA11525MP usb circuit diagram HA11525MP output data
HA11525MP specifications HA11525MP logic HA11525MP Detector HA11525MP dual HA11525MP Ic on line
 

 

Price & Availability of HA11525MP

All Rights Reserved © IC-ON-LINE 2003 - 2022  

[Add Bookmark] [Contact Us] [Link exchange] [Privacy policy]
Mirror Sites :  [www.datasheet.hk]   [www.maxim4u.com]  [www.ic-on-line.cn] [www.ic-on-line.com] [www.ic-on-line.net] [www.alldatasheet.com.cn] [www.gdcy.com]  [www.gdcy.net]


 . . . . .
  We use cookies to deliver the best possible web experience and assist with our advertising efforts. By continuing to use this site, you consent to the use of cookies. For more information on cookies, please take a look at our Privacy Policy. X
0.045696020126343