Part Number Hot Search : 
6443IRZ 64012 SC550 TDA74 78DL05 42624 MAX15096 KSH44H11
Product Description
Full Text Search

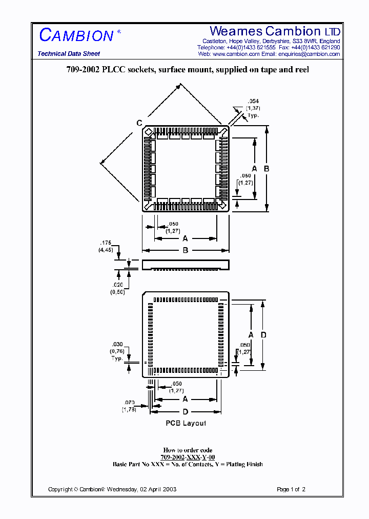
709-2002 - PLCC sockets, surface mount, supplied on tape and reel

709-2002_1671161.PDF Datasheet


 Full text search : PLCC sockets, surface mount, supplied on tape and reel
 Product Description search : PLCC sockets, surface mount, supplied on tape and reel


 Related Part Number
PART Description Maker
PLCC-44 Surface Mount PLCC Sockets
Methode Electronics
709-2001 PLCC sockets, surface mount, supplied in tubes
CAMBION Electronic Components
504-99-100-24-000 504-99-020-24-000 504-99-028-24- Sockets for Plastic Leaded Chip Carriers (PLCC) Solder tail 塑料引线芯片载体封装(PLCC)插座焊
TV 30C 10#20 13#16 4#12(COAX)
PRECI-DIP SA
PREDIP[Precid-Dip Durtal SA]
HSMD-A100-K4PJ2 HSMM-A101-R00J1 HSMV-A100-S80J1 HS PLCC-2, Surface Mount LED Indicator Industry standard PLCC-2 package
AVAGO TECHNOLOGIES LIMITED
AVAGO TECHNOLOGIES LIMI...
QTLP670C QTLP670C-23 QTLP670C-24 QTLP670C-34 QTLP6 MS27467E11B13P
SURFACE MOUNT LED LAMP STANDARD BRIGHT PLCC-4
HER / Yellow Surface Mount LED Lamp - Standard Bright PLCC-4
HER / Green Surface Mount LED Lamp - Standard Bright PLCC-4
Yellow / Green Surface Mount LED Lamp - Standard Bright PLCC-4
AlGaAs Red / Green Surface Mount LED Lamp - Standard Bright PLCC-4
Fairchild Semiconductor Corporation
FAIRCHILD[Fairchild Semiconductor]
QTLP670C5TR QTLP670C-5 QTLP670C-8 SURFACE MOUNT LED LAMP PLCC - 2 PACKAGE
LED PURE GREEN SMD PLCC-2
Fairchild Semiconductor
PLCC68AG PLCC68AT PLCC32AT PLCC32AG PLCC20AG PLCC2 PLCC SOCKETS
Adam Technologies, Inc.
DBCPLCC44SMT DBCPLCC44SMTTR DBCPLCC44TR DBCPLCC84S IC SOCKETS PLCC
Dubilier
HSMC-A100-P70J1 PLCC-2, Surface Mount LED Indicator
AVAGO TECHNOLOGIES LIMITED
ASMT-QTC0-0AA02 ASMT-QTC0-0XXXX PLCC-4 Black Body Surface Mount Tricolor LED
AVAGO TECHNOLOGIES LIMITED
HSMW-A100-T50J1 HSMW-A101-R50J1 HSMW-A10X-XXXXX White Surface Mount LED Indicator SMT PLCC-2
AVAGO TECHNOLOGIES LIMITED
 
 Related keyword From Full Text Search System
709-2002 dropout 709-2002 Control 709-2002 Regulators 709-2002 Data 709-2002 high-speed usb
709-2002 quad 709-2002 huck 709-2002 nec 709-2002 poliester 709-2002 control
 

 

Price & Availability of 709-2002

All Rights Reserved © IC-ON-LINE 2003 - 2022  

[Add Bookmark] [Contact Us] [Link exchange] [Privacy policy]
Mirror Sites :  [www.datasheet.hk]   [www.maxim4u.com]  [www.ic-on-line.cn] [www.ic-on-line.com] [www.ic-on-line.net] [www.alldatasheet.com.cn] [www.gdcy.com]  [www.gdcy.net]


 . . . . .
  We use cookies to deliver the best possible web experience and assist with our advertising efforts. By continuing to use this site, you consent to the use of cookies. For more information on cookies, please take a look at our Privacy Policy. X
0.35913801193237