Part Number Hot Search : 
8A431 03R3JLF DTD01939 ELH0021K 12864G MBRM760 BDE0000G 684J250
Product Description
Full Text Search

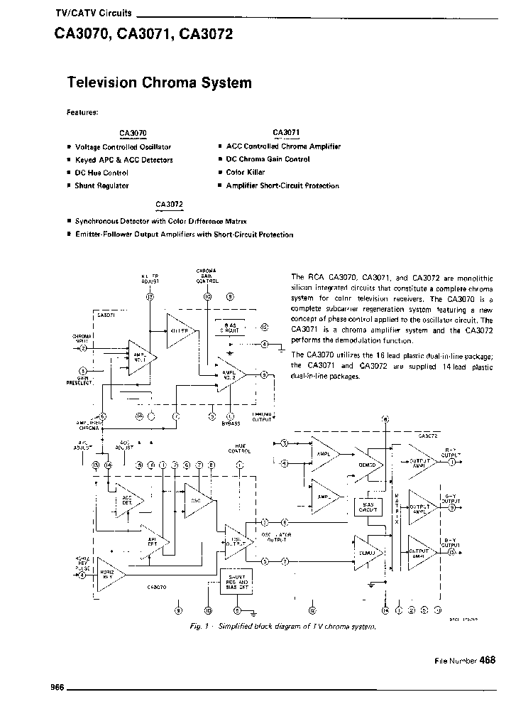
CA3070 - (CA3070 - CA3072) Television Chroma System

CA3070_1652724.PDF Datasheet

 
Part No. CA3070
Description (CA3070 - CA3072) Television Chroma System

File Size 704.91K  /  15 Page  

Maker


ETC



JITONG TECHNOLOGY
(CHINA HK & SZ)
Datasheet.hk's Sponsor

Part: CA3078A
Maker: HARRIS
Pack: CAN8
Stock: Reserved
Unit price for :
    50: $6.78
  100: $6.44
1000: $6.10

Email: oulindz@gmail.com

Contact us

Homepage
Download [ ]
[ CA3070 Datasheet PDF Downlaod from Datasheet.HK ]
[CA3070 Datasheet PDF Downlaod from Maxim4U.com ] :-)


[ View it Online ]   [ Search more for CA3070 ]

[ Price & Availability of CA3070 by FindChips.com ]

 Full text search : (CA3070 - CA3072) Television Chroma System
 Product Description search : (CA3070 - CA3072) Television Chroma System


 Related Part Number
PART Description Maker
UTV120 UTV200 12 Watts, 26.5 Volts, Class A UHF Television - Band IV & V
COMMON EMITTER transistor 20 Watts, 26.5 Volts, Class A UHF Television - Band IV & V
GHZTECH[GHz Technology]
23HLV85 LCD Color Television
TOSHIBA
Z90233 Z90234 Z90231 Z90239 Z8 DIGITAL TELEVISION CONTROLLERS
Zilog, Inc.
TDA2791 Television sound combination
Toshiba Semiconductor
Z90211 Z90212 Z90213 Z90218 Z90219 Z8 Digital Television Controllers
Zilog.
Zilog, Inc.
Z89332 Digital Television Controller
ZILOG[Zilog, Inc.]
TC-20B12 Color Television Service Manual
Panasonic
MAX3544 Multiband Digital Television Tuner
Maxim Integrated Products
UV1315 VHF/UHF television tuner
List of Unclassifed Manufacturers
ETC[ETC]
TA7680AP TELEVISION PIF + SIF SYSTEM
Toshiba Semiconductor
TH-37PA40E TH-42PA50E (TH-xxPAx0E) Progressive Wide Plasma Television
Panasonic
 
 Related keyword From Full Text Search System
CA3070 igbt CA3070 Rail CA3070 intersil CA3070 appreciate CA3070 planar
CA3070 signal CA3070 silicon CA3070 uncooled cel CA3070 Bit CA3070 Megabit
 

 

Price & Availability of CA3070

All Rights Reserved © IC-ON-LINE 2003 - 2022  

[Add Bookmark] [Contact Us] [Link exchange] [Privacy policy]
Mirror Sites :  [www.datasheet.hk]   [www.maxim4u.com]  [www.ic-on-line.cn] [www.ic-on-line.com] [www.ic-on-line.net] [www.alldatasheet.com.cn] [www.gdcy.com]  [www.gdcy.net]


 . . . . .
  We use cookies to deliver the best possible web experience and assist with our advertising efforts. By continuing to use this site, you consent to the use of cookies. For more information on cookies, please take a look at our Privacy Policy. X
0.048520088195801