Part Number Hot Search : 
L6230 MJ15003 X1G00 MIC5249 TGA2511 KU5S31NS LZ932200 SMDJ36CA
Product Description
Full Text Search

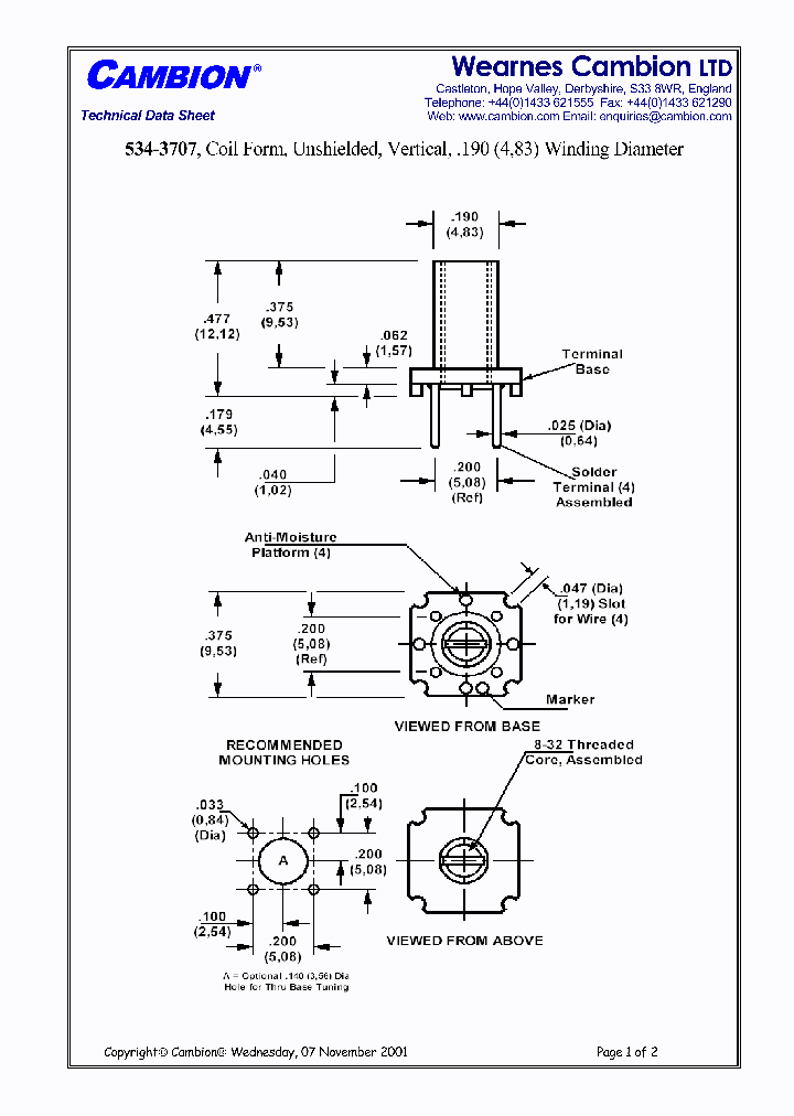
534-3707 - Coil Form, Unshielded, Vertical, .190 (4,83) Winding Diameter

534-3707_1456738.PDF Datasheet


 Full text search : Coil Form, Unshielded, Vertical, .190 (4,83) Winding Diameter
 Product Description search : Coil Form, Unshielded, Vertical, .190 (4,83) Winding Diameter


 Related Part Number
PART Description Maker
534-3706 Coil Form, Unshielded, Vertical, .190 (4,83) Winding Diameter
CAMBION Electronic Components
534-3744 Coil Form, Unshielded, Horizontal, .162 (4,11) Winding Diameter
CAMBION Electronic Components
TX2-12V TX2SL-4.5V-Z-1 TX2SS-L2-1.5V-Z-1 TX2SL-L-3 POWER/SIGNAL RELAY, DPDT, LATCHED, 0.033A (COIL), 3VDC (COIL), 100mW (COIL), 1A (CONTACT), 220VDC (CONTACT), SURFACE MOUNT-STRAIGHT
High Capacity High Breakdown Voltage, 2 Form C, 2A 30VDC, PC Board Terminal Type, Gold Contact
POWER/SIGNAL RELAY, DPDT, MOMENTARY, 0.031A (COIL), 4.5VDC (COIL), 140mW (COIL), 1A (CONTACT), 220VDC (CONTACT), SURFACE MOUNT-STRAIGHT
POWER/SIGNAL RELAY, DPDT, LATCHED, 0.134A (COIL), 1.5VDC (COIL), 200mW (COIL), 1A (CONTACT), 220VDC (CONTACT), SURFACE MOUNT-STRAIGHT
Panasonic
E528DN-100071 E528SN-100062 E528SNAS-100073 E528SN COIL .447UH TYPE MC122 W/O CASE UNSHIELDED, VARIABLE INDUCTOR
COIL .137UH TYPE MC122 W/O CASE
Close Wound
TOKO, Inc.
TOKO INC
DK1A-L2-24V DK1A-L2-9V DK1AL26VNIL DK1AL26VF DK2AL Miniature Power Relay, 1 Form A, 10A 250VAC 10A 30VDC, 2 Coil Latching POWER/SIGNAL RELAY, SPST, LATCHED, 0.008A (COIL), 24VDC (COIL), 200mW (COIL), 10A (CONTACT), 30VDC (CONTACT), THROUGH HOLE-STRAIGHT MOUNT
   10 A MINIATURE POWER RELAY
Panasonic Semiconductor
PANASONIC CORP
Panasonic, Corp.
DR3W912 DR3W810 COIL FORM IS ALSO AVAILBLE FOR ABOVE TYPES
YUXIANG Magnetc materials Ind. Co., Ltd.
NL6EBX-DC110V NL6EBX-DC110V-1 NL6EBX-L2-DC110V NL6 NL-relay. 6PDT, 2 Amp, dil. relay. 6 form C. Coil voltage 110 V DC. Amber sealed type. Single side stable. Contact material: gold-clad silver.
NL-relay. 6PDT, 2 Amp, dil. relay. 6 form C. Coil voltage 110 V DC. Amber sealed type. Single side stable. Contact material: gold-cap over silver palladium.
NL-relay. 6PDT, 2 Amp, dil. relay. 6 form C. Coil voltage 110 V DC. Amber sealed type. 2 coil latching. Contact material: gold-clad silver.
NL-relay. 6PDT, 2 Amp, dil. relay. 6 form C. Coil voltage 110 V DC. Amber sealed type. 2 coil latching. Contact material: gold-cap over silver palladium.
Matsushita Electric Works(Nais)
533-4462 Coil Form, Shielded, Vertical, .210 (5,33) Winding Diameter
CAMBION Electronic Components
533-1738 Coil Form, Shielded, Vertical, .136 (3,45) Winding Diameter
CAMBION Electronic Components
APE30006 APE10018 APE3014H APE10006 APE10012 APE10 PE-relay. The slim power relay. 1 form C. Coil voltage 48 V DC. Silver alloy with Au-plated. Single contact.
PE-relay. The slim power relay. 1 form C. Coil voltage 18 V DC. Silver alloy with Au-plated. Single contact.
PE-relay. The slim power relay. 1 form C. Coil voltage 6 V DC. Silver alloy with Au-plated. Single contact.
PE-relay. The slim power relay. 1 form C. Coil voltage 48 V DC. Silver alloy without Au-plated. Single contact.
PE-relay. The slim power relay. 1 form C. Coil voltage 18 V DC. Silver alloy without Au-plated. Single contact.
PE-relay. The slim power relay. 1 form C. Coil voltage 6 V DC. Silver alloy without Au-plated. Single contact.
PE-relay. The slim power relay. 1 form A. Coil voltage 24 V DC. Silver alloy without Au-plated. Single contact.
PE-relay. The slim power relay. 1 form A. Coil voltage 6 V DC. Silver alloy with Au-plated. Single contact.
PE-relay. The slim power relay. 1 form A. Coil voltage 48 V DC. Silver alloy with Au-plated. Single contact.
PE-relay. The slim power relay. 1 form A. Coil voltage 18 V DC. Silver alloy with Au-plated. Single contact.
PE-relay. The slim power relay. 1 form A. Coil voltage 12 V DC. Silver alloy with Au-plated. Single contact.
THE SLIM POWER RELAY 小井的功率继电器
PE-relay. The slim power relay. 1 form A. Coil voltage 12 V DC. Silver alloy without Au-plated. Single contact.
PE-relay. The slim power relay. 1 form A. Coil voltage 18 V DC. Silver alloy without Au-plated. Single contact.
PE-relay. The slim power relay. 1 form A. Coil voltage 4.5 V DC. Silver alloy with Au-plated. Single contact.
PE-relay. The slim power relay. 1 form A. Coil voltage 24 V DC. Silver alloy with Au-plated. Single contact.
PE-relay. The slim power relay. 1 form A. Coil voltage 6 V DC. Silver alloy without Au-plated. Single contact.
PE-relay. The slim power relay. 1 form A. Coil voltage 4.5 V DC. Silver alloy without Au-plated. Single contact.
PE-relay. The slim power relay. 1 form A. Coil voltage 48 V DC. Silver alloy without Au-plated. Single contact.
PE-relay. The slim power relay. 1 form C. Coil voltage 12 V DC. Silver alloy without Au-plated. Single contact.
PE-relay. The slim power relay. 1 form C. Coil voltage 24 V DC. Silver alloy without Au-plated. Single contact.
PE-relay. The slim power relay. 1 form C. Coil voltage 4.5 V DC. Silver alloy without Au-plated. Single contact.
PE-relay. The slim power relay. 1 form C. Coil voltage 12 V DC. Silver alloy with Au-plated. Single contact.
PE-relay. The slim power relay. 1 form C. Coil voltage 24 V DC. Silver alloy with Au-plated. Single contact.
Panasonic, Corp.
NAIS[Nais(Matsushita Electric Works)]
Matsushita Electric Works(Nais)
ACV33212 ACV11012 ACV11112 ACV11212 ACV12012 ACV12 CV-relay. Automotive low profile micro 280 relay. With resistor inside type. 1 form A. PC board terminal. Coil voltage 12 V.
CV-relay. Automotive low profile micro 280 relay. Standard type. 1 form A. PC board terminal. Coil voltage 12 V.
CV-relay. Automotive low profile micro 280 relay. With diode inside type. 1 form A. Plug-in terminal. Coil voltage 12 V.
CV-relay. Automotive low profile micro-ISO relay. With resistor inside type. 1 form A. Plug-in terminal. Coil voltage 12 V.
CV-relay. Automotive low profile micro-ISO relay. Standard type. 1 form A. Plug-in terminal. Coil voltage 12 V.
CV-relay. Automotive low profile micro 280 relay. Standard type. 1 form C. PC board terminal. Coil voltage 12 V.
CV-relay. Automotive low profile micro 280 relay. With diode inside type type. 1 form C. Plug-in terminal. Coil voltage 12 V.
AUTOMOTIVE LOW PROFILE MICRO-ISO/MICRO-280 RELAY
CV-relay. Automotive low profile micro-ISO relay. Standard type. 1 form C. Plug-in terminal. Coil voltage 12 V.
CV-relay. Automotive low profile micro-ISO relay. With diode inside type. 1 form C. Plug-in terminal. Coil voltage 12 V.
CV-relay. Automotive low profile micro-ISO relay. With resistor inside type. 1 form C. Plug-in terminal. Coil voltage 12 V.
CV-relay. Automotive low profile micro 280 relay. Standard type. 1 form C. Plug-in terminal. Coil voltage 12 V.
CV-relay. Automotive low profile micro 280 relay. With resistor inside type type. 1 form C. Plug-in terminal. Coil voltage 12 V.
CV-relay. Automotive low profile micro 280 relay. With resistor inside type. 1 form C. PC board terminal. Coil voltage 12 V.
CV-relay. Automotive low profile micro 280 relay. With diode inside type. 1 form C. PC board terminal. Coil voltage 12 V.
CV-relay. Automotive low profile micro-ISO relay. With diode inside type. 1 form A. Plug-in terminal. Coil voltage 12 V.
CV-relay. Automotive low profile micro 280 relay. Standard type. 1 form A. Plug-in terminal. Coil voltage 12 V.
CV-relay. Automotive low profile micro 280 relay. With resistor inside type. 1 form A. Plug-in terminal. Coil voltage 12 V.
CV-relay. Automotive low profile micro 280 relay. With diode inside type. 1 form A. PC board terminal. Coil voltage 12 V.
NAIS[Nais(Matsushita Electric Works)]
Matsushita Electric Works(Nais)
 
 Related keyword From Full Text Search System
534-3707 Reference 534-3707 Mode 534-3707 integrated 534-3707 filtran xfmr 534-3707 ptc data
534-3707 Regulator 534-3707 analog 534-3707 synthesizer rom 534-3707 dual 534-3707 fairchild
 

 

Price & Availability of 534-3707

All Rights Reserved © IC-ON-LINE 2003 - 2022  

[Add Bookmark] [Contact Us] [Link exchange] [Privacy policy]
Mirror Sites :  [www.datasheet.hk]   [www.maxim4u.com]  [www.ic-on-line.cn] [www.ic-on-line.com] [www.ic-on-line.net] [www.alldatasheet.com.cn] [www.gdcy.com]  [www.gdcy.net]


 . . . . .
  We use cookies to deliver the best possible web experience and assist with our advertising efforts. By continuing to use this site, you consent to the use of cookies. For more information on cookies, please take a look at our Privacy Policy. X
0.51981592178345