Part Number Hot Search : 
OPB88X RA45H RN771VFH RT314060 FTSO706 IMSB300 L6526 AR50A08
Product Description
Full Text Search

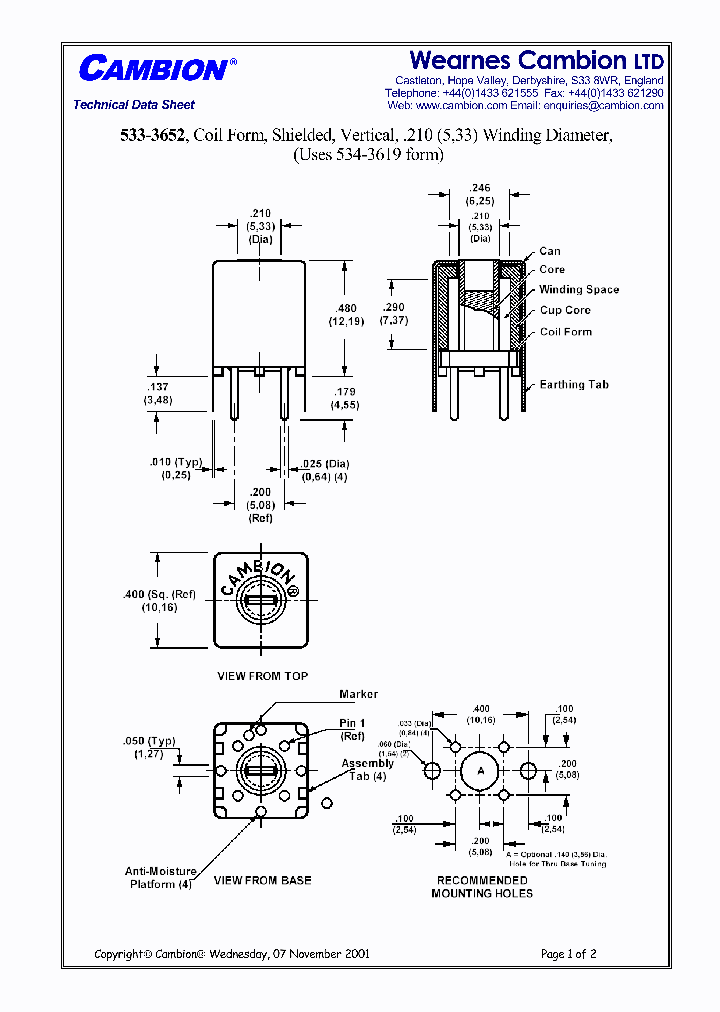
533-3652 - Coil Form, Shielded, Vertical, .210 (5,33) Winding Diameter

533-3652_1454752.PDF Datasheet


 Full text search : Coil Form, Shielded, Vertical, .210 (5,33) Winding Diameter
 Product Description search : Coil Form, Shielded, Vertical, .210 (5,33) Winding Diameter


 Related Part Number
PART Description Maker
534-3619 Coil Form, Unshielded, Vertical, .210 (5,33) Winding Diameter
CAMBION Electronic Components
534-4461 Coil Form, Unshielded, Vertical, .210 (5,33) Winding Diameter
CAMBION Electronic Components
534-3624 Coil Form, Unshielded, Vertical, .210 (5,33) Winding Diameter
CAMBION Electronic Components
ARE13A03Z 2.6GHz Relay, 1 Form C, 0.5A 30VDC Relay, 75ohms, SMD RF RELAY, SPDT, MOMENTARY, 0.067A (COIL), 3VDC (COIL), 200mW (COIL), 0.01A (CONTACT), 24VDC (CONTACT), 2600MHz, SURFACE MOUNT-STRAIGHT
Panasonic, Corp.
E526HN-100304 E526HN-100315 E526HNA-100314 E526HN- COIL .13UH TYPE MC120 W/O CASE UNSHIELDED, VARIABLE INDUCTOR
COIL .0437UH TYPE MC120 W/O CASE UNSHIELDED, VARIABLE INDUCTOR
COIL .137UH TYPE MC120 W/CASE SHIELDED, VARIABLE INDUCTOR
COIL .118UH TYPE MC120 W/O CASE UNSHIELDED, VARIABLE INDUCTOR
COIL .29UH TYPE MC120 W/CASE SHIELDED, VARIABLE INDUCTOR
COIL .211UH TYPE MC120 W/O CASE UNSHIELDED, VARIABLE INDUCTOR
COIL .0461UH TYPE MC120 W/O CASE UNSHIELDED, VARIABLE INDUCTOR
COIL .141UH MC120 W/CASE SHIELDED, VARIABLE INDUCTOR
TOKO, Inc.
JH2A-L2-DC110V JH2A1B-DC110V JH2A1B-WL2-DC110V JH3 JH relay. 30 Amp power relay with space saving design. 2 form A. Coil voltage 110 V DC. 2 coil latching.
JH relay. 30 Amp power relay with space saving design. 2 form A 1 form B. Coil voltage 110 V DC. Single side stable.
JH relay. 30 Amp power relay with space saving design. 2 form A 1 form B. Coil voltage 110 V DC. 2 coil latching.
JH relay. 30 Amp power relay with space saving design. 3 form A. Coil voltage 110 V DC. 2 coil latching.
JH relay. 30 Amp power relay with space saving design. 3 form A. Coil voltage 110 V DC. Single side stable.
Matsushita Electric Works(Nais)
HE2AN-S-DC6V HE2AN-SW-DC12C HE1AN-SW-DC12C HE1AN-P POWER/SIGNAL RELAY, SPST, MOMENTARY, 0.321A (COIL), 6VDC (COIL), 1920mW (COIL), 30A (CONTACT), 30VDC (CONTACT), PANEL MOUNT
POWER/SIGNAL RELAY, SPST, MOMENTARY, 0.04A (COIL), 48VDC (COIL), 1920mW (COIL), 30A (CONTACT), 30VDC (CONTACT), PANEL MOUNT
TV-15, 30 AMP (1 Form A) Power Relay
POWER/SIGNAL RELAY, SPST, MOMENTARY, 0.018A (COIL), 100VDC (COIL), 1920mW (COIL), 30A (CONTACT), 30VDC (CONTACT), PANEL MOUNT
POWER/SIGNAL RELAY, SPST, MOMENTARY, 0.08A (COIL), 24VDC (COIL), 1920mW (COIL), 30A (CONTACT), 30VDC (CONTACT), PANEL MOUNT
From old datasheet system
Amphenol, Corp.
Panasonic, Corp.
PANASONIC ELECTRIC WORKS CORP OF AMERICA
JV1-12V JV1PF-S-100V JV1PF-S-12V JV1PF-S-18V JV1PF JV-relay. Flat type power relay. 1 form C. Coil voltage 100 V DC. Sealed type.
JV-relay. Flat type power relay. 1 form A, standard type. Coil voltage 100 V DC. Sealed type.
JV-relay. Flat type power relay. 1 form A, standard type. Coil voltage 100 V DC. Flux-resistant type.
JV-relay. Flat type power relay. 1 form A, hing capacity type. Coil voltage 100 V DC. Sealed type.
JV-relay. Flat type power relay. 1 form A, hing capacity type. Coil voltage 100 V DC. Flux-resistant type.
JV-relay. Flat type power relay. 1 form C. Coil voltage 100 V DC. Flux-resistant type.
Nais(Matsushita Electri...
Mitsubishi Electric, Corp.
Honeywell International, Inc.
Nais(Matsushita Electric Works)
Matsushita Electric Works(Nais)
KM51A1202N KM51A1202N-LFR KM51A1203N KM51A1203N-LF 5mm Adjustable shielded IFT Coil
http://
Frontier Electronics.
KS1390N KS1390N-LFR KS1391N KS1391N-LFR KS1400N-LF 7mm Adjustable shielded IFT Coil (II)
Frontier Electronics.
 
 Related keyword From Full Text Search System
533-3652 board 533-3652 mhz 533-3652 price 533-3652 stmicroelectronics 533-3652 Polarity
533-3652 output data 533-3652 rohm 533-3652 single cell 533-3652 oscillator 533-3652 hlmp
 

 

Price & Availability of 533-3652

All Rights Reserved © IC-ON-LINE 2003 - 2022  

[Add Bookmark] [Contact Us] [Link exchange] [Privacy policy]
Mirror Sites :  [www.datasheet.hk]   [www.maxim4u.com]  [www.ic-on-line.cn] [www.ic-on-line.com] [www.ic-on-line.net] [www.alldatasheet.com.cn] [www.gdcy.com]  [www.gdcy.net]


 . . . . .
  We use cookies to deliver the best possible web experience and assist with our advertising efforts. By continuing to use this site, you consent to the use of cookies. For more information on cookies, please take a look at our Privacy Policy. X
0.046202182769775