Part Number Hot Search : 
SK154 TC5540 28GR12D TLE5204G SRAD320 TDA3565 K845P LC14A
Product Description
Full Text Search

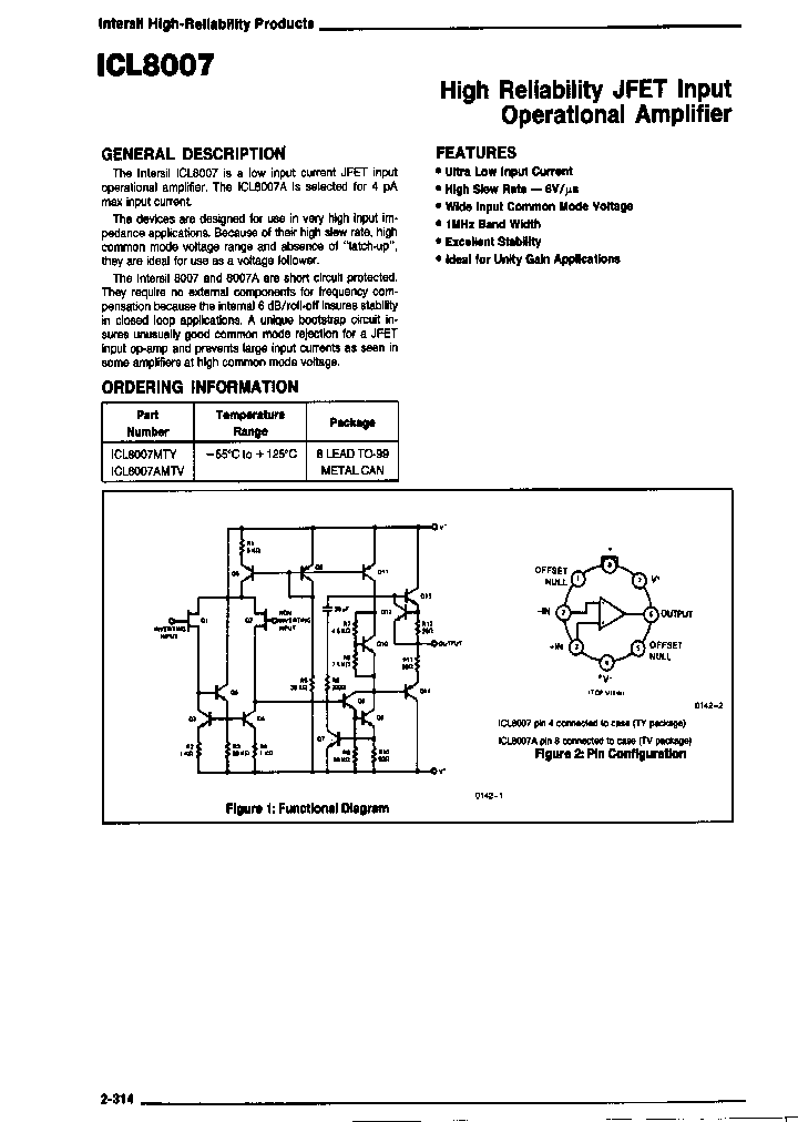
ICL8007 - High Reliability JFET Input Operational Amplifier

ICL8007_939837.PDF Datasheet

 
Part No. ICL8007
Description High Reliability JFET Input Operational Amplifier

File Size 209.11K  /  4 Page  

Maker

General Electric Solid State



JITONG TECHNOLOGY
(CHINA HK & SZ)
Datasheet.hk's Sponsor

Part: ICL8001G
Maker: Infineon Technologies
Pack: ETC
Stock: Reserved
Unit price for :
    50: $0.00
  100: $0.00
1000: $0.00

Email: oulindz@gmail.com

Contact us

Homepage
Download [ ]
[ ICL8007 Datasheet PDF Downlaod from Datasheet.HK ]
[ICL8007 Datasheet PDF Downlaod from Maxim4U.com ] :-)


[ View it Online ]   [ Search more for ICL8007 ]

[ Price & Availability of ICL8007 by FindChips.com ]

 Full text search : High Reliability JFET Input Operational Amplifier
 Product Description search : High Reliability JFET Input Operational Amplifier


 Related Part Number
PART Description Maker
LT1122D LT1122C LT1122B LT1122A LT1122 LT1122CCN8P High Speed and Precision Performance, JFET Input Operational Amplifier(?锋?楂????簿瀵???界?缁???烘?搴??杈??杩???惧ぇ?ī
Fast Settling, JFET Input Operational Amplifier; Package: PDIP; No of Pins: 8; Temperature Range: 0°C to 70°C OP-AMP, 2000 uV OFFSET-MAX, 13 MHz BAND WIDTH, PDIP8
High Speed and Precision Performance, JFET Input Operational Amplifier(具有高速和精密性能的结型场效应管输入运算放大器)
From old datasheet system
Fast Setting, JFET input Operational Amplifier
Linear Technology, Corp.
Linear Technology Corporation
IDT70914S25PI IDT70914S25PB IDT70914S25P 70914_DS_ Low-Noise JFET-Input Operational Amplifier 14-PDIP 0 to 70 高6KK的9)同步双端口RAM
High Speed Low-Noise JFET-Input Quad Operational Amplifier 14-CFP -55 to 125 4K X 9 DUAL-PORT SRAM, 25 ns, PQCC68
High Speed Low-Noise JFET-Input Quad Operational Amplifier 14-CDIP -55 to 125 4K X 9 MULTI-PORT SRAM, 25 ns, PQCC68
High Speed Low-Noise JFET-Input Quad Operational Amplifier 20-LCCC -55 to 125
HIGH SPEED 36K (4K X 9) SYNCHRONOUS DUAL-PORT RAM
From old datasheet system
Integrated Device Technology, Inc.
IDT[Integrated Device Technology]
M29F040B M295V040B-70N1R M295V040B-70K1R M295V040B 4 Mbit 512Kb x8 / Uniform Block Single Supply Flash Memory
Excalibur Low-Noise High-Speed JFET-Input Dual Operational Amplifier 8-SOIC
CONNECTOR ACCESSORY
Quad Low-Noise High-Speed JFET-Input Operational Amplifier 16-SOIC 4兆位512KB的8,统一座单电源闪存
KPT 2C 2#20 SKT PLUG 4兆位512KB的8,统一座单电源闪存
4 Mbit 512Kb x8, Uniform Block Single Supply Flash Memory 4兆位512KB的8,统一座单电源闪存
JFET-Input High Speed Low Noise Quad Operational Amplifier 20-LCCC -55 to 125 4兆位512KB的8,统一座单电源闪存
8-Pin DIP 1 Mbit/s Single-Channel High Speed Transistor Output Optocoupler No Base; Package: DIP-W; No of Pins: 8; Container: Bulk 4兆位512KB的8,统一座单电源闪存
512K X 8 FLASH 5V PROM, 70 ns, PDIP32
ST Microelectronics
意法半导
STMicroelectronics N.V.
NUMONYX
MC35001 MC35004BL MC34001BU MC34001U MC35002U MC35 JFET Input Operational Amplifiers
IC,OP-AMP,SINGLE,BIPOLAR/JFET,CAN,8PIN,METAL
Freescale Semiconductor Inc (Motorola)
MOTOROLA[Motorola, Inc]
LS4117ATO-92 Ultra-High Input Impedance N-Channel JFET
Micross Components
2N4117TO-71 an Ultra-High Input Impedance N-Channel JFET
Micross Components
2N5301TO-72 a very High Input Impedance N-Channel JFET amplifier
Micross Components
SST4119SOT-23 an Ultra-High Input Impedance N-Channel JFET
Micross Components
2N4118TO-71 an Ultra-High Input Impedance N-Channel JFET
Micross Components
MC34181 MC34181D MC34181P MC34182D MC34182P MC3418 From old datasheet system
Low Power High Slew Rate Wide Bandwidth JFET Input Operational Amplifiers
Low Power, High Slew Rate, Wide Bandwidth, JFET Input Operational Amplifiers
ONSEMI[ON Semiconductor]
MOTOROLA[Motorola Inc]
U424SOIC a high input impedance Monolithic Dual N-Channel JFET
Micross Components
U422TO-78 U422TO-71 high input impedance Monolithic Dual N-Channel JFET
Micross Components
 
 Related keyword From Full Text Search System
ICL8007 Differential ICL8007 Vout ICL8007 tdma modulator ICL8007 MARKING ICL8007 电子元件中文资料网站
ICL8007 digital ic ICL8007 Sipat ICL8007 synthesizer rom ICL8007 maxim ICL8007 module
 

 

Price & Availability of ICL8007

All Rights Reserved © IC-ON-LINE 2003 - 2022  

[Add Bookmark] [Contact Us] [Link exchange] [Privacy policy]
Mirror Sites :  [www.datasheet.hk]   [www.maxim4u.com]  [www.ic-on-line.cn] [www.ic-on-line.com] [www.ic-on-line.net] [www.alldatasheet.com.cn] [www.gdcy.com]  [www.gdcy.net]


 . . . . .
  We use cookies to deliver the best possible web experience and assist with our advertising efforts. By continuing to use this site, you consent to the use of cookies. For more information on cookies, please take a look at our Privacy Policy. X
0.46337509155273