Part Number Hot Search : 
AO4900AL HCF4000B DG405 DG143BP ADT6504 XC95144 74823 AUIRF7
Product Description
Full Text Search

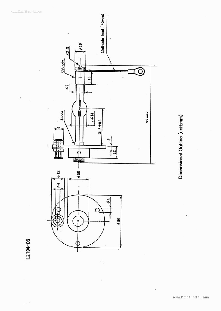
L2194-06 - LED

L2194-06_200589.PDF Datasheet


 Full text search : LED
 Product Description search : LED


 Related Part Number
PART Description Maker
Q62703-Q3825 LR5380 Q62703-Q3189 Q62703-Q3909 LG53 5 mm T1 3/4 LED / Diffused Wide-Angle LED
5 mm T1 3/4 LED Diffused Wide-Angle LED
5 mm T1 3/4 LED/ Diffused Wide-Angle LED
3932
5 mm T1 3/4 LED, Diffused Wide-Angle LED 5毫米T1 3 / 4的LED,扩散广角发光二极管
5 mm T1 3/4 LED, Diffused Wide-Angle LED T-1 3/4 SINGLE COLOR LED, SUPER RED, 5 mm
5 mm T1 3/4 LED, Diffused Wide-Angle LED T-1 3/4 SINGLE COLOR LED, GREEN, 5 mm
SIEMENS[Siemens Semiconductor Group]
SIEMENS AG
Siemens Semiconductor G...
Q62703-Q3170 Q62703-Q3176 Q62703-Q3177 Q62703-Q355 Hyper 3 mm T1 LED Non Diffused Hyper-Bright LED
Hyper 3 mm T1 LED/ Non Diffused Hyper-Bright LED
FILTER CHIP 26 OHM 6A 0603
Standard Recovery Rectifier; Forward Current:25A; Forward Current Average:15.9A; Forward Current Avg Rectified, IF(AV):15.9A; Forward Surge Current Max, Ifsm:350A; Forward Voltage:1.1V; Forward Voltage Max, VF:1.1V RoHS Compliant: Yes
50842042
Hyper 3 mm T1 LED, Non Diffused Hyper-Bright LED T-1 SINGLE COLOR LED, SUPER RED, 3 mm
Hyper 3 mm T1 LED, Non Diffused Hyper-Bright LED 3毫米T1的LED,不扩散超高亮LED
Hyper 3 mm T1 LED, Non Diffused Hyper-Bright LED 毫米T1的LED,不扩散超高亮LED
Hyper 3 mm T1 LED, Non Diffused Hyper-Bright LED T-1 SINGLE COLOR LED, ORANGE, 3 mm
Siemens Semiconductor G...
SIEMENS[Siemens Semiconductor Group]
SIEMENS AG
550-XX04 550-5704 550-0204 550-0304 550-0404 550-0 LED 5MM VERT LOW CUR RED PCMNT T-1 3/4 SINGLE COLOR LED, RED, 5 mm
LED Lamp; Color:Green; Luminous Intensity (MSCP):12.3ucd; LED Color:Green; Leaded Process Compatible:Yes; Lens Style:(L x W x H) 9.27 x 6.10 x 6.10 mm; Mounting Type:Through Hole; Terminal Type:PCB Leaded T-1 3/4 SINGLE COLOR LED, GREEN, 5 mm
LED 5MM VERT SUP DIFF YEL PC MNT T-1 3/4 SINGLE COLOR LED, YELLOW, 5 mm
5mm LED CBI Circuit Board Indicator Top View, Single
Dialight PLC
DIALIGHT[Dialight Corporation]
Q62703-Q1395 Q62703-Q1746 LG5460-GK LG5460-H LG546 5 mm (T1 3/4) LED Diffused
5 mm (T1 3/4) LED/ Diffused
5 mm (T1 3/4) LED, Diffused 5毫米(T1 3 / 4)的LED,漫
5 mm (T1 3/4) LED, Diffused T-1 3/4 SINGLE COLOR LED, RED, 5 mm
SIEMENS[Siemens Semiconductor Group]
SIEMENS AG
MC14005N MC14007N MC74005N MC74007N MC74007 MC7400 Ukad piciodziaaniowego kalkulatora wsppracujcego z wywietlaczem LED
8-function calculator unit co-operating with LED display
MC14005N LED
Ultra CEMI
List of Unclassifed Manufacturers
ETC[ETC]
UNITRA CEMI
609-1122-340F 609-2122-120F 609-2122-130F 609-2122 LED Panel Mount Indicators for 9.35mm Mounting Hole w/ Optional Watertight Capability
LED PNL MT 9MM 6V CHROME YELLOW SINGLE COLOR LED, YELLOW, 9 mm
LED INDICATOR, RECESSED RED 24VDC SINGLE COLOR LED, RED, 9 mm
LED Lamp; Color:Red; Lens Color:Red; Luminous Intensity (MSCP):60; Voltage Rating:6V; Forward Current:15mA; Forward Voltage:6VDC; LED Color:Red; Leaded Process Compatible:Yes; Lens Style:(H x Dia) 37.08 x 10.92 mm; Lens Width:9mm
SINGLE COLOR LED, GREEN, 6 mm
Dialight Corporation
Dialight PLC
556-3003-304 556-3504-304 DIALIGHTCORP-556-3804-30 LED Panel Indicator; LED Color:White; Color:White; Leaded Process Compatible:No; Peak Reflow Compatible (260 C):No RoHS Compliant: No SINGLE COLOR LED, WHITE
LED PNL MT 1 24V WT DOME RED SINGLE COLOR LED, RED
SINGLE COLOR LED, YELLOW
Dialight PLC
DIALIGHT CORP
609-1312-120 609-2312-120 609-1212-130 609-1112-14 LED PNL MT 9MM 6V CHROME YELLOW SINGLE COLOR LED, YELLOW, 6.1 mm
LED PNL MT 9MM 6V CHROME YELLOW SINGLE COLOR LED, YELLOW, 8.89 mm
LED Lamp; LED Color:Green; Luminous Intensity:110ucd; Forward Current:15mA; Forward Voltage:12VDC; Operating Temperature Range:-25 C to C; Color:Green; Leaded Process Compatible:No; Lens Color:Green RoHS Compliant: No SINGLE COLOR LED, GREEN, 6.1 mm
SINGLE COLOR LED, RED, 6.1 mm
Dialight PLC
DIALIGHT CORP
550-2305F 550-1305F 550-1005F 550-5305F 550-5105F LED Lamp; Leaded Process Compatible:Yes T-1 3/4 SINGLE COLOR LED, YELLOW, 5 mm
LED Lamp; Color:Green; Luminous Intensity (MSCP):1.8; Forward Current:2mA; Forward Voltage:1.8V; LED Color:Green; Leaded Process Compatible:Yes T-1 3/4 SINGLE COLOR LED, GREEN, 5 mm
LED 5MM R/A BLUE WATER CLEAR T-1 3/4 SINGLE COLOR LED, BLUE, 5 mm
LED 5MM RT ANG SUP DIFF YEL PCMT T-1 3/4 SINGLE COLOR LED, YELLOW, 5 mm
LED 5MM RT ANG SUP DIFF RED PCMN T-1 3/4 SINGLE COLOR LED, RED, 5 mm
T-1 3/4 SINGLE COLOR LED, AMBER, 5 mm ROHS COMPLIANT PACKAGE-2
T-1 3/4 SINGLE COLOR LED, YELLOW, 5 mm ROHS COMPLIANT PACKAGE-2
Dialight PLC
DIALIGHT CORP
561-5301-100F 561-5201-070 561-5101-070 561-1301-0 LED Indicator; Color:Yellow; Luminous Intensity (MSCP):34; Viewing Angle:50 ; Forward Current:20mA; Forward Voltage:2.2V; LED Color:Yellow; Leaded Process Compatible:Yes; Wavelength:590nm T-1 3/4 SINGLE COLOR LED, YELLOW, 5 mm
T-1 3/4 SINGLE COLOR LED, GREEN, 5 mm
T-1 3/4 SINGLE COLOR LED, RED, 5 mm
T-1 3/4 DUAL COLOR LED, RED/GREEN, 5 mm
Dialight PLC
 
 Related keyword From Full Text Search System
L2194-06 regulator L2194-06 Emitter L2194-06 Series L2194-06 motor L2194-06 type
L2194-06 header L2194-06 technology L2194-06 dropout L2194-06 battery mcu L2194-06 data
 

 

Price & Availability of L2194-06

All Rights Reserved © IC-ON-LINE 2003 - 2022  

[Add Bookmark] [Contact Us] [Link exchange] [Privacy policy]
Mirror Sites :  [www.datasheet.hk]   [www.maxim4u.com]  [www.ic-on-line.cn] [www.ic-on-line.com] [www.ic-on-line.net] [www.alldatasheet.com.cn] [www.gdcy.com]  [www.gdcy.net]


 . . . . .
  We use cookies to deliver the best possible web experience and assist with our advertising efforts. By continuing to use this site, you consent to the use of cookies. For more information on cookies, please take a look at our Privacy Policy. X
0.13220500946045