Part Number Hot Search : 
HD74LS85 2SC4306R D200SA60 1SMA4764 UN221Z 2745G3 BZT6X CY64146V
Product Description
Full Text Search

612-16 - Logic IC Low-Power, Single/Dual-Voltage µP Reset Circuits with Capacitor-Adjustable Reset Timeout Delay

612-16_333983.PDF Datasheet

 
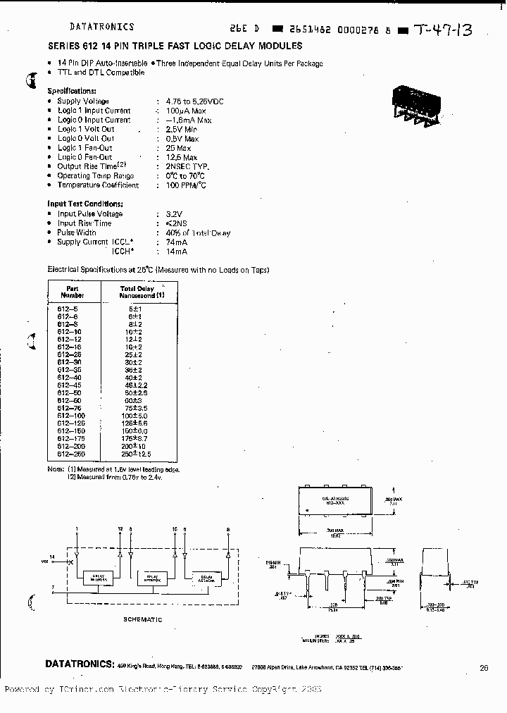
Part No. 612-16 612-30 612-12 612-75 612-10 612-45 612-50 612-40 612-35 612-8 612-25 612-200 612-6 612-60 612-150 612-250 612-125 612-175 612-100
Description Logic IC
Low-Power, Single/Dual-Voltage µP Reset Circuits with Capacitor-Adjustable Reset Timeout Delay

File Size 33.49K  /  1 Page  

Maker

N/A



Homepage
Download [ ]
[ 612-16 612-30 612-12 612-75 612-10 612-45 612-50 612-40 612-35 612-8 612-25 612-200 612-6 612-60 612 Datasheet PDF Downlaod from Datasheet.HK ]
[612-16 612-30 612-12 612-75 612-10 612-45 612-50 612-40 612-35 612-8 612-25 612-200 612-6 612-60 612 Datasheet PDF Downlaod from Maxim4U.com ] :-)


[ View it Online ]   [ Search more for 612-16 ]

[ Price & Availability of 612-16 by FindChips.com ]

 Full text search : Logic IC Low-Power, Single/Dual-Voltage µP Reset Circuits with Capacitor-Adjustable Reset Timeout Delay
 Product Description search : Logic IC Low-Power, Single/Dual-Voltage µP Reset Circuits with Capacitor-Adjustable Reset Timeout Delay


 Related Part Number
PART Description Maker
74HC1G86GW/T1 74HCT1G86GW/T1 SC70/µDFN, Single/Dual Low-Voltage, Low-Power µP Reset Circuits
IC-SM-CMOS LOGIC 集成电路钐CMOS逻辑
Lumex, Inc.
74HC1G02GW/T1 74HCT1G02GW/T1 SC70/µDFN, Single/Dual Low-Voltage, Low-Power µP Reset Circuits
IC-SM-CMOS LOGIC 集成电路钐CMOS逻辑
NXP Semiconductors N.V.
M38257E8F8 M38257M8-140GP M38254M6-125FP M38254M6-    SINGLE-CHIP 8-BIT CMOS MICROCOMPUTER
IC LOGIC 1G08 SINGLE 2-INPUT POSITIVE-AND GATE -40 85C SOT-23-5 3000/REEL
Low-Power Dual 2-Input Positive-AND Gate 8-DSBGA -40 to 85
Low-Power Dual Bus Buffer Gate With 3-State Outputs 8-DSBGA -40 to 85
(M3825xxxx) SINGLE-CHIP 8-BIT CMOS MICROCOMPUTER
Mitsubishi Electric Sem...
Mitsubishi Electric Corporation
Mitsubishi Electric Semiconductor
RF1K49211 FN4303 7A, 12V, 0.020 Ohm, Logic Level, Single N-Channel LittleFETPower MOSFET
7A, 12V, 0.020 Ohm, Logic Level, Single N-Channel LittleFET⑩ Power MOSFET
From old datasheet system
7A, 12V, 0.020 Ohm, Logic Level, Single Channel LittleFET Power MOSFET
7A, 12V, 0.020 Ohm, Logic Level, Single N-Channel LittleFET Power MOSFET
7A/ 12V/ 0.020 Ohm/ Logic Level/ Single N-Channel LittleFET Power MOSFET
INTERSIL[Intersil Corporation]
NTD24N06L NTD24N06L-1 NTD24N06L-1G NTD24N06LG NTD2 Power MOSFET 24 Amps, 60 Volts, Logic Level N-Channel DPAK; Package: DPAK 4 LEAD Single Gauge Surface Mount; No of Pins: 4; Container: Tape and Reel; Qty per Container: 2500 24 A, 60 V, 0.045 ohm, N-CHANNEL, Si, POWER, MOSFET
Power MOSFET 24Amps, 60Volts Logic Level N-Channel DPAK(24A, 60 V,逻辑电平,N通道,DPAK封装的功率MOSFET)
Power MOSFET 24 Amps, 60 Volts Logic Level, N−Channel DPAK
ON Semiconductor
TC1037 TC1037CECT TC1039 TC1038 TC1039CECH TC1038C The TC1037/1038/1039 are single, low-power comparators designed for low-power applications. These comparators are specifically designed for operation from a single supply. However, operation from dual supplies also is possible, and power s
Linear Building Block . Single Comparator in SOT Packages
MICROCHIP[Microchip Technology]
Microchip Technology Inc.
5962-9458501HYC 5962-9458501HYA 5962-9458502HNC 59 Single/Dual/Quad, Low-Cost, UCSP/SOT23, Low-Power, Rail-to-Rail I/O Op Amps
x32 EEPROM Module
Current-Regulating Hot-Swap Controller with DualSpeed/BiLevel Fault Protection
Single/Dual/Quad, Low-Power, Single-Supply, Rail-to-Rail I/O Op Amps with Shutdown
16 x 16 Nonblocking Video Crosspoint Switch with On-Screen Display Insertion and I/O Buffers
ADSL Drivers/Receivers for Customer Premise Equipment
Low-Cost, UCSP/SOT23, Micropower, High-Side Current-Sense Amplifier with Voltage Output
Low-Cost, 3V/ 5V, 620µA, 200MHz, Single-Supply Op Amps with Rail-to-Rail Outputs
1.4W and 1W, Ultra-Small, Audio Power Amplifiers with Shutdown X32号的EEPROM模块
High-Speed, Low-Power, Single-Supply Multichannel, Video Multiplexer-Amplifiers X32号的EEPROM模块
Brady, Corp.
Chicago Miniature Lighting, LLC
MLL5232B MLL5221B MLL5234A MLL5231A MLL5231B MLL52 16000 GATE LOGIC CELL ARRAY - NOT RECOMMENDED for NEW DESIGN
Low Current Operation at 250 锛?ow Reverse Leakage,Low Noise Zener Diode
Low Current Operation at 250?录A茂录?Low Reverse Leakage,Low Noise Zener Diode(250?录A氓路楼盲陆?莽?碌忙碌?茫??氓掳?氓??氓??忙录?莽?碌忙碌?茫??盲陆?氓?陋氓拢掳茫??茅陆?莽潞鲁盲潞?忙??莽庐隆)
Single Output LDO, 200mA, Adj.(10 to 1.2V), High PSRR, Low Noise 5-SOT-23 -40 to 125 11 V, 0.5 W, SILICON, UNIDIRECTIONAL VOLTAGE REGULATOR DIODE, DO-213AA
Low Current Operation at 250 ,Low Reverse Leakage,Low Noise Zener Diode 2.7 V, 0.5 W, SILICON, UNIDIRECTIONAL VOLTAGE REGULATOR DIODE, DO-213AA
Single Output LDO, 150mA, Adj.(1.22 to 2.5V), Low Input Voltage Requirement, Low Quiescent Current 5-SOT-23 -40 to 125 5.1 V, 0.5 W, SILICON, UNIDIRECTIONAL VOLTAGE REGULATOR DIODE, DO-213AA
Low Current Operation at 250??A???Low Reverse Leakage,Low Noise Zener Diode(250??A?・¥?????μ?μ?????°????????????μ?μ?????????a?£°???é???o3?o???????) 6.2 V, 0.5 W, SILICON, UNIDIRECTIONAL VOLTAGE REGULATOR DIODE, DO-213AA
Low Current Operation at 250??A???Low Reverse Leakage,Low Noise Zener Diode(250??A?・¥?????μ?μ?????°????????????μ?μ?????????a?£°???é???o3?o???????) 10 V, 0.5 W, SILICON, UNIDIRECTIONAL VOLTAGE REGULATOR DIODE, DO-213AA
Low Current Operation at 250 ,Low Reverse Leakage,Low Noise Zener Diode 20 V, 0.5 W, SILICON, UNIDIRECTIONAL VOLTAGE REGULATOR DIODE, DO-213AA
Low Current Operation at 250??A???Low Reverse Leakage,Low Noise Zener Diode(250??A?・¥?????μ?μ?????°????????????μ?μ?????????a?£°???é???o3?o???????) 18 V, 0.5 W, SILICON, UNIDIRECTIONAL VOLTAGE REGULATOR DIODE, DO-213AA
Single Output LDO, 50mA, Fixed(1.5V), Cap Free, Low Noise, Low Input Voltage 5-SOT-23 -40 to 125 7.5 V, 0.5 W, SILICON, UNIDIRECTIONAL VOLTAGE REGULATOR DIODE, DO-213AA
Single Output LDO, 1.0A, Fixed(2.5V), Any cap, Low Input Voltage, Integrated SVS 6-SOT-223 -40 to 125 36 V, 0.5 W, SILICON, UNIDIRECTIONAL VOLTAGE REGULATOR DIODE, DO-213AA
Low Current Operation at 250??A???Low Reverse Leakage,Low Noise Zener Diode(250??A?・¥?????μ?μ?????°????????????μ?μ?????????a?£°???é???o3?o???????) 14 V, 0.5 W, SILICON, UNIDIRECTIONAL VOLTAGE REGULATOR DIODE, DO-213AA
Single Output LDO, 1.0A, Fixed(1.8V), Any cap, Low Input Voltage, Integrated SVS 6-SOT-223 62 V, 0.5 W, SILICON, UNIDIRECTIONAL VOLTAGE REGULATOR DIODE, DO-213AA
Low Current Operation at 250 ,Low Reverse Leakage,Low Noise Zener Diode 2.4 V, 0.5 W, SILICON, UNIDIRECTIONAL VOLTAGE REGULATOR DIODE, DO-213AA
Low Current Operation at 250 ,Low Reverse Leakage,Low Noise Zener Diode 4.3 V, 0.5 W, SILICON, UNIDIRECTIONAL VOLTAGE REGULATOR DIODE, DO-213AA
Low Current Operation at 250??A???Low Reverse Leakage,Low Noise Zener Diode(250??A?・¥?????μ?μ?????°????????????μ?μ?????????a?£°???é???o3?o???????) 16 V, 0.5 W, SILICON, UNIDIRECTIONAL VOLTAGE REGULATOR DIODE, DO-213AA
Low Current Operation at 250??A???Low Reverse Leakage,Low Noise Zener Diode(250??A?・¥?????μ?μ?????°????????????μ?μ?????????a?£°???é???o3?o???????) 3.3 V, 0.5 W, SILICON, UNIDIRECTIONAL VOLTAGE REGULATOR DIODE, DO-213AA
Single Output LDO, 250mA, Fixed(4.8V), Low Quiescent Current, Power Good (PG) Output 8-PDIP -40 to 125 16 V, 0.5 W, SILICON, UNIDIRECTIONAL VOLTAGE REGULATOR DIODE, DO-213AA
Single Output LDO, 250mA, Fixed(4.8V), Low Quiescent Current, Power Good (PG) Output 8-SOIC -40 to 125 16 V, 0.5 W, SILICON, UNIDIRECTIONAL VOLTAGE REGULATOR DIODE, DO-213AA
Single Output LDO, 250mA, Adjustable(1.2 to 9.75V), Low Quiescent Current, Power Good (PG) Output 8-PDIP -40 to 125 3.9 V, 0.5 W, SILICON, UNIDIRECTIONAL VOLTAGE REGULATOR DIODE, DO-213AA
Single Output LDO, 250mA, Adjustable(1.2 to 9.75V), Low Quiescent Current, Power Good (PG) Output 8-SOIC -40 to 125 3.6 V, 0.5 W, SILICON, UNIDIRECTIONAL VOLTAGE REGULATOR DIODE, DO-213AA
Single Output LDO, 250mA, Fixed(3.3V), Low Quiescent Current, Power Good (PG) Output 8-PDIP -40 to 125 14 V, 0.5 W, SILICON, UNIDIRECTIONAL VOLTAGE REGULATOR DIODE, DO-213AA
Single Output LDO, 250mA, Adjustable(1.2 to 9.75V), Low Quiescent Current, Power Good (PG) Output 8-TSSOP -40 to 125 4.3 V, 0.5 W, SILICON, UNIDIRECTIONAL VOLTAGE REGULATOR DIODE, DO-213AA
Single Output LDO, 250mA, Fixed(3.3V), Low Quiescent Current, Power Good (PG) Output 8-TSSOP -40 to 125 15 V, 0.5 W, SILICON, UNIDIRECTIONAL VOLTAGE REGULATOR DIODE, DO-213AA
Single Output LDO, 250mA, Fixed(3.0V), Low Quiescent Current, Power Good (PG) Output 8-PDIP -40 to 125 10 V, 0.5 W, SILICON, UNIDIRECTIONAL VOLTAGE REGULATOR DIODE, DO-213AA
Single Output LDO, 250mA, Fixed(5.0V), Low Quiescent Current, Power Good (PG) Output 8-PDIP -40 to 125 18 V, 0.5 W, SILICON, UNIDIRECTIONAL VOLTAGE REGULATOR DIODE, DO-213AA
Single Output LDO, 250mA, Fixed(2.5V), Low Quiescent Current, Power Good (PG) Output 8-SOIC -55 to 150 8.7 V, 0.5 W, SILICON, UNIDIRECTIONAL VOLTAGE REGULATOR DIODE, DO-213AA
Single Output LDO, 250mA, Fixed(2.5V), Low Quiescent Current, Power Good (PG) Output 8-PDIP -55 to 150 9.1 V, 0.5 W, SILICON, UNIDIRECTIONAL VOLTAGE REGULATOR DIODE, DO-213AA
Single Output LDO, 1.0A, Fixed(1.8V), Any cap, Low Input Voltage, Integrated SVS 6-SOT-223 -40 to 125
POT THUMBWHEEL 5K OHM AUDIO
MSTBW 2,5/ 4-G
RECTIFIER SCHOTTKY SINGLE 1A 70V 30A-Ifsm 0.79Vf 0.5A-IR SMA 3K/REEL
Single Output LDO, 150mA, Fixed(1.5V), Low Input Voltage Requirement, Low Quiescent Current 5-SOT-23 -40 to 125
Single Output LDO, 150mA, Fixed(1.8V), Low Input Voltage Requirement, Low Quiescent Current 5-SOT-23 -40 to 125
500 mW GLASS SURFACE MOUNT ZENER DIODES
MICROSEMI CORP-SCOTTSDALE
UltraVolt, Inc.
Microsemi, Corp.
Microsemi Corporation
BU4S584 A5800657 Standard Logic LSIs > CMOS logic BU4S Series
From old datasheet system
Single Schmitt Trigger(单施密特触发
ROHM[Rohm]
Rohm CO.,LTD.
FQS4410 FQS4410TF Single N-Channel/ Logic Level/ Power MOSFET
Single N-Channel, Logic Level, Power MOSFET
30V, N-Channel Power MOSFET
FAIRCHILD[Fairchild Semiconductor]
NTD6600N NTD6600N-1 NTD6600N-1G NTD6600NT4 NTD6600 Power MOSFET 100 V, 12 A, N−Channel, Logic Level DPAK
Power MOSFET 100 V, 12 A, N-Channel, Logic Level DPAK; Package: DPAK 4 LEAD Single Gauge Surface Mount; No of Pins: 4; Container: Tape and Reel; Qty per Container: 2500 12 A, 100 V, 0.146 ohm, N-CHANNEL, Si, POWER, MOSFET
ON Semiconductor
 
 Related keyword From Full Text Search System
612-16 enhancement 612-16 Temperature 612-16 Dual 612-16 Amplifiers 612-16 filetype:pdf
612-16 module 612-16 appreciate 612-16 Emitter 612-16 Specification 612-16 Hex
 

 

Price & Availability of 612-16

All Rights Reserved © IC-ON-LINE 2003 - 2022  

[Add Bookmark] [Contact Us] [Link exchange] [Privacy policy]
Mirror Sites :  [www.datasheet.hk]   [www.maxim4u.com]  [www.ic-on-line.cn] [www.ic-on-line.com] [www.ic-on-line.net] [www.alldatasheet.com.cn] [www.gdcy.com]  [www.gdcy.net]


 . . . . .
  We use cookies to deliver the best possible web experience and assist with our advertising efforts. By continuing to use this site, you consent to the use of cookies. For more information on cookies, please take a look at our Privacy Policy. X
0.48475098609924