Part Number Hot Search : 
EPM706B4 TEA15 IRFU5410 MV12V1AD YS64V PA104B PTZ33B1 IL2418N
Product Description
Full Text Search

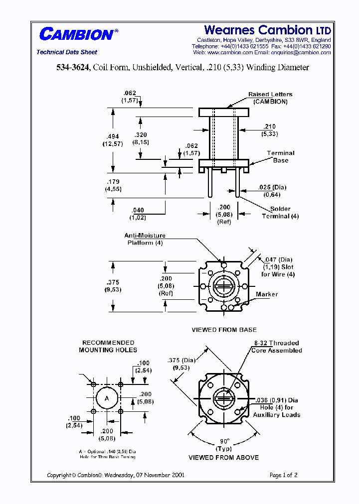
534-3624 - Coil Form, Unshielded, Vertical, .210 (5,33) Winding Diameter

534-3624_440644.PDF Datasheet


 Full text search : Coil Form, Unshielded, Vertical, .210 (5,33) Winding Diameter
 Product Description search : Coil Form, Unshielded, Vertical, .210 (5,33) Winding Diameter


 Related Part Number
PART Description Maker
534-4461 Coil Form, Unshielded, Vertical, .210 (5,33) Winding Diameter
CAMBION Electronic Components
534-3623 Coil Form, Unshielded, Vertical, .210 (5,33) Winding Diameter
CAMBION Electronic Components
534-3618 Coil Form, Unshielded, Vertical, .210 (5,33) Winding Diameter
CAMBION Electronic Components
1008R-047M 1008R-153J 1008R-102J 1008R-560K 1008R- Unshielded Surface Mount Inductors
COIL .68UH UNSHIELDED SMD 1 ELEMENT, 0.68 uH, FERRITE-CORE, GENERAL PURPOSE INDUCTOR, SMD
COIL .033UH UNSHIELDED SMD 1 ELEMENT, 0.033 uH, PHENOLIC-CORE, GENERAL PURPOSE INDUCTOR, SMD
COIL .082UH UNSHIELDED SMD 1 ELEMENT, 0.082 uH, PHENOLIC-CORE, GENERAL PURPOSE INDUCTOR, SMD
INDUCTOR UNSHIELDED 1.2UH SMD 1 ELEMENT, 1.2 uH, FERRITE-CORE, GENERAL PURPOSE INDUCTOR, SMD
COIL .22UH UNSHIELDED SMD 1 ELEMENT, 0.22 uH, FERRITE-CORE, GENERAL PURPOSE INDUCTOR, SMD
INDUCTOR UNSHIELDED 22UH SMD 1 ELEMENT, 22 uH, FERRITE-CORE, GENERAL PURPOSE INDUCTOR, SMD
INDUCTOR UNSHIELDED 47UH SMD 1 ELEMENT, 47 uH, FERRITE-CORE, GENERAL PURPOSE INDUCTOR, SMD
COIL .100UH UNSHIELDED SMD 1 ELEMENT, 0.1 uH, PHENOLIC-CORE, GENERAL PURPOSE INDUCTOR, SMD
1 ELEMENT, 0.18 uH, FERRITE-CORE, GENERAL PURPOSE INDUCTOR, SMD ROHS COMPLIANT
1 ELEMENT, 3.9 uH, FERRITE-CORE, GENERAL PURPOSE INDUCTOR, SMD ROHS COMPLIANT
COIL .047UH UNSHIELDED SMD 1 ELEMENT, 0.047 uH, PHENOLIC-CORE, GENERAL PURPOSE INDUCTOR, SMD
1 ELEMENT, 0.12 uH, FERRITE-CORE, GENERAL PURPOSE INDUCTOR, SMD ROHS COMPLIANT
INDUCTOR UNSHIELDED 5.6UH SMD 1 ELEMENT, 5.6 uH, FERRITE-CORE, GENERAL PURPOSE INDUCTOR, SMD
1 ELEMENT, 27 uH, FERRITE-CORE, GENERAL PURPOSE INDUCTOR, SMD ROHS COMPLIANT
1 ELEMENT, 0.39 uH, FERRITE-CORE, GENERAL PURPOSE INDUCTOR, SMD ROHS COMPLIANT
INDUCTOR UNSHIELDED 10UH SMD 1 ELEMENT, 10 uH, FERRITE-CORE, GENERAL PURPOSE INDUCTOR, SMD
INDUCTOR UNSHIELDED 3.3UH SMD 1 ELEMENT, 3.3 uH, FERRITE-CORE, GENERAL PURPOSE INDUCTOR, SMD
1 ELEMENT, 0.27 uH, FERRITE-CORE, GENERAL PURPOSE INDUCTOR, SMD ROHS COMPLIANT
INDUCTOR UNSHIELDED 1.5UH SMD 1 ELEMENT, 1.5 uH, FERRITE-CORE, GENERAL PURPOSE INDUCTOR, SMD
1 ELEMENT, 39 uH, FERRITE-CORE, GENERAL PURPOSE INDUCTOR, SMD ROHS COMPLIANT
COIL .012UH UNSHIELDED SMD 1 ELEMENT, 0.012 uH, PHENOLIC-CORE, GENERAL PURPOSE INDUCTOR, SMD
INDUCTOR UNSHIELDED 6.8UH SMD 1 ELEMENT, 6.8 uH, FERRITE-CORE, GENERAL PURPOSE INDUCTOR, SMD
COIL .039UH UNSHIELDED SMD 1 ELEMENT, 0.039 uH, PHENOLIC-CORE, GENERAL PURPOSE INDUCTOR, SMD
COIL .47UH UNSHIELDED SMD 1 ELEMENT, 0.47 uH, FERRITE-CORE, GENERAL PURPOSE INDUCTOR, SMD
1 ELEMENT, 2.7 uH, FERRITE-CORE, GENERAL PURPOSE INDUCTOR, SMD
COIL .82UH UNSHIELDED SMD
API Delevan
Electronic Theatre Controls, Inc.
TQ2SA-1.5V-Z TQ2SA-L-24V TQ2SS-L-24V TQ2SA-3V-Z TQ Low Profile Signal relay, 2 Form C, 2A 30VDC, SMD SA Type, Gold Contact POWER/SIGNAL RELAY, DPDT, MOMENTARY, 0.094A (COIL), 1.5VDC (COIL), 140mW (COIL), 2A (CONTACT), 220VDC (CONTACT), SURFACE MOUNT-STRAIGHT
Low Profile Signal relay, 2 Form C, 2A 30VDC, SMD SA Type, 1 Coil Latching, Gold Contact POWER/SIGNAL RELAY, DPDT, LATCHED, 0.004A (COIL), 24VDC (COIL), 100mW (COIL), 2A (CONTACT), 220VDC (CONTACT), SURFACE MOUNT-STRAIGHT
Low Profile Signal Relay, 2 Form C, 2A 30VDC 0.5A 125VAC, 1 Coil Latching, Gold Contact POWER/SIGNAL RELAY, DPDT, LATCHED, 0.004A (COIL), 24VDC (COIL), 100mW (COIL), 2A (CONTACT), 220VDC (CONTACT), SURFACE MOUNT-STRAIGHT
Low Profile Signal relay, 2 Form C, 2A 30VDC, SMD SA Type, Gold Contact POWER/SIGNAL RELAY, DPDT, MOMENTARY, 0.047A (COIL), 3VDC (COIL), 140mW (COIL), 2A (CONTACT), 220VDC (CONTACT), SURFACE MOUNT-STRAIGHT
Low Profile Signal Relay, 2 Form C, 2A 30VDC 0.5A 125VAC, 2 Coil Latching, Gold Contact POWER/SIGNAL RELAY, DPDT, LATCHED, 0.094A (COIL), 1.5VDC (COIL), 140mW (COIL), 2A (CONTACT), 220VDC (CONTACT), SURFACE MOUNT-STRAIGHT
Low Profile Signal relay, 2 Form C, 2A 30VDC, SMD SA Type, 1 Coil Latching, Gold Contact POWER/SIGNAL RELAY, DPDT, LATCHED, 0.016A (COIL), 4.5VDC (COIL), 70mW (COIL), 2A (CONTACT), 220VDC (CONTACT), SURFACE MOUNT-STRAIGHT
Low Profile Signal Relay, 2 Form C, 2A 30VDC 0.5A 125VAC, 2 Coil Latching, Gold Contact POWER/SIGNAL RELAY, DPDT, LATCHED, 0.008A (COIL), 24VDC (COIL), 200mW (COIL), 2A (CONTACT), 220VDC (CONTACT), SURFACE MOUNT-STRAIGHT
Low Profile Signal Relay, 2 Form C, 2A 30VDC 0.5A 125VAC, 1 Coil Latching, Gold Contact POWER/SIGNAL RELAY, DPDT, LATCHED, 0.023A (COIL), 3VDC (COIL), 70mW (COIL), 2A (CONTACT), 220VDC (CONTACT), SURFACE MOUNT-STRAIGHT
Low Profile Signal relay, 2 Form C, 2A 30VDC, SMD SA Type, Gold Contact POWER/SIGNAL RELAY, DPDT, MOMENTARY, 0.023A (COIL), 6VDC (COIL), 140mW (COIL), 2A (CONTACT), 220VDC (CONTACT), SURFACE MOUNT-STRAIGHT
Low Profile Signal Relay, 2 Form C, 2A 30VDC 0.5A 125VAC, 2 Coil Latching, Gold Contact POWER/SIGNAL RELAY, DPDT, LATCHED, 0.047A (COIL), 3VDC (COIL), 140mW (COIL), 2A (CONTACT), 220VDC (CONTACT), SURFACE MOUNT-STRAIGHT
Low Profile Signal Relay, 2 Form C, 2A 30VDC 0.5A 125VAC, 2 Coil Latching, Gold Contact POWER/SIGNAL RELAY, DPDT, LATCHED, 0.031A (COIL), 4.5VDC (COIL), 140mW (COIL), 2A (CONTACT), 220VDC (CONTACT), SURFACE MOUNT-STRAIGHT
Low Profile Signal Relay, 2 Form C, 2A 30VDC 0.5A 125VAC, Gold Contact POWER/SIGNAL RELAY, DPDT, MOMENTARY, 0.047A (COIL), 3VDC (COIL), 140mW (COIL), 2A (CONTACT), 220VDC (CONTACT), SURFACE MOUNT-STRAIGHT
Low Profile Signal relay, 2 Form C, 1 Form A 30VDC, PC Board Terminal Type, 1 Coil Latching, Gold Contact POWER/SIGNAL RELAY, DPDT, LATCHED, 0.017A (COIL), 6VDC (COIL), 100mW (COIL), 1A (CONTACT), 110VDC (CONTACT), THROUGH HOLE-STRAIGHT MOUNT
Low Profile Signal relay, 2 Form C, 2A 30VDC, SMD SA Type, Gold Contact POWER/SIGNAL RELAY, DPDT, MOMENTARY, 0.016A (COIL), 9VDC (COIL), 140mW (COIL), 2A (CONTACT), 220VDC (CONTACT), SURFACE MOUNT-STRAIGHT
Low Profile Signal relay, 2 Form C, 1 Form A 30VDC, PC Board Terminal Type, 1 Coil Latching, Gold Contact POWER/SIGNAL RELAY, DPDT, LATCHED, 0.022A (COIL), 4.5VDC (COIL), 100mW (COIL), 1A (CONTACT), 110VDC (CONTACT), THROUGH HOLE-STRAIGHT MOUNT
Low Profile Signal relay, 2 Form C, 1 Form A 30VDC, PC Board Terminal Type, Gold Contact POWER/SIGNAL RELAY, DPDT, MOMENTARY, 0.023A (COIL), 6VDC (COIL), 140mW (COIL), 1A (CONTACT), 110VDC (CONTACT), THROUGH HOLE-STRAIGHT MOUNT
Low Profile Signal relay, 2 Form C, 1 Form A 30VDC, PC Board Terminal Type, Gold Contact POWER/SIGNAL RELAY, DPDT, MOMENTARY, 0.031A (COIL), 4.5VDC (COIL), 140mW (COIL), 1A (CONTACT), 110VDC (CONTACT), THROUGH HOLE-STRAIGHT MOUNT
Low Profile Signal relay, 2 Form C, 1 Form A 30VDC, PC Board Terminal Type, Gold Contact POWER/SIGNAL RELAY, DPDT, MOMENTARY, 0.008A (COIL), 24VDC (COIL), 200mW (COIL), 1A (CONTACT), 110VDC (CONTACT), THROUGH HOLE-STRAIGHT MOUNT
Low Profile Signal relay, 2 Form C, 2A 30VDC, SMD SA Type, 1 Coil Latching, Gold Contact POWER/SIGNAL RELAY, DPDT, LATCHED, 0.023A (COIL), 3VDC (COIL), 70mW (COIL), 2A (CONTACT), 220VDC (CONTACT), SURFACE MOUNT-STRAIGHT
Low Profile Signal relay, 2 Form C, 1 Form A 30VDC, PC Board Terminal Type, 2 Coil Latching, Gold Contact POWER/SIGNAL RELAY, DPDT, LATCHED, 0.013A (COIL), 24VDC (COIL), 300mW (COIL), 1A (CONTACT), 110VDC (CONTACT), THROUGH HOLE-STRAIGHT MOUNT
Low Profile Signal relay, 2 Form C, 2A 30VDC, SMD SA Type, 1 Coil Latching, Gold Contact POWER/SIGNAL RELAY, DPDT, LATCHED, 0.014A (COIL), 5VDC (COIL), 70mW (COIL), 2A (CONTACT), 220VDC (CONTACT), SURFACE MOUNT-STRAIGHT
Low Profile Signal relay, 2 Form C, 2A 30VDC, SMD SA Type, Gold Contact POWER/SIGNAL RELAY, DPDT, MOMENTARY, 0.008A (COIL), 24VDC (COIL), 200mW (COIL), 2A (CONTACT), 220VDC (CONTACT), SURFACE MOUNT-STRAIGHT
Low Profile Signal Relay, 2 Form C, 2A 30VDC 0.5A 125VAC, Gold Contact POWER/SIGNAL RELAY, DPDT, MOMENTARY, 0.006A (COIL), 48VDC (COIL), 300mW (COIL), 2A (CONTACT), 220VDC (CONTACT), SURFACE MOUNT-STRAIGHT
Low Profile Signal relay, 2 Form C, 1 Form A 30VDC, PC Board Terminal Type, 2 Coil Latching, Gold Contact POWER/SIGNAL RELAY, DPDT, LATCHED, 0.04A (COIL), 5VDC (COIL), 200mW (COIL), 1A (CONTACT), 110VDC (CONTACT), THROUGH HOLE-STRAIGHT MOUNT
Low Profile Signal relay, 4 Form C, 1 Form A 30VDC, PC Board Terminal Type, 2 Coil Latching, Gold Contact POWER/SIGNAL RELAY, 4PDT, LATCHED, 0.033A (COIL), 12VDC (COIL), 400mW (COIL), 1A (CONTACT), 110VDC (CONTACT), THROUGH HOLE-STRAIGHT MOUNT
Low Profile Signal Relay, 2 Form C, 2A 30VDC 0.5A 125VAC, Gold Contact POWER/SIGNAL RELAY, DPDT, MOMENTARY, 0.008A (COIL), 24VDC (COIL), 200mW (COIL), 2A (CONTACT), 220VDC (CONTACT), SURFACE MOUNT-STRAIGHT
Low Profile Signal relay, 2 Form C, 2A 30VDC, SMD SA Type, 2 Coil Latching, Gold Contact
POWER/SIGNAL RELAY, DPDT, LATCHED, 0.006A (COIL), 12VDC (COIL), 70mW (COIL), 2A (CONTACT), 220VDC (CONTACT), SURFACE MOUNT-STRAIGHT
Low Profile Signal relay, 4 Form C, 1 Form A 30VDC, PC Board Terminal Type, 1 Coil Latching, Gold Contact
POWER/SIGNAL RELAY, DPDT, MOMENTARY, 0.022A (COIL), 9VDC (COIL), 200mW (COIL), 1A (CONTACT), 110VDC (CONTACT), THROUGH HOLE-STRAIGHT MOUNT
POWER/SIGNAL RELAY, DPDT, LATCHED, 0.008A (COIL), 9VDC (COIL), 70mW (COIL), 2A (CONTACT), 220VDC (CONTACT), SURFACE MOUNT-STRAIGHT
Panasonic, Corp.
PANASONIC CORP
126ANS-T1106Z COIL 10mH TYPE 7PA UNSHIELDED, VARIABLE INDUCTOR
TOKO, Inc.
ACT512 ACT212 ACT112 CT-relay. Ultra small automotive relay. 1 form C. Coil voltage 12 V.
CT-relay. Ultra small automotive relay. 1 form C x 2 (8 terminal type). Coil voltage 12 V.
CT-relay. Ultra small automotive relay. 1 form C x 2 (10 terminals type). Coil voltage 12 V.
Nais(Matsushita Electri...
Nais(Matsushita Electric Wo...
NAIS[Nais(Matsushita Electric Works)]
Aeroflex Circuit Technology
Matsushita Electric Works(Nais)
HP4-AC115V HP4-AC220V HP4-DC110V HP4-L-AC115V HP4- HP-relay. 10 Amp power relay. 4 form C. Coil voltage 115 V AC. Standard plug-in terminal type (without lamp wired).
HP-relay. 10 Amp power relay. 4 form C. Coil voltage 220 V AC. Standard plug-in terminal type (without lamp wired).
HP-relay. 10 Amp power relay. 4 form C. Coil voltage 110 V DC. Standard plug-in terminal type (without lamp wired).
HP-relay. 10 Amp power relay. 4 form C, neon lamp. Coil voltage 115 V AC. Standard plug-in terminal type (without lamp wired).
HP-relay. 10 Amp power relay. 4 form C, neon lamp. Coil voltage 220 V AC. Standard plug-in terminal type (without lamp wired).
HP-relay. 10 Amp power relay. 4 form C, neon lamp. Coil voltage 240 V AC. Standard plug-in terminal type (without lamp wired).
HP-relay. 10 Amp power relay. 2 form C. Coil voltage 110 V DC. Top mounting type.
HP-relay. 10 Amp power relay. 2 form C. Coil voltage 220 V AC. Top mounting type.
HP-relay. 10 Amp power relay. 2 form C. Coil voltage 240 V AC. Top mounting type.
Matsushita Electric Works(Nais)
DK1A-L2-24V DK1A-L2-9V DK1AL26VNIL DK1AL26VF DK2AL Miniature Power Relay, 1 Form A, 10A 250VAC 10A 30VDC, 2 Coil Latching POWER/SIGNAL RELAY, SPST, LATCHED, 0.008A (COIL), 24VDC (COIL), 200mW (COIL), 10A (CONTACT), 30VDC (CONTACT), THROUGH HOLE-STRAIGHT MOUNT
   10 A MINIATURE POWER RELAY
Panasonic Semiconductor
PANASONIC CORP
Panasonic, Corp.
1025R-06K 1026R-80K 1025R-10K 1025R-12K 1025R-14K Molded Unshielded RF Coils
COIL 4.7UH MOLDED UNSHIELDED 1 ELEMENT, 4.7 uH, IRON-CORE, GENERAL PURPOSE INDUCTOR
COIL 220.UH MOLDED UNSHIELDED 1 ELEMENT, 220 uH, FERRITE-CORE, GENERAL PURPOSE INDUCTOR
COIL 2.7UH MOLDED UNSHIELDED 1 ELEMENT, 2.7 uH, IRON-CORE, GENERAL PURPOSE INDUCTOR
COIL 330.UH MOLDED UNSHIELDED 1 ELEMENT, 330 uH, FERRITE-CORE, GENERAL PURPOSE INDUCTOR
1 ELEMENT, 18 uH, IRON-CORE, GENERAL PURPOSE INDUCTOR
1 ELEMENT, 47 uH, FERRITE-CORE, GENERAL PURPOSE INDUCTOR
1 ELEMENT, 56 uH, FERRITE-CORE, GENERAL PURPOSE INDUCTOR
1 ELEMENT, 2.2 uH, IRON-CORE, GENERAL PURPOSE INDUCTOR
   Molded Unshielded RF Coils
API Delevan
NL6EBX-DC110V NL6EBX-DC110V-1 NL6EBX-L2-DC110V NL6 NL-relay. 6PDT, 2 Amp, dil. relay. 6 form C. Coil voltage 110 V DC. Amber sealed type. Single side stable. Contact material: gold-clad silver.
NL-relay. 6PDT, 2 Amp, dil. relay. 6 form C. Coil voltage 110 V DC. Amber sealed type. Single side stable. Contact material: gold-cap over silver palladium.
NL-relay. 6PDT, 2 Amp, dil. relay. 6 form C. Coil voltage 110 V DC. Amber sealed type. 2 coil latching. Contact material: gold-clad silver.
NL-relay. 6PDT, 2 Amp, dil. relay. 6 form C. Coil voltage 110 V DC. Amber sealed type. 2 coil latching. Contact material: gold-cap over silver palladium.
Matsushita Electric Works(Nais)
G901CS-DC110-12 G901CS-DC110-1NIL G901CS-DC110-NIL Relay. Coil voltage 110 VDC. Mounting PCB w / Top QC. Contact form C. Covering sealed. Spacing UL873. Insulation class F.
Relay. Coil voltage 110 VDC. Mounting PCB w/ Top QC. Contact form C. Covering sealed. Spacing UL873. Insulation Std. Class B.
Relay. Coil voltage 110 VDC. Mounting PCB w/ Top QC. Contact form C. Covering sealed. Spacing STD UL508. Insulation class F.
Relay. Coil voltage 110 VDC. Mounting PCB w/ Top QC. Contact form C. Covering sealed. Spacing Std UL508. Insulation STD.classB.
Relay. Coil voltage 12 VDC. Mounting PCB w / Top QC. Contact form C. Covering sealed. Spacing UL873. Insulation class F.
Relay. Coil voltage 12 VDC. Mounting PCB w/ Top QC. Contact form C. Covering sealed. Spacing UL873. Insulation Std. Class B.
Relay. Coil voltage 12 VDC. Mounting PCB w/ Top QC. Contact form C. Covering sealed. Spacing STD UL508. Insulation class F.
Relay. Coil voltage 12 VDC. Mounting PCB w/ Top QC. Contact form C. Covering sealed. Spacing Std UL508. Insulation STD.classB.
Relay. Coil voltage 15 VDC. Mounting PCB w / Top QC. Contact form C. Covering sealed. Spacing UL873. Insulation class F.
Relay. Coil voltage 15 VDC. Mounting PCB w/ Top QC. Contact form C. Covering sealed. Spacing UL873. Insulation Std. Class B.
Relay. Coil voltage 15 VDC. Mounting PCB w/ Top QC. Contact form C. Covering sealed. Spacing STD UL508. Insulation class F.
Relay. Coil voltage 15 VDC. Mounting PCB w/ Top QC. Contact form C. Covering sealed. Spacing Std UL508. Insulation STD.classB.
Relay. Coil voltage 18 VDC. Mounting PCB w / Top QC. Contact form C. Covering sealed. Spacing UL873. Insulation class F.
Relay. Coil voltage 18 VDC. Mounting PCB w/ Top QC. Contact form C. Covering sealed. Spacing UL873. Insulation Std. Class B.
Relay. Coil voltage 18 VDC. Mounting PCB w/ Top QC. Contact form C. Covering sealed. Spacing STD UL508. Insulation class F.
Relay. Coil voltage 18 VDC. Mounting PCB w/ Top QC. Contact form C. Covering sealed. Spacing Std UL508. Insulation STD.classB.
Relay. Coil voltage 24 VDC. Mounting PCB w/ Top QC. Contact form C. Covering sealed. Spacing UL873. Insulation Std. Class B.
Relay. Coil voltage 24 VDC. Mounting PCB w/ Top QC. Contact form C. Covering sealed. Spacing STD UL508. Insulation class F.
Relay. Coil voltage 24 VDC. Mounting PCB w/ Top QC. Contact form C. Covering sealed. Spacing Std UL508. Insulation STD.classB.
Relay. Coil voltage 48 VDC. Mounting PCB w / Top QC. Contact form C. Covering sealed. Spacing UL873. Insulation class F.
Relay. Coil voltage 48 VDC. Mounting PCB w/ Top QC. Contact form C. Covering sealed. Spacing UL873. Insulation Std. Class B.
Relay. Coil voltage 48 VDC. Mounting PCB w/ Top QC. Contact form C. Covering sealed. Spacing STD UL508. Insulation class F.
Relay. Coil voltage 5 VDC. Mounting PCB w / Top QC. Contact form C. Covering sealed. Spacing UL873. Insulation class F.
Relay. Coil voltage 5 VDC. Mounting PCB w/ Top QC. Contact form C. Covering sealed. Spacing UL873. Insulation Std. Class B.
Relay. Coil voltage 5 VDC. Mounting PCB w/ Top QC. Contact form C. Covering sealed. Spacing STD UL508. Insulation class F.
Relay. Coil voltage 5 VDC. Mounting PCB w/ Top QC. Contact form C. Covering sealed. Spacing Std UL508. Insulation STD.classB.
Relay. Coil voltage 6 VDC. Mounting PCB w/ Top QC. Contact form C. Covering sealed. Spacing UL873. Insulation Std. Class B.
Relay. Coil voltage 110 VAC. Mounting PCB w / Top QC. Contact form C. Covering sealed. Spacing UL873. Insulation class F.
Relay. Coil voltage 110 VAC. Mounting PCB w/ Top QC. Contact form C. Covering sealed. Spacing UL873. Insulation Std. Class B.
Relay. Coil voltage 110 VAC. Mounting PCB w/ Top QC. Contact form C. Covering sealed. Spacing STD UL508. Insulation class F.
Relay. Coil voltage 110 VAC. Mounting PCB w/ Top QC. Contact form C. Covering sealed. Spacing STD UL508. Insulation STD. Class B.
Relay. Coil voltage 12 VAC. Mounting PCB w / Top QC. Contact form C. Covering sealed. Spacing UL873. Insulation class F.
Relay. Coil voltage 12 VAC. Mounting PCB w/ Top QC. Contact form C. Covering sealed. Spacing UL873. Insulation Std. Class B.
Relay. Coil voltage 12 VAC. Mounting PCB w/ Top QC. Contact form C. Covering sealed. Spacing STD UL508. Insulation class F.
Relay. Coil voltage 12 VAC. Mounting PCB w/ Top QC. Contact form C. Covering sealed. Spacing STD UL508. Insulation STD. Class B.
Relay. Coil voltage 220 VAC. Mounting PCB w / Top QC. Contact form C. Covering sealed. Spacing UL873. Insulation class F.
Relay. Coil voltage 220 VAC. Mounting PCB w/ Top QC. Contact form C. Covering sealed. Spacing STD UL508. Insulation class F.
Relay. Coil voltage 220 VAC. Mounting PCB w/ Top QC. Contact form C. Covering sealed. Spacing STD UL508. Insulation STD. Class B.
Relay. Coil voltage 24 VAC. Mounting PCB w / Top QC. Contact form C. Covering sealed. Spacing UL873. Insulation class F.
Relay. Coil voltage 24 VAC. Mounting PCB w/ Top QC. Contact form C. Covering sealed. Spacing UL873. Insulation Std. Class B.
Relay. Coil voltage 24 VAC. Mounting PCB w/ Top QC. Contact form C. Covering sealed. Spacing STD UL508. Insulation class F.
Relay. Coil voltage 24 VAC. Mounting PCB w/ Top QC. Contact form C. Covering sealed. Spacing STD UL508. Insulation STD. Class B.
Relay. Coil voltage 48 VAC. Mounting PCB w / Top QC. Contact form C. Covering sealed. Spacing UL873. Insulation class F.
Relay. Coil voltage 48 VAC. Mounting PCB w/ Top QC. Contact form C. Covering sealed. Spacing UL873. Insulation Std. Class B.
Relay. Coil voltage 48 VAC. Mounting PCB w/ Top QC. Contact form C. Covering sealed. Spacing STD UL508. Insulation class F.
Relay. Coil voltage 48 VAC. Mounting PCB w/ Top QC. Contact form C. Covering sealed. Spacing STD UL508. Insulation STD. Class B.
Relay. Coil voltage 12 VAC. Mounting PCB w/ Top QC. Contact form A. Covering open frame. Spacing Std UL508. Insulation STD.classB.
Relay. Coil voltage 24 VAC. Mounting PCB w/ Top QC. Contact form A. Covering open frame. Spacing Std UL508. Insulation STD.classB.
Relay. Coil voltage 18 VDC. Mounting PCB w/Top QC. Contact form A. Covering open frame. Spacing StdUL508. Insulation STD.classB.
Relay. Coil voltage 15 VDC. Mounting PCB w/Top QC. Contact form A. Covering open frame. Spacing StdUL508. Insulation STD.classB.
Relay. Coil voltag 110 VDC. Mounting PCB w/Top QC. Contact form A. Covering dust cover. Spacing Std UL508. Insulation STD.classB.
Relay. Coil voltag 12 VDC. Mounting PCB w/Top QC. Contact form A. Covering dust cover. Spacing Std UL508. Insulation STD.classB.
Relay. Coil voltag 15 VDC. Mounting PCB w/Top QC. Contact form A. Covering dust cover. Spacing Std UL508. Insulation STD.classB.
Relay. Coil voltag 24 VDC. Mounting PCB w/Top QC. Contact form A. Covering dust cover. Spacing Std UL508. Insulation STD.classB.
Relay. Coil voltag 18 VDC. Mounting PCB w/Top QC. Contact form A. Covering dust cover. Spacing Std UL508. Insulation STD.classB.
Relay. Coil voltag 48 VDC. Mounting PCB w/Top QC. Contact form A. Covering dust cover. Spacing Std UL508. Insulation STD.classB.
Relay. Coil voltag 5 VDC. Mounting PCB w/Top QC. Contact form A. Covering dust cover. Spacing Std UL508. Insulation STD.classB.
Relay. Coil voltag 6 VDC. Mounting PCB w/Top QC. Contact form A. Covering dust cover. Spacing Std UL508. Insulation STD.classB.
Relay. Coil voltag 9 VDC. Mounting PCB w/Top QC. Contact form A. Covering dust cover. Spacing Std UL508. Insulation STD.classB.
Relay. Coil voltage 110 VAC. Mounting PCB w/ Top QC. Contact form A. Covering open frame. Spacing Std UL508. Insulation STD.classB.
Relay. Coil voltage 220 VAC. Mounting PCB w/ Top QC. Contact form A. Covering open frame. Spacing Std UL508. Insulation STD.classB.
Relay. Coil voltage 48 VAC. Mounting PCB w/ Top QC. Contact form A. Covering open frame. Spacing Std UL508. Insulation STD.classB.
Relay. Coil voltage 110 VDC. Mounting PCB w/Top QC. Contact form A. Covering open frame. Spacing StdUL508. Insulation STD.classB.
Relay. Coil voltage 12 VDC. Mounting PCB w/Top QC. Contact form A. Covering open frame. Spacing StdUL508. Insulation STD.classB.
Relay. Coil voltage 12 VAC. Mounting panel w/ all QC. Contact form C. Covering dust cover. Spacing UL873. Insulation Std. Class B.
Relay. Coil voltage 12 VAC. Mounting panel w/all QC. Contact form C. Covering dust cover. Spacing STD UL508. Insulation STD. Class B.
Relay. Coil voltage 110 VAC. Mounting panel w/ all QC. Contact form C. Covering dust cover. Spacing UL873. Insulation class F.
Relay. Coil voltage 110 VAC. Mounting panel w/ all QC. Contact form C. Covering dust cover. Spacing UL873. Insulation Std. Class B.
Relay. Coil voltage 110 VAC. Mounting panel w/ all QC . Contact form C. Covering dust cover. Spacing STD UL508. Insulation class F.
Relay. Coil voltage 12 VAC. Mounting panel w/ all QC. Contact form C. Covering dust cover. Spacing UL873. Insulation class F.
Relay. Coil voltage 110 VAC. Mounting panel w/all QC. Contact form C. Covering dust cover. Spacing STD UL508. Insulation STD. Class B.
Relay. Coil voltage 110 VAC. Mounting panel w / all QC. Contact form A. Covering open frame. Spacing UL873. Insulation class F.
Relay. Coil voltage 110 VAC. Mounting panel w/ all QC. Contact form A. Covering open frame. Spacing UL873. Insulation Std. Class B.
Relay. Coil voltage 110 VAC. Mounting panel w/ all QC. Contact form A. Covering open frame. Spacing STD UL508. Insulation class F.
Relay. Coil voltage 110 VAC. Mounting panel w/ all QC. Contact form A. Covering open frame. Spacing Std UL508. Insulation STD.classB.
Relay. Coil voltage 12 VAC. Mounting panel w / all QC. Contact form A. Covering open frame. Spacing UL873. Insulation class F.
Relay. Coil voltage 12 VAC. Mounting panel w/ all QC. Contact form A. Covering open frame. Spacing UL873. Insulation Std. Class B.
Relay. Coil voltage 12 VAC. Mounting panel w/ all QC. Contact form A. Covering open frame. Spacing STD UL508. Insulation class F.
Relay. Coil voltage 12 VAC. Mounting panel w/ all QC. Contact form A. Covering open frame. Spacing Std UL508. Insulation STD.classB.
Relay. Coil voltage 220 VAC. Mounting panel w/ all QC. Contact form A. Covering open frame. Spacing UL873. Insulation Std. Class B.
Relay. Coil voltage 220 VAC. Mounting panel w/ all QC. Contact form A. Covering open frame. Spacing STD UL508. Insulation class F.
Relay. Coil voltage 220 VAC. Mounting panel w/ all QC. Contact form A. Covering open frame. Spacing Std UL508. Insulation STD.classB.
Relay. Coil voltage 24 VAC. Mounting panel w/ all QC. Contact form A. Covering open frame. Spacing UL873. Insulation Std. Class B.
Relay. Coil voltage 24 VAC. Mounting panel w/ all QC. Contact form A. Covering open frame. Spacing STD UL508. Insulation class F.
Relay. Coil voltage 24 VAC. Mounting panel w/ all QC. Contact form A. Covering open frame. Spacing Std UL508. Insulation STD.classB.
Relay. Coil voltage 48 VAC. Mounting panel w / all QC. Contact form A. Covering open frame. Spacing UL873. Insulation class F.
Relay. Coil voltage 48 VAC. Mounting panel w/ all QC. Contact form A. Covering open frame. Spacing UL873. Insulation Std. Class B.
Relay. Coil voltage 48 VAC. Mounting panel w/ all QC. Contact form A. Covering open frame. Spacing STD UL508. Insulation class F.
Relay. Coil voltage 48 VAC. Mounting panel w/ all QC. Contact form A. Covering open frame. Spacing Std UL508. Insulation STD.classB.
Relay. Coil voltage 110 VDC. Mounting panel w / all QC. Contact form A. Covering open frame. Spacing UL873. Insulation class F.
Relay. Coil voltage 110 VDC. Mounting panel w/ all QC. Contact form A. Covering open frame. Spacing UL873. Insulation Std. Class B.
Relay. Coil voltage 110 VDC. Mounting panel w/ all QC. Contact form A. Covering open frame. Spacing STD UL508. Insulation class F.
Relay. Coil voltage 110 VDC. Mounting panel w/all QC. Contact form A. Covering open frame. Spacing StdUL508. Insulation STD.classB.
Relay. Coil voltage 12 VDC. Mounting panel w / all QC. Contact form A. Covering open frame. Spacing UL873. Insulation class F.
Relay. Coil voltage 12 VDC. Mounting panel w/ all QC. Contact form A. Covering open frame. Spacing UL873. Insulation Std. Class B.
Relay. Coil voltage 12 VDC. Mounting panel w/ all QC. Contact form A. Covering open frame. Spacing STD UL508. Insulation class F.
Relay. Coil voltage 12 VDC. Mounting panel w/all QC. Contact form A. Covering open frame. Spacing StdUL508. Insulation STD.classB.
Relay. Coil voltage 15 VDC. Mounting panel w / all QC. Contact form A. Covering open frame. Spacing UL873. Insulation class F.
Relay. Coil voltage 15 VDC. Mounting panel w/ all QC. Contact form A. Covering open frame. Spacing UL873. Insulation Std. Class B.
Relay. Coil voltage 110 VAC. Mounting PCB w / Top QC. Contact form A. Covering open frame. Spacing UL873. Insulation class F.
Relay. Coil voltage 110 VAC. Mounting PCB w/ Top QC. Contact form A. Covering open frame. Spacing STD UL508. Insulation class F.
Relay. Coil voltage 12 VAC. Mounting PCB w / Top QC. Contact form A. Covering open frame. Spacing UL873. Insulation class F.
Relay. Coil voltage 12 VAC. Mounting PCB w/ Top QC. Contact form A. Covering open frame. Spacing UL873. Insulation Std. Class B.
Relay. Coil voltage 12 VAC. Mounting PCB w/ Top QC. Contact form A. Covering open frame. Spacing STD UL508. Insulation class F.
Relay. Coil voltage 220 VAC. Mounting PCB w / Top QC. Contact form A. Covering open frame. Spacing UL873. Insulation class F.
Relay. Coil voltage 220 VAC. Mounting PCB w/ Top QC. Contact form A. Covering open frame. Spacing UL873. Insulation Std. Class B.
Relay. Coil voltage 220 VAC. Mounting PCB w/ Top QC. Contact form A. Covering open frame. Spacing STD UL508. Insulation class F.
Relay. Coil voltage 24 VAC. Mounting PCB w / Top QC. Contact form A. Covering open frame. Spacing UL873. Insulation class F.
Relay. Coil voltage 24 VAC. Mounting PCB w/ Top QC. Contact form A. Covering open frame. Spacing UL873. Insulation Std. Class B.
Relay. Coil voltage 24 VAC. Mounting PCB w/ Top QC. Contact form A. Covering open frame. Spacing STD UL508. Insulation class F.
Relay. Coil voltage 48 VAC. Mounting PCB w / Top QC. Contact form A. Covering open frame. Spacing UL873. Insulation class F.
Relay. Coil voltage 48 VAC. Mounting PCB w/ Top QC. Contact form A. Covering open frame. Spacing UL873. Insulation Std. Class B.
Relay. Coil voltage 48 VAC. Mounting PCB w/ Top QC. Contact form A. Covering open frame. Spacing STD UL508. Insulation class F.
Relay. Coil voltage 110 VDC. Mounting PCB w/ Top QC. Contact form A. Covering open frame. Spacing UL873. Insulation class F.
Relay. Coil voltage 110 VDC. Mounting PCB w/ Top QC. Contact form A. Covering open frame. Spacing UL873. Insulation Std. Class B.
Relay. Coil voltage 110 VDC. Mounting PCB w/ Top QC. Contact form A. Covering open frame. Spacing STD UL508. Insulation class F.
Relay. Coil voltage 12 VDC. Mounting PCB w/ Top QC. Contact form A. Covering open frame. Spacing UL873. Insulation class F.
Relay. Coil voltage 12 VDC. Mounting PCB w/ Top QC. Contact form A. Covering open frame. Spacing UL873. Insulation Std. Class B.
Relay. Coil voltage 12 VDC. Mounting PCB w/ Top QC. Contact form A. Covering open frame. Spacing STD UL508. Insulation class F.
Relay. Coil voltage 15 VDC. Mounting PCB w/ Top QC. Contact form A. Covering open frame. Spacing UL873. Insulation class F.
Relay. Coil voltage 15 VDC. Mounting PCB w/ Top QC. Contact form A. Covering open frame. Spacing UL873. Insulation Std. Class B.
Relay. Coil voltage 110 VAC. Mounting PCB w/Top QC. Contact form A. Covering dust cover. Spacing STD UL508. Insulation STD. Class B.
Relay. Coil voltage 220 VAC. Mounting PCB w/Top QC. Contact form A. Covering dust cover. Spacing STD UL508. Insulation STD. Class B.
Relay. Coil voltage 24 VAC. Mounting PCB w/Top QC. Contact form A. Covering dust cover. Spacing STD UL508. Insulation STD. Class B.
Relay. Coil voltage 24 VDC. Mounting PCB w/Top QC. Contact form A. Covering open frame. Spacing StdUL508. Insulation STD.classB.
Relay. Coil voltage 48 VDC. Mounting PCB w/Top QC. Contact form A. Covering open frame. Spacing StdUL508. Insulation STD.classB.
Relay. Coil voltage 6 VDC. Mounting PCB w/Top QC. Contact form A. Covering open frame. Spacing StdUL508. Insulation STD.classB.
Relay. Coil voltage 9 VDC. Mounting PCB w/Top QC. Contact form A. Covering open frame. Spacing StdUL508. Insulation STD.classB.
Relay. Coil voltage 110 VAC. Mounting PCB w/ Top QC. Contact form A. Covering sealed. Spacing STD UL508. Insulation STD. Class B.
Relay. Coil voltage 48 VAC. Mounting PCB w/Top QC. Contact form A. Covering dust cover. Spacing STD UL508. Insulation STD. Class B.
Relay. Coil voltage 5 VDC. Mounting PCB w/Top QC. Contact form A. Covering open frame. Spacing StdUL508. Insulation STD.classB.
Relay. Coil voltage 5 VDC. Mounting PCB w/ Top QC. Contact form A. Covering dust cover. Spacing STD UL508. Insulation class F.
Relay. Coil voltage 5 VDC. Mounting PCB w/ Top QC. Contact form A. Covering dust cover. Spacing UL873. Insulation Std. Class B.
Relay. Coil voltage 5 VDC. Mounting PCB w/ Top QC. Contact form A. Covering open frame. Spacing STD UL508. Insulation class F.
Relay. Coil voltage 5 VDC. Mounting PCB w / Top QC. Contact form A. Covering sealed. Spacing UL873. Insulation class F.
Relay. Coil voltage 5 VDC. Mounting PCB w/ Top QC. Contact form A. Covering open frame. Spacing UL873. Insulation Std. Class B.
Relay. Coil voltage 220 VAC. Mounting PCB w/Top QC . Contact form A. Covering dust cover. Spacing STD UL508. Insulation class F.
Relay. Coil voltage 220 VAC. Mounting PCB w/Top QC . Contact form C. Covering dust cover. Spacing STD UL508. Insulation class F.
Relay. Coil voltage 12 VAC. Mounting panel w/ all QC . Contact form A. Covering dust cover. Spacing STD UL508. Insulation class F.
Relay. Coil voltage 12 VAC. Mounting PCB w/Top QC . Contact form A. Covering dust cover. Spacing STD UL508. Insulation class F.
Relay. Coil voltage 110 VAC. Mounting PCB w/Top QC . Contact form C. Covering dust cover. Spacing STD UL508. Insulation class F.
Relay. Coil voltage 12 VAC. Mounting PCB w/Top QC . Contact form C. Covering dust cover. Spacing STD UL508. Insulation class F.
Relay. Coil voltage 48 VAC. Mounting PCB w/Top QC . Contact form C. Covering dust cover. Spacing STD UL508. Insulation class F.
Relay. Coil voltage 12 VAC. Mounting panel w/ all QC . Contact form B. Covering dust cover. Spacing STD UL508. Insulation class F.
Relay. Coil voltage 220 VAC. Mounting panel w/ all QC . Contact form B. Covering dust cover. Spacing STD UL508. Insulation class F.
Relay. Coil voltage 110 VAC. Mounting panel w/ all QC. Contact form B. Covering open frame. Spacing Std UL508. Insulation STD.classB.
Relay. Coil voltage 220 VAC. Mounting panel w/ all QC. Contact form B. Covering open frame. Spacing Std UL508. Insulation STD.classB.
Relay. Coil voltage 110 VDC. Mounting panel w/all QC. Contact form B. Covering open frame. Spacing StdUL508. Insulation STD.classB.
Relay. Coil voltage 12 VAC. Mounting PCB w/ Top QC. Contact form B. Covering open frame. Spacing Std UL508. Insulation STD.classB.
Relay. Coil voltage 220 VAC. Mounting PCB w / Top QC. Contact form B. Covering open frame. Spacing UL873. Insulation class F.
Relay. Coil voltage 24 VAC. Mounting PCB w/ Top QC. Contact form B. Covering open frame. Spacing STD UL508. Insulation class F.
Relay. Coil voltage 24 VAC. Mounting PCB w/ Top QC. Contact form B. Covering open frame. Spacing Std UL508. Insulation STD.classB.
Relay. Coil voltage 48 VAC. Mounting PCB w/ Top QC. Contact form B. Covering open frame. Spacing Std UL508. Insulation STD.classB.
Relay. Coil voltage 110 VDC. Mounting PCB. Contact form A. Covering dust cover. Spacing STD UL508. Insulation class F.
Relay. Coil voltage 220 VAC. Mounting PCB . Contact form A. Covering dust cover. Spacing STD UL508. Insulation class F.
Relay. Coil voltage 110 VAC. Mounting PCB. Contact form A. Covering dust cover. Spacing UL873. Insulation Std. Class B.
Relay. Coil voltage 110 VAC. Mounting PCB. Contact form A. Covering dust cover. Spacing Std UL508. Insulation STD.classB.
Relay. Coil voltage 110 VDC. Mounting PCB. Contact form A. Covering dust cover. Spacing UL873. Insulation class F.
Relay. Coil voltage 110 VDC. Mounting PCB. Contact form A. Covering dust cover. Spacing UL873. Insulation Std. Class B.
Relay. Coil voltage 110 VAC. Mounting PCB . Contact form A. Covering dust cover. Spacing STD UL508. Insulation class F.
Relay. Coil voltage 220 VAC. Mounting PCB. Contact form A. Covering dust cover. Spacing Std UL508. Insulation STD.classB.
Relay. Coil voltage 110 VDC. Mounting PCB. Contact form A. Covering dust cover. Spacing Std UL508. Insulation STD.classB.
Relay. Coil voltage 110 VAC. Mounting PCB. Contact form A. Covering dust cover. Spacing UL873. Insulation class F.
Relay. Coil voltage 220 VAC. Mounting PCB. Contact form A. Covering dust cover. Spacing UL873. Insulation Std. Class B.
Relay. Coil voltage 220 VAC. Mounting PCB. Contact form A. Covering dust cover. Spacing UL873. Insulation class F.
Relay. Coil voltage 110 VAC. Mounting PCB. Contact form A. Covering open from. Spacing STD UL508. Insulation class F.
Relay. Coil voltage 220 VAC. Mounting PCB. Contact form A. Covering open frame. Spacing UL873. Insulation class F.
Relay. Coil voltage 220 VAC. Mounting PCB. Contact form A. Covering open frame. Spacing Std UL508. Insulation STD.classB.
Relay. Coil voltage 110 VDC. Mounting PCB. Contact form A. Covering open frame. Spacing UL873. Insulation class F.
Relay. Coil voltage 220 VAC. Mounting PCB w / Top QC. Contact form A. Covering dust cover. Spacing UL873. Insulation class F.
Relay. Coil voltage 220 VAC. Mounting PCB w/ Top QC. Contact form A. Covering dust cover. Spacing UL873. Insulation Std. Class B.
Global Components & Controls
 
 Related keyword From Full Text Search System
534-3624 technology 534-3624 Power 534-3624 corp 534-3624 receiver 534-3624 file
534-3624 Protect 534-3624 Rail 534-3624 marking code 534-3624 availability 534-3624 control
 

 

Price & Availability of 534-3624

All Rights Reserved © IC-ON-LINE 2003 - 2022  

[Add Bookmark] [Contact Us] [Link exchange] [Privacy policy]
Mirror Sites :  [www.datasheet.hk]   [www.maxim4u.com]  [www.ic-on-line.cn] [www.ic-on-line.com] [www.ic-on-line.net] [www.alldatasheet.com.cn] [www.gdcy.com]  [www.gdcy.net]


 . . . . .
  We use cookies to deliver the best possible web experience and assist with our advertising efforts. By continuing to use this site, you consent to the use of cookies. For more information on cookies, please take a look at our Privacy Policy. X
0.3043520450592