Part Number Hot Search : 
LH32240 SEMIX KRC108M CMDZ27L 42376 LL414 SA110 ZN429D
Product Description
Full Text Search

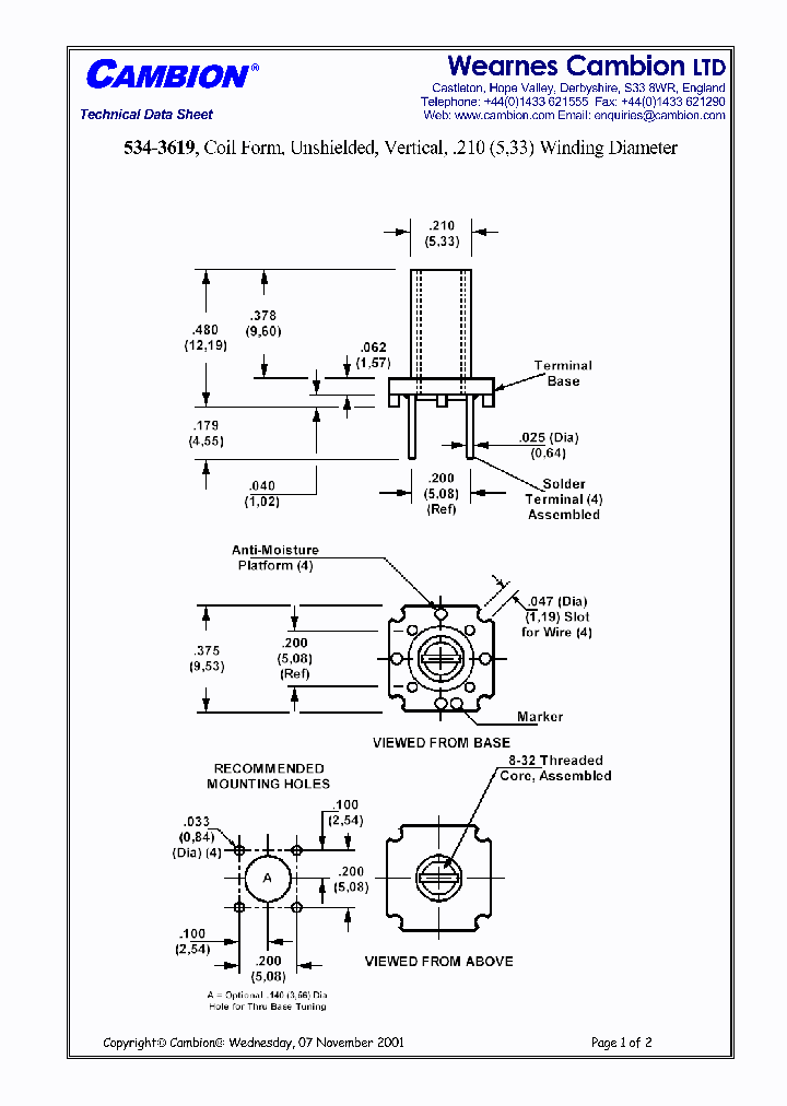
534-3619 - Coil Form, Unshielded, Vertical, .210 (5,33) Winding Diameter

534-3619_440642.PDF Datasheet


 Full text search : Coil Form, Unshielded, Vertical, .210 (5,33) Winding Diameter
 Product Description search : Coil Form, Unshielded, Vertical, .210 (5,33) Winding Diameter


 Related Part Number
PART Description Maker
556-7105 556-7105-22-00-00 556-7105-08-00-00 556-7 Variable Coil, Unshielded, Vertical, .090μH thru 1.05mΗ
UNSHIELDED, 5.02 uH - 6.2 uH, VARIABLE INDUCTOR
UNSHIELDED, 0.352 uH - 0.431 uH, VARIABLE INDUCTOR
UNSHIELDED, 0.09 uH - 0.11 uH, VARIABLE INDUCTOR
CAMBION Electronic Components
WEARNES CAMBION LTD
1812R-562J 1812R-184J 1812-181K 1812-561K 1812R-22 INDUCTOR UNSHIELDED 5.6UH SMD 1 ELEMENT, 5.6 uH, FERRITE-CORE, GENERAL PURPOSE INDUCTOR, SMD
INDUCTOR UNSHIELDED 180UH SMD 1 ELEMENT, 180 uH, FERRITE-CORE, GENERAL PURPOSE INDUCTOR, SMD
COIL .18UH UNSHIELDED SMD 1 ELEMENT, 0.18 uH, IRON-CORE, GENERAL PURPOSE INDUCTOR, SMD
COIL .56UH UNSHIELDED SMD 1 ELEMENT, 0.56 uH, IRON-CORE, GENERAL PURPOSE INDUCTOR, SMD
COIL .22UH UNSHIELDED SMD 1 ELEMENT, 0.22 uH, IRON-CORE, GENERAL PURPOSE INDUCTOR, SMD
INDUCTOR UNSHIELDED 470UH SMD 1 ELEMENT, 470 uH, FERRITE-CORE, GENERAL PURPOSE INDUCTOR, SMD
API Delevan
ARE13A03Z 2.6GHz Relay, 1 Form C, 0.5A 30VDC Relay, 75ohms, SMD RF RELAY, SPDT, MOMENTARY, 0.067A (COIL), 3VDC (COIL), 200mW (COIL), 0.01A (CONTACT), 24VDC (CONTACT), 2600MHz, SURFACE MOUNT-STRAIGHT
Panasonic, Corp.
TQ2SA-1.5V-Z TQ2SA-L-24V TQ2SS-L-24V TQ2SA-3V-Z TQ Low Profile Signal relay, 2 Form C, 2A 30VDC, SMD SA Type, Gold Contact POWER/SIGNAL RELAY, DPDT, MOMENTARY, 0.094A (COIL), 1.5VDC (COIL), 140mW (COIL), 2A (CONTACT), 220VDC (CONTACT), SURFACE MOUNT-STRAIGHT
Low Profile Signal relay, 2 Form C, 2A 30VDC, SMD SA Type, 1 Coil Latching, Gold Contact POWER/SIGNAL RELAY, DPDT, LATCHED, 0.004A (COIL), 24VDC (COIL), 100mW (COIL), 2A (CONTACT), 220VDC (CONTACT), SURFACE MOUNT-STRAIGHT
Low Profile Signal Relay, 2 Form C, 2A 30VDC 0.5A 125VAC, 1 Coil Latching, Gold Contact POWER/SIGNAL RELAY, DPDT, LATCHED, 0.004A (COIL), 24VDC (COIL), 100mW (COIL), 2A (CONTACT), 220VDC (CONTACT), SURFACE MOUNT-STRAIGHT
Low Profile Signal relay, 2 Form C, 2A 30VDC, SMD SA Type, Gold Contact POWER/SIGNAL RELAY, DPDT, MOMENTARY, 0.047A (COIL), 3VDC (COIL), 140mW (COIL), 2A (CONTACT), 220VDC (CONTACT), SURFACE MOUNT-STRAIGHT
Low Profile Signal Relay, 2 Form C, 2A 30VDC 0.5A 125VAC, 2 Coil Latching, Gold Contact POWER/SIGNAL RELAY, DPDT, LATCHED, 0.094A (COIL), 1.5VDC (COIL), 140mW (COIL), 2A (CONTACT), 220VDC (CONTACT), SURFACE MOUNT-STRAIGHT
Low Profile Signal relay, 2 Form C, 2A 30VDC, SMD SA Type, 1 Coil Latching, Gold Contact POWER/SIGNAL RELAY, DPDT, LATCHED, 0.016A (COIL), 4.5VDC (COIL), 70mW (COIL), 2A (CONTACT), 220VDC (CONTACT), SURFACE MOUNT-STRAIGHT
Low Profile Signal Relay, 2 Form C, 2A 30VDC 0.5A 125VAC, 2 Coil Latching, Gold Contact POWER/SIGNAL RELAY, DPDT, LATCHED, 0.008A (COIL), 24VDC (COIL), 200mW (COIL), 2A (CONTACT), 220VDC (CONTACT), SURFACE MOUNT-STRAIGHT
Low Profile Signal Relay, 2 Form C, 2A 30VDC 0.5A 125VAC, 1 Coil Latching, Gold Contact POWER/SIGNAL RELAY, DPDT, LATCHED, 0.023A (COIL), 3VDC (COIL), 70mW (COIL), 2A (CONTACT), 220VDC (CONTACT), SURFACE MOUNT-STRAIGHT
Low Profile Signal relay, 2 Form C, 2A 30VDC, SMD SA Type, Gold Contact POWER/SIGNAL RELAY, DPDT, MOMENTARY, 0.023A (COIL), 6VDC (COIL), 140mW (COIL), 2A (CONTACT), 220VDC (CONTACT), SURFACE MOUNT-STRAIGHT
Low Profile Signal Relay, 2 Form C, 2A 30VDC 0.5A 125VAC, 2 Coil Latching, Gold Contact POWER/SIGNAL RELAY, DPDT, LATCHED, 0.047A (COIL), 3VDC (COIL), 140mW (COIL), 2A (CONTACT), 220VDC (CONTACT), SURFACE MOUNT-STRAIGHT
Low Profile Signal Relay, 2 Form C, 2A 30VDC 0.5A 125VAC, 2 Coil Latching, Gold Contact POWER/SIGNAL RELAY, DPDT, LATCHED, 0.031A (COIL), 4.5VDC (COIL), 140mW (COIL), 2A (CONTACT), 220VDC (CONTACT), SURFACE MOUNT-STRAIGHT
Low Profile Signal Relay, 2 Form C, 2A 30VDC 0.5A 125VAC, Gold Contact POWER/SIGNAL RELAY, DPDT, MOMENTARY, 0.047A (COIL), 3VDC (COIL), 140mW (COIL), 2A (CONTACT), 220VDC (CONTACT), SURFACE MOUNT-STRAIGHT
Low Profile Signal relay, 2 Form C, 1 Form A 30VDC, PC Board Terminal Type, 1 Coil Latching, Gold Contact POWER/SIGNAL RELAY, DPDT, LATCHED, 0.017A (COIL), 6VDC (COIL), 100mW (COIL), 1A (CONTACT), 110VDC (CONTACT), THROUGH HOLE-STRAIGHT MOUNT
Low Profile Signal relay, 2 Form C, 2A 30VDC, SMD SA Type, Gold Contact POWER/SIGNAL RELAY, DPDT, MOMENTARY, 0.016A (COIL), 9VDC (COIL), 140mW (COIL), 2A (CONTACT), 220VDC (CONTACT), SURFACE MOUNT-STRAIGHT
Low Profile Signal relay, 2 Form C, 1 Form A 30VDC, PC Board Terminal Type, 1 Coil Latching, Gold Contact POWER/SIGNAL RELAY, DPDT, LATCHED, 0.022A (COIL), 4.5VDC (COIL), 100mW (COIL), 1A (CONTACT), 110VDC (CONTACT), THROUGH HOLE-STRAIGHT MOUNT
Low Profile Signal relay, 2 Form C, 1 Form A 30VDC, PC Board Terminal Type, Gold Contact POWER/SIGNAL RELAY, DPDT, MOMENTARY, 0.023A (COIL), 6VDC (COIL), 140mW (COIL), 1A (CONTACT), 110VDC (CONTACT), THROUGH HOLE-STRAIGHT MOUNT
Low Profile Signal relay, 2 Form C, 1 Form A 30VDC, PC Board Terminal Type, Gold Contact POWER/SIGNAL RELAY, DPDT, MOMENTARY, 0.031A (COIL), 4.5VDC (COIL), 140mW (COIL), 1A (CONTACT), 110VDC (CONTACT), THROUGH HOLE-STRAIGHT MOUNT
Low Profile Signal relay, 2 Form C, 1 Form A 30VDC, PC Board Terminal Type, Gold Contact POWER/SIGNAL RELAY, DPDT, MOMENTARY, 0.008A (COIL), 24VDC (COIL), 200mW (COIL), 1A (CONTACT), 110VDC (CONTACT), THROUGH HOLE-STRAIGHT MOUNT
Low Profile Signal relay, 2 Form C, 2A 30VDC, SMD SA Type, 1 Coil Latching, Gold Contact POWER/SIGNAL RELAY, DPDT, LATCHED, 0.023A (COIL), 3VDC (COIL), 70mW (COIL), 2A (CONTACT), 220VDC (CONTACT), SURFACE MOUNT-STRAIGHT
Low Profile Signal relay, 2 Form C, 1 Form A 30VDC, PC Board Terminal Type, 2 Coil Latching, Gold Contact POWER/SIGNAL RELAY, DPDT, LATCHED, 0.013A (COIL), 24VDC (COIL), 300mW (COIL), 1A (CONTACT), 110VDC (CONTACT), THROUGH HOLE-STRAIGHT MOUNT
Low Profile Signal relay, 2 Form C, 2A 30VDC, SMD SA Type, 1 Coil Latching, Gold Contact POWER/SIGNAL RELAY, DPDT, LATCHED, 0.014A (COIL), 5VDC (COIL), 70mW (COIL), 2A (CONTACT), 220VDC (CONTACT), SURFACE MOUNT-STRAIGHT
Low Profile Signal relay, 2 Form C, 2A 30VDC, SMD SA Type, Gold Contact POWER/SIGNAL RELAY, DPDT, MOMENTARY, 0.008A (COIL), 24VDC (COIL), 200mW (COIL), 2A (CONTACT), 220VDC (CONTACT), SURFACE MOUNT-STRAIGHT
Low Profile Signal Relay, 2 Form C, 2A 30VDC 0.5A 125VAC, Gold Contact POWER/SIGNAL RELAY, DPDT, MOMENTARY, 0.006A (COIL), 48VDC (COIL), 300mW (COIL), 2A (CONTACT), 220VDC (CONTACT), SURFACE MOUNT-STRAIGHT
Low Profile Signal relay, 2 Form C, 1 Form A 30VDC, PC Board Terminal Type, 2 Coil Latching, Gold Contact POWER/SIGNAL RELAY, DPDT, LATCHED, 0.04A (COIL), 5VDC (COIL), 200mW (COIL), 1A (CONTACT), 110VDC (CONTACT), THROUGH HOLE-STRAIGHT MOUNT
Low Profile Signal relay, 4 Form C, 1 Form A 30VDC, PC Board Terminal Type, 2 Coil Latching, Gold Contact POWER/SIGNAL RELAY, 4PDT, LATCHED, 0.033A (COIL), 12VDC (COIL), 400mW (COIL), 1A (CONTACT), 110VDC (CONTACT), THROUGH HOLE-STRAIGHT MOUNT
Low Profile Signal Relay, 2 Form C, 2A 30VDC 0.5A 125VAC, Gold Contact POWER/SIGNAL RELAY, DPDT, MOMENTARY, 0.008A (COIL), 24VDC (COIL), 200mW (COIL), 2A (CONTACT), 220VDC (CONTACT), SURFACE MOUNT-STRAIGHT
Low Profile Signal relay, 2 Form C, 2A 30VDC, SMD SA Type, 2 Coil Latching, Gold Contact
POWER/SIGNAL RELAY, DPDT, LATCHED, 0.006A (COIL), 12VDC (COIL), 70mW (COIL), 2A (CONTACT), 220VDC (CONTACT), SURFACE MOUNT-STRAIGHT
Low Profile Signal relay, 4 Form C, 1 Form A 30VDC, PC Board Terminal Type, 1 Coil Latching, Gold Contact
POWER/SIGNAL RELAY, DPDT, MOMENTARY, 0.022A (COIL), 9VDC (COIL), 200mW (COIL), 1A (CONTACT), 110VDC (CONTACT), THROUGH HOLE-STRAIGHT MOUNT
POWER/SIGNAL RELAY, DPDT, LATCHED, 0.008A (COIL), 9VDC (COIL), 70mW (COIL), 2A (CONTACT), 220VDC (CONTACT), SURFACE MOUNT-STRAIGHT
Panasonic, Corp.
PANASONIC CORP
HJ2-L-AC200V-6 HJ2-L-AC200V-R HJ2-L-AC100V HJ2-L-A HJ-relay. Miniature relay for wide applications. Au plating type. Plug-in type (with LED indication). 2 form C. Coil voltage 200 V AC.
HJ-relay. Miniature relay for wide applications. Without Au plating type. Plug-in type (with CR and LED indication). 2 form C. Coil voltage 200 V AC.
HJ-relay. Miniature relay for wide applications. Without Au plating type. Plug-in type (with LED indication). 2 form C. Coil voltage 100 V AC.
HJ-relay. Miniature relay for wide applications. Au plating type. Plug-in type (with LED indication). 2 form C. Coil voltage 220/240 V AC.
HJ-relay. Miniature relay for wide applications. Au plating type. Plug-in type (with CR). 2 form C. Coil voltage 100 V AC.
HJ-relay. Miniature relay for wide applications. Au plating type. Plug-in type (with CR). 2 form C. Coil voltage 200 V AC.
HJ-relay. Miniature relay for wide applications. Au plating type. Plug-in type (with CR). 2 form C. Coil voltage 120 V AC.
HJ-relay. Miniature relay for wide applications. Au plating type. Plug-in type. 4 form C. Coil voltage 120 V AC.
HJ-relay. Miniature relay for wide applications. Au plating type. Plug-in type (with CR). 4 form C. Coil voltage 220/240 V AC.
HJ-relay. Miniature relay for wide applications. Without Au plating type. Plug-in type (with CR). 4 form C. Coil voltage 100 V AC.
HJ-relay. Miniature relay for wide applications. Au plating type. Plug-in type (with CR). 4 form C. Coil voltage 100 V AC.
HJ-relay. Miniature relay for wide applications. Without Au plating type. Plug-in type. 2 form C. Coil voltage 100 V AC.
HJ-relay. Miniature relay for wide applications. Without Au plating type. Plug-in type (with CR). 2 form C. Coil voltage 120 V AC.
HJ-relay. Miniature relay for wide applications. Au plating type. Plug-in type. 2 form C. Coil voltage 120 V AC.
HJ-relay. Miniature relay for wide applications. Au plating type. Plug-in type. 2 form C. Coil voltage 200 V AC.
HJ-relay. Miniature relay for wide applications. Without Au plating type. Plug-in type. 2 form C. Coil voltage 220/240 V AC.
HJ-relay. Miniature relay for wide applications. Without Au plating type. Plug-in type (with CR). 2 form C. Coil voltage 220/240 V AC.
HJ-relay. Miniature relay for wide applications. Without Au plating type. Plug-in type (with diode). 2 form C. Coil voltage 110 V DC.
HJ-relay. Miniature relay for wide applications. Without Au plating type. Plug-in type (with CR). 2 form C. Coil voltage 100 V AC.
HJ-relay. Miniature relay for wide applications. Without Au plating type. Plug-in type. 2 form C. Coil voltage 120 V AC.
HJ-relay. Miniature relay for wide applications. Without Au plating type. Plug-in type. 2 form C. Coil voltage 200 V AC.
HJ-relay. Miniature relay for wide applications. Without Au plating type. Plug-in type (with CR). 2 form C. Coil voltage 200 V AC.
HJ-relay. Miniature relay for wide applications. Au plating type. Plug-in type. 2 form C. Coil voltage 220/240 V AC.
HJ-relay. Miniature relay for wide applications. Au plating type. Plug-in type. 2 form C. Coil voltage 110 V DC.
HJ-relay. Miniature relay for wide applications. Au plating type. Plug-in type (with diode). 2 form C. Coil voltage 110 V DC.
Matsushita Electric Works(Nais)
ACT512 ACT212 ACT112 CT-relay. Ultra small automotive relay. 1 form C. Coil voltage 12 V.
CT-relay. Ultra small automotive relay. 1 form C x 2 (8 terminal type). Coil voltage 12 V.
CT-relay. Ultra small automotive relay. 1 form C x 2 (10 terminals type). Coil voltage 12 V.
Nais(Matsushita Electri...
Nais(Matsushita Electric Wo...
NAIS[Nais(Matsushita Electric Works)]
Aeroflex Circuit Technology
Matsushita Electric Works(Nais)
DK1A-L2-24V DK1A-L2-9V DK1AL26VNIL DK1AL26VF DK2AL Miniature Power Relay, 1 Form A, 10A 250VAC 10A 30VDC, 2 Coil Latching POWER/SIGNAL RELAY, SPST, LATCHED, 0.008A (COIL), 24VDC (COIL), 200mW (COIL), 10A (CONTACT), 30VDC (CONTACT), THROUGH HOLE-STRAIGHT MOUNT
   10 A MINIATURE POWER RELAY
Panasonic Semiconductor
PANASONIC CORP
Panasonic, Corp.
HE2AN-S-DC6V HE2AN-SW-DC12C HE1AN-SW-DC12C HE1AN-P POWER/SIGNAL RELAY, SPST, MOMENTARY, 0.321A (COIL), 6VDC (COIL), 1920mW (COIL), 30A (CONTACT), 30VDC (CONTACT), PANEL MOUNT
POWER/SIGNAL RELAY, SPST, MOMENTARY, 0.04A (COIL), 48VDC (COIL), 1920mW (COIL), 30A (CONTACT), 30VDC (CONTACT), PANEL MOUNT
TV-15, 30 AMP (1 Form A) Power Relay
POWER/SIGNAL RELAY, SPST, MOMENTARY, 0.018A (COIL), 100VDC (COIL), 1920mW (COIL), 30A (CONTACT), 30VDC (CONTACT), PANEL MOUNT
POWER/SIGNAL RELAY, SPST, MOMENTARY, 0.08A (COIL), 24VDC (COIL), 1920mW (COIL), 30A (CONTACT), 30VDC (CONTACT), PANEL MOUNT
From old datasheet system
Amphenol, Corp.
Panasonic, Corp.
PANASONIC ELECTRIC WORKS CORP OF AMERICA
DR3W912 DR3W810 COIL FORM IS ALSO AVAILBLE FOR ABOVE TYPES
YUXIANG Magnetc materials Ind. Co., Ltd.
533-3742 Coil Form, Shielded, Vertical, .190 (4,83) Winding Diameter
CAMBION Electronic Components
HF9516-028L-22-1 HF9516-028L-22-2 HF9516-028L-24-1 1 CUBIC INCH 3 FORM C HERMETICALLY SEALED RELAY WITH COIL TRANSIENT SUPPRESSION
Hongfa Technology
ASX20009 ASX20012 ASX2001H ASX20003 ASX20006 ASX22 SX-relay. High sensitivity relay with guaranteed low level switching capacity. 2 form C. Surface-mount terminal. 1 coil latching. Tube packing. Coil rating 24 V DC.
SX-relay. High sensitivity relay with guaranteed low level switching capacity. 2 form C. Surface-mount terminal. 1 coil latching. Tape and reel packing. Coil rating 6 V DC.
SX-relay. High sensitivity relay with guaranteed low level switching capacity. 2 form C. Standard PC board terminal. 1 coil latching. Coil rating 6 V DC.
SX-relay. High sensitivity relay with guaranteed low level switching capacity. 2 form C. Surface-mount terminal. 1 coil latching. Tube packing. Coil rating 3 V DC.
SX-relay. High sensitivity relay with guaranteed low level switching capacity. 2 form C. Standard PC board terminal. 1 coil latching. Coil rating 12 V DC.
SX-relay. High sensitivity relay with guaranteed low level switching capacity. 2 form C. Surface-mount terminal. 1 coil latching. Tape and reel packing. Coil rating 1.5 V DC.
SX-relay. High sensitivity relay with guaranteed low level switching capacity. 2 form C. Surface-mount terminal. 1 coil latching. Tube packing. Coil rating 6 V DC.
SX-relay. High sensitivity relay with guaranteed low level switching capacity. 2 form C. Standard PC board terminal. 1 coil latching. Coil rating 24 V DC.
SX-relay. High sensitivity relay with guaranteed low level switching capacity. 2 form C. Standard PC board terminal. Single side stable. Coil rating 12 V DC.
SX-relay. High sensitivity relay with guaranteed low level switching capacity. 2 form C. Surface-mount terminal. Single side stable. Tube packing. Coil rating 3 V DC.
SX-relay. High sensitivity relay with guaranteed low level switching capacity. 2 form C. Surface-mount terminal. Single side stable. Tube packing. Coil rating 9 V DC.
SX-relay. High sensitivity relay with guaranteed low level switching capacity. 2 form C. Surface-mount terminal. Single side stable. Tape and reel packing. Coil rating 24 V DC.
SX-relay. High sensitivity relay with guaranteed low level switching capacity. 2 form C. Surface-mount terminal. Single side stable. Tube packing. Coil rating 24 V DC.
SX-relay. High sensitivity relay with guaranteed low level switching capacity. 2 form C. Surface-mount terminal. Single side stable. Tape and reel packing. Coil rating 1.5 V DC.
SX-relay. High sensitivity relay with guaranteed low level switching capacity. 2 form C. Surface-mount terminal. Single side stable. Tube packing. Coil rating 1.5 V DC.
SX-relay. High sensitivity relay with guaranteed low level switching capacity. 2 form C. Surface-mount terminal. Single side stable. Tape and reel packing. Coil rating 12 V DC.
SX-relay. High sensitivity relay with guaranteed low level switching capacity. 2 form C. Surface-mount terminal. Single side stable. Tube packing. Coil rating 12 V DC.
SX-relay. High sensitivity relay with guaranteed low level switching capacity. 2 form C. Surface-mount terminal. Single side stable. Tape and reel packing. Coil rating 9 V DC.
SX-relay. High sensitivity relay with guaranteed low level switching capacity. 2 form C. Surface-mount terminal. Single side stable. Tube packing. Coil rating 6 V DC.
SX-relay. High sensitivity relay with guaranteed low level switching capacity. 2 form C. Surface-mount terminal. Single side stable. Tape and reel packing. Coil rating 3 V DC.
SX-relay. High sensitivity relay with guaranteed low level switching capacity. 2 form C. Standard PC board terminal. Single side stable. Coil rating 4.5 V DC.
SX-relay. High sensitivity relay with guaranteed low level switching capacity. 2 form C. Standard PC board terminal. Single side stable. Coil rating 24 V DC.
SX-relay. High sensitivity relay with guaranteed low level switching capacity. 2 form C. Standard PC board terminal. Single side stable. Coil rating 1.5 V DC.
SX-relay. High sensitivity relay with guaranteed low level switching capacity. 2 form C. Standard PC board terminal. Single side stable. Coil rating 9 V DC.
SX-relay. High sensitivity relay with guaranteed low level switching capacity. 2 form C. Standard PC board terminal. Single side stable. Coil rating 6 V DC.
SX-relay. High sensitivity relay with guaranteed low level switching capacity. 2 form C. Standard PC board terminal. Single side stable. Coil rating 3 V DC.
SX-relay. High sensitivity relay with guaranteed low level switching capacity. 2 form C. Surface-mount terminal. Single side stable. Tape and reel packing. Coil rating 6 V DC.
HIGH SENSITIVITY RELAY WITH GUARANTEED LOW LEVEL SWITCHING CAPACITY 高灵敏度继电器低级交换机容量有保
SX-relay. High sensitivity relay with guaranteed low level switching capacity. 2 form C. Surface-mount terminal. 1 coil latching. Tape and reel packing. Coil rating 24 V DC.
SX-relay. High sensitivity relay with guaranteed low level switching capacity. 2 form C. Surface-mount terminal. 1 coil latching. Tube packing. Coil rating 9 V DC.
SX-relay. High sensitivity relay with guaranteed low level switching capacity. 2 form C. Standard PC board terminal. 1 coil latching. Coil rating 9 V DC.
SX-relay. High sensitivity relay with guaranteed low level switching capacity. 2 form C. Surface-mount terminal. 1 coil latching. Tube packing. Coil rating 1.5 V DC.
SX-relay. High sensitivity relay with guaranteed low level switching capacity. 2 form C. Standard PC board terminal. 1 coil latching. Coil rating 3 V DC.
SX-relay. High sensitivity relay with guaranteed low level switching capacity. 2 form C. Surface-mount terminal. 1 coil latching. Tape and reel packing. Coil rating 3 V DC.
SX-relay. High sensitivity relay with guaranteed low level switching capacity. 2 form C. Surface-mount terminal. 1 coil latching. Tape and reel packing. Coil rating 12 V DC.
SX-relay. High sensitivity relay with guaranteed low level switching capacity. 2 form C. Standard PC board terminal. 1 coil latching. Coil rating 1.5 V DC.
SX-relay. High sensitivity relay with guaranteed low level switching capacity. 2 form C. Surface-mount terminal. Single side stable. Tape and reel packing. Coil rating 4.5 V DC.
Matsushita Electric Works(Nais)
AME, Inc.
Panasonic, Corp.
NAIS[Nais(Matsushita Electric Works)]
Nais(Matsushita Electric Wo...
 
 Related keyword From Full Text Search System
534-3619 Semiconductors 534-3619 Technique 534-3619 intersil 534-3619 reset 534-3619 Register
534-3619 tdma modulator 534-3619 memory 534-3619 upload 534-3619 bridge 534-3619 appreciate
 

 

Price & Availability of 534-3619

All Rights Reserved © IC-ON-LINE 2003 - 2022  

[Add Bookmark] [Contact Us] [Link exchange] [Privacy policy]
Mirror Sites :  [www.datasheet.hk]   [www.maxim4u.com]  [www.ic-on-line.cn] [www.ic-on-line.com] [www.ic-on-line.net] [www.alldatasheet.com.cn] [www.gdcy.com]  [www.gdcy.net]


 . . . . .
  We use cookies to deliver the best possible web experience and assist with our advertising efforts. By continuing to use this site, you consent to the use of cookies. For more information on cookies, please take a look at our Privacy Policy. X
0.37968993186951