Part Number Hot Search : 
UD3014 BO12864E HV9105PJ VSR100 06031 CPDUR24V 20247 CYM9263
Product Description
Full Text Search

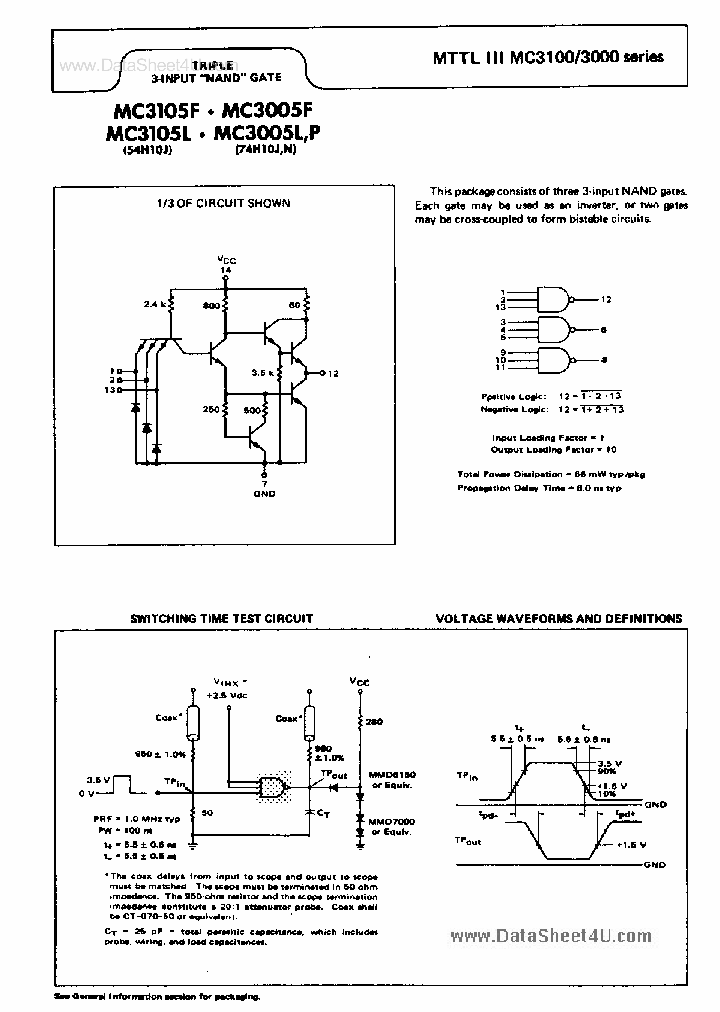
MC3005F - (MC3105 / MC3005) Triple 3-Input NAND Gate

MC3005F_153809.PDF Datasheet


 Full text search : (MC3105 / MC3005) Triple 3-Input NAND Gate
 Product Description search : (MC3105 / MC3005) Triple 3-Input NAND Gate


 Related Part Number
PART Description Maker
5S25.030LCD Single Output Isolated DC/DC converter (Out 25V 30 mA Inp 4.5 - 5.0V)
Calex Electronics Limited
CX94410 High Speed ADSLplus Chipset with Enhanced INP and USB 2.0
Conexant Systems, Inc
HCS11MS FN3048 Radiation Hardened Triple 3-Input AND Gate(抗辐射三3输入与门) HC/UH SERIES, TRIPLE 3-INPUT AND GATE, UUC14
From old datasheet system
AND-Gate, 3-Input, Triple, Rad-Hard, High-Speed, CMOS, Logic
Intersil, Corp.
INTERSIL[Intersil Corporation]
74LCX27SJ 74LCX27 74LCX27MTC 74LCX27M 74LCX27MTCX Triple 3-input NOR Gate LVC/LCX/Z SERIES, TRIPLE 3-INPUT NOR GATE, PDSO14
From old datasheet system
Low Voltage Triple 3-Input NOR Gate with 5V Tolerant Inputs
Fairchild Semiconductor, Corp.
FAIRCHILD[Fairchild Semiconductor]
NLX3G17BMX1TCG NLX3G17AMX1TCG Triple Non-Inverting Schmitt-Trigger Buffer 3G SERIES, TRIPLE 1-INPUT NON-INVERT GATE, DSO8
ON Semiconductor
HA5025EVAL HA5013 HA5013IB HA5013IP FN3654 Op Amp, Triple 125MHz, Video, Current Feedback
From old datasheet system
Triple 125MHz Video Amplifier
Triple, 125MHz Video Amplifier
Triple/ 125MHz Video Amplifier
INTERSIL[Intersil Corporation]
CMKD4448 SMD Switching Diode Triple
SURFACE MOUNT ULTRAmini TRIPLE ISOLATED HIGH SPEED SILICON SWITCHING DIODES
CENTRAL[Central Semiconductor Corp]
DG9053 DG9051 DG9052 DG9053DQ-T1-E3 Precision 8-Ch/Dual 4-Ch/Triple 2-Ch Low Voltage Analog Switches/Multiplexers 精密8-Ch/Dual 4-Ch/Triple 2通道低电压模拟开多路复用
Vishay Intertechnology,Inc.
Vishay Intertechnology, Inc.
EL4331C EL4331CS Triple 2:1 Mux-Amp AV = 1
IC,ANALOG MUX,TRIPLE,2-CHANNEL,SOP,16PIN,PLASTIC
http://
Intersil Corp
ELANTEC[Elantec Semiconductor]
STV8162 STV8162D STV816209 5 V, 5 V and 8 V triple voltage regulator with disable and reset functions
TRIPLE OUTPUT, FIXED POSITIVE REGULATOR, PZ
TRIPLE OUTPUT, FIXED POSITIVE REGULATOR, PDIP18
STMicroelectronics
74AC11PC 74AC11SJ 74AC11SC 74AC11 74AC11MTC 74AC11 Triple 3-Input AND Gate AC SERIES, TRIPLE 3-INPUT AND GATE, PDSO14
CMOS, 8-Bit Multiplying DAC AC SERIES, TRIPLE 3-INPUT AND GATE, PDSO14
From old datasheet system
Fairchild Semiconductor, Corp.
FAIRCHILD[Fairchild Semiconductor]
 
 Related keyword From Full Text Search System
MC3005F Crystals MC3005F application MC3005F oscillator MC3005F barrier MC3005F gate
MC3005F quad MC3005F Untuk apa ic MC3005F panasonic MC3005F Positive MC3005F Dual
 

 

Price & Availability of MC3005F

All Rights Reserved © IC-ON-LINE 2003 - 2022  

[Add Bookmark] [Contact Us] [Link exchange] [Privacy policy]
Mirror Sites :  [www.datasheet.hk]   [www.maxim4u.com]  [www.ic-on-line.cn] [www.ic-on-line.com] [www.ic-on-line.net] [www.alldatasheet.com.cn] [www.gdcy.com]  [www.gdcy.net]


 . . . . .
  We use cookies to deliver the best possible web experience and assist with our advertising efforts. By continuing to use this site, you consent to the use of cookies. For more information on cookies, please take a look at our Privacy Policy. X
0.3563380241394