Part Number Hot Search : 
TC143Z LM13400 V56Z8 L6605D SMP26 MEGA8 52357 OV156
Product Description
Full Text Search

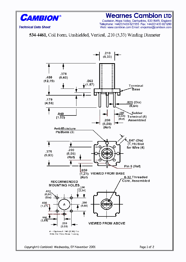
534-4461 - Coil Form, Unshielded, Vertical, .210 (5,33) Winding Diameter

534-4461_4881942.PDF Datasheet


 Full text search : Coil Form, Unshielded, Vertical, .210 (5,33) Winding Diameter
 Product Description search : Coil Form, Unshielded, Vertical, .210 (5,33) Winding Diameter


 Related Part Number
PART Description Maker
534-4461 Coil Form, Unshielded, Vertical, .210 (5,33) Winding Diameter
CAMBION Electronic Components
534-3624 Coil Form, Unshielded, Vertical, .210 (5,33) Winding Diameter
CAMBION Electronic Components
DSP1-DC9V DSP1-L2-DC3V DSP1-L2-DC9V DSP1-DC24-R-F Polarized Power Relay, 1 Form A 1 Form B, 8A 250VAC 5A 30VDC POWER/SIGNAL RELAY, DPST, MOMENTARY, 0.033A (COIL), 9VDC (COIL), 300mW (COIL), 5A (CONTACT), 30VDC (CONTACT), THROUGH HOLE-STRAIGHT MOUNT
Polarized Power Relay, 1 Form A 1 Form B, 8A 250VAC 5A 30VDC, 2 Coil Latching POWER/SIGNAL RELAY, DPST, LATCHED, 0.1A (COIL), 3VDC (COIL), 300mW (COIL), 5A (CONTACT), 30VDC (CONTACT), THROUGH HOLE-STRAIGHT MOUNT
Polarized Power Relay, 1 Form A 1 Form B, 8A 250VAC 5A 30VDC, 2 Coil Latching POWER/SIGNAL RELAY, DPST, LATCHED, 0.033A (COIL), 9VDC (COIL), 300mW (COIL), 5A (CONTACT), 30VDC (CONTACT), THROUGH HOLE-STRAIGHT MOUNT
POWER/SIGNAL RELAY, DPST, MOMENTARY, 0.013A (COIL), 24VDC (COIL), 300mW (COIL), 5A (CONTACT), 30VDC (CONTACT), THROUGH HOLE-STRAIGHT MOUNT
Panasonic, Corp.
PANASONIC CORP
1812R-562J 1812R-184J 1812-181K 1812-561K 1812R-22 INDUCTOR UNSHIELDED 5.6UH SMD 1 ELEMENT, 5.6 uH, FERRITE-CORE, GENERAL PURPOSE INDUCTOR, SMD
INDUCTOR UNSHIELDED 180UH SMD 1 ELEMENT, 180 uH, FERRITE-CORE, GENERAL PURPOSE INDUCTOR, SMD
COIL .18UH UNSHIELDED SMD 1 ELEMENT, 0.18 uH, IRON-CORE, GENERAL PURPOSE INDUCTOR, SMD
COIL .56UH UNSHIELDED SMD 1 ELEMENT, 0.56 uH, IRON-CORE, GENERAL PURPOSE INDUCTOR, SMD
COIL .22UH UNSHIELDED SMD 1 ELEMENT, 0.22 uH, IRON-CORE, GENERAL PURPOSE INDUCTOR, SMD
INDUCTOR UNSHIELDED 470UH SMD 1 ELEMENT, 470 uH, FERRITE-CORE, GENERAL PURPOSE INDUCTOR, SMD
API Delevan
TX2-9Z TX1-10 TX1-10F TX1-10FZ TX1-10X TX1-10XF TX Automotive relay. Coil voltage 12 VDC. 2x1 Form C. Coil resistance (
Global Components & Controls
ETC[ETC]
List of Unclassifed Manufacturers
Electronic Theatre Controls, Inc.
http://
ARE13A03Z 2.6GHz Relay, 1 Form C, 0.5A 30VDC Relay, 75ohms, SMD RF RELAY, SPDT, MOMENTARY, 0.067A (COIL), 3VDC (COIL), 200mW (COIL), 0.01A (CONTACT), 24VDC (CONTACT), 2600MHz, SURFACE MOUNT-STRAIGHT
Panasonic, Corp.
DK1A-L2-24V DK1A-L2-9V DK1AL26VNIL DK1AL26VF DK2AL Miniature Power Relay, 1 Form A, 10A 250VAC 10A 30VDC, 2 Coil Latching POWER/SIGNAL RELAY, SPST, LATCHED, 0.008A (COIL), 24VDC (COIL), 200mW (COIL), 10A (CONTACT), 30VDC (CONTACT), THROUGH HOLE-STRAIGHT MOUNT
   10 A MINIATURE POWER RELAY
Panasonic Semiconductor
PANASONIC CORP
Panasonic, Corp.
1025R-06K 1026R-80K 1025R-10K 1025R-12K 1025R-14K Molded Unshielded RF Coils
COIL 4.7UH MOLDED UNSHIELDED 1 ELEMENT, 4.7 uH, IRON-CORE, GENERAL PURPOSE INDUCTOR
COIL 220.UH MOLDED UNSHIELDED 1 ELEMENT, 220 uH, FERRITE-CORE, GENERAL PURPOSE INDUCTOR
COIL 2.7UH MOLDED UNSHIELDED 1 ELEMENT, 2.7 uH, IRON-CORE, GENERAL PURPOSE INDUCTOR
COIL 330.UH MOLDED UNSHIELDED 1 ELEMENT, 330 uH, FERRITE-CORE, GENERAL PURPOSE INDUCTOR
1 ELEMENT, 18 uH, IRON-CORE, GENERAL PURPOSE INDUCTOR
1 ELEMENT, 47 uH, FERRITE-CORE, GENERAL PURPOSE INDUCTOR
1 ELEMENT, 56 uH, FERRITE-CORE, GENERAL PURPOSE INDUCTOR
1 ELEMENT, 2.2 uH, IRON-CORE, GENERAL PURPOSE INDUCTOR
   Molded Unshielded RF Coils
API Delevan
533-3651 Coil Form, Shielded, Vertical, .210 (5,33) Winding Diameter
CAMBION Electronic Components
FTR-B3GA4.5Z-RF FTR-B3GA006Z-RF FTR-B3SA006Z-RF FT ULTRA MINIATURE Flat High-Frequency Relay Surface mount, 1GHz-Band, 2 Form C
RF COAXIAL RELAY, DPDT, MOMENTARY, 0.016A (COIL), 9VDC (COIL), 140mW (COIL), 1A (CONTACT), 30VDC (CONTACT), 1000MHz, SURFACE MOUNT-STRAIGHT ROHS COMPLIANT
RF COAXIAL RELAY, DPDT, MOMENTARY, 0.01A (COIL), 24VDC (COIL), 230mW (COIL), 1A (CONTACT), 30VDC (CONTACT), 1000MHz, SURFACE MOUNT-STRAIGHT ROHS COMPLIANT
RF COAXIAL RELAY, DPDT, LATCHED, 0.033A (COIL), 3VDC (COIL), 100mW (COIL), 1A (CONTACT), 30VDC (CONTACT), 1000MHz, SURFACE MOUNT-STRAIGHT ROHS COMPLIANT
RF COAXIAL RELAY, DPDT, MOMENTARY, 0.093A (COIL), 1.5VDC (COIL), 140mW (COIL), 1A (CONTACT), 30VDC (CONTACT), 1000MHz, SURFACE MOUNT-STRAIGHT ROHS COMPLIANT
RF COAXIAL RELAY, DPDT, LATCHED, 0.017A (COIL), 6VDC (COIL), 100mW (COIL), 1A (CONTACT), 30VDC (CONTACT), 1000MHz, SURFACE MOUNT-STRAIGHT ROHS COMPLIANT
RF COAXIAL RELAY, DPDT, MOMENTARY, 0.023A (COIL), 6VDC (COIL), 140mW (COIL), 1A (CONTACT), 30VDC (CONTACT), 1000MHz, SURFACE MOUNT-STRAIGHT ROHS COMPLIANT
RF COAXIAL RELAY, DPDT, LATCHED, 0.008A (COIL), 12VDC (COIL), 100mW (COIL), 1A (CONTACT), 30VDC (CONTACT), 1000MHz, SURFACE MOUNT-STRAIGHT ROHS COMPLIANT
RF COAXIAL RELAY, DPDT, MOMENTARY, 0.012A (COIL), 12VDC (COIL), 140mW (COIL), 1A (CONTACT), 30VDC (CONTACT), 1000MHz, SURFACE MOUNT-STRAIGHT ROHS COMPLIANT
RF COAXIAL RELAY, DPDT, LATCHED, 0.005A (COIL), 24VDC (COIL), 120mW (COIL), 1A (CONTACT), 30VDC (CONTACT), 1000MHz, SURFACE MOUNT-STRAIGHT ROHS COMPLIANT
RF COAXIAL RELAY, DPDT, LATCHED, 0.011A (COIL), 9VDC (COIL), 100mW (COIL), 1A (CONTACT), 30VDC (CONTACT), 1000MHz, SURFACE MOUNT-STRAIGHT ROHS COMPLIANT
RF COAXIAL RELAY, DPDT, MOMENTARY, 0.047A (COIL), 3VDC (COIL), 140mW (COIL), 1A (CONTACT), 30VDC (CONTACT), 1000MHz, SURFACE MOUNT-STRAIGHT ROHS COMPLIANT
RF COAXIAL RELAY, DPDT, LATCHED, 0.022A (COIL), 4.5VDC (COIL), 100mW (COIL), 1A (CONTACT), 30VDC (CONTACT), 1000MHz, SURFACE MOUNT-STRAIGHT ROHS COMPLIANT
Fujitsu Component Limited.
http://
FUJITSU Component., Ltd.
JVN1A-100V JVN1AF-100V JV-N relay. Compact flat power relay for heater loads. 1 form A. Coil voltage 100 V DC. Sealed type.
JV-N relay. Compact flat power relay for heater loads. 1 form A. Coil voltage 100 V DC. Flux-resistant type.
Matsushita Electric Works(Nais)
EV200HDABA EV200HDACA EV200HDANA EV200ADANA EV200A KILOVAC EV200 Series Contactor With 1 Form X Contacts Rated 500 Amps, 12-900VDC
Versatile coil/power connections
Tyco Electronics
http://
 
 Related keyword From Full Text Search System
534-4461 Ic-on-line 534-4461 maker 534-4461 hot 534-4461 Dual 534-4461 byte
534-4461 suply voltase IC 534-4461 infineon 534-4461 Ic on line 534-4461 中文 534-4461 asynchronous
 

 

Price & Availability of 534-4461

All Rights Reserved © IC-ON-LINE 2003 - 2022  

[Add Bookmark] [Contact Us] [Link exchange] [Privacy policy]
Mirror Sites :  [www.datasheet.hk]   [www.maxim4u.com]  [www.ic-on-line.cn] [www.ic-on-line.com] [www.ic-on-line.net] [www.alldatasheet.com.cn] [www.gdcy.com]  [www.gdcy.net]


 . . . . .
  We use cookies to deliver the best possible web experience and assist with our advertising efforts. By continuing to use this site, you consent to the use of cookies. For more information on cookies, please take a look at our Privacy Policy. X
0.41898918151855