Part Number Hot Search : 
BSO301 RA0105A APC12F08 MGA87563 5KP28 TA0327A 2SD2139Q PN150
Product Description
Full Text Search

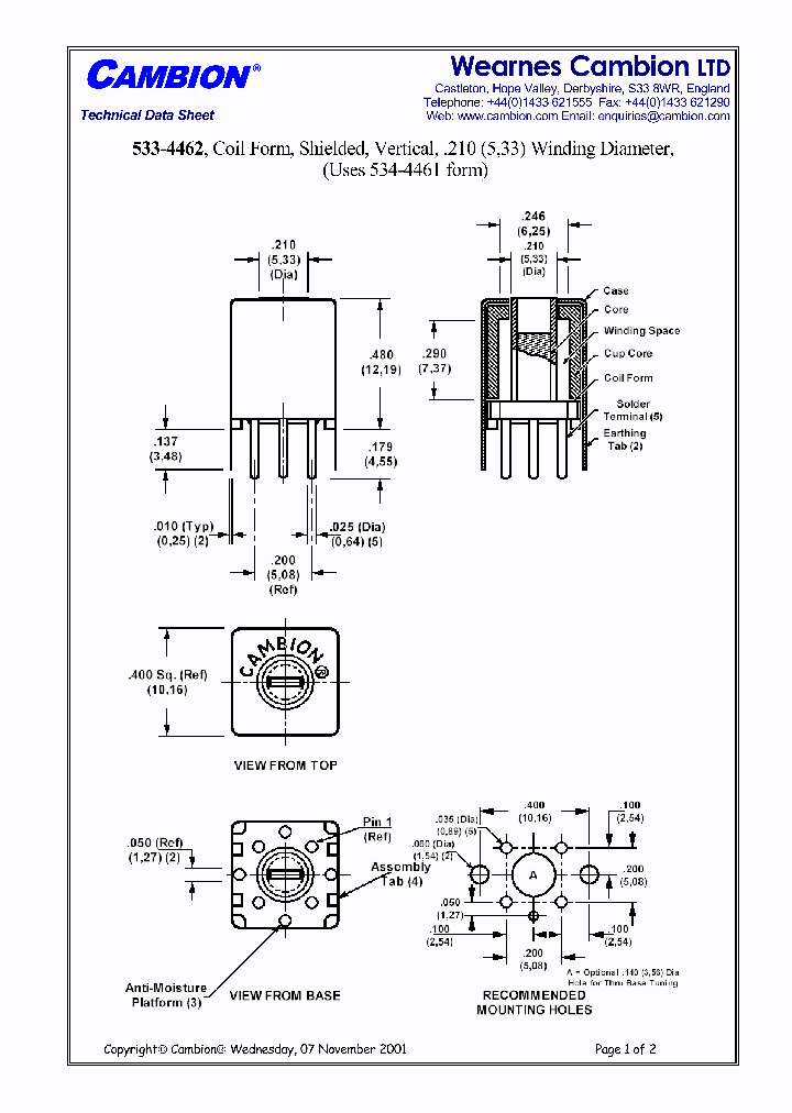
533-4462 - Coil Form, Shielded, Vertical, .210 (5,33) Winding Diameter

533-4462_4882758.PDF Datasheet


 Full text search : Coil Form, Shielded, Vertical, .210 (5,33) Winding Diameter
 Product Description search : Coil Form, Shielded, Vertical, .210 (5,33) Winding Diameter


 Related Part Number
PART Description Maker
533-3652 Coil Form, Shielded, Vertical, .210 (5,33) Winding Diameter
CAMBION Electronic Components
533-4462 Coil Form, Shielded, Vertical, .210 (5,33) Winding Diameter
CAMBION Electronic Components
534-4461 Coil Form, Unshielded, Vertical, .210 (5,33) Winding Diameter
CAMBION Electronic Components
TQ2SA-1.5V-Z TQ2SA-L-24V TQ2SS-L-24V TQ2SA-3V-Z TQ Low Profile Signal relay, 2 Form C, 2A 30VDC, SMD SA Type, Gold Contact POWER/SIGNAL RELAY, DPDT, MOMENTARY, 0.094A (COIL), 1.5VDC (COIL), 140mW (COIL), 2A (CONTACT), 220VDC (CONTACT), SURFACE MOUNT-STRAIGHT
Low Profile Signal relay, 2 Form C, 2A 30VDC, SMD SA Type, 1 Coil Latching, Gold Contact POWER/SIGNAL RELAY, DPDT, LATCHED, 0.004A (COIL), 24VDC (COIL), 100mW (COIL), 2A (CONTACT), 220VDC (CONTACT), SURFACE MOUNT-STRAIGHT
Low Profile Signal Relay, 2 Form C, 2A 30VDC 0.5A 125VAC, 1 Coil Latching, Gold Contact POWER/SIGNAL RELAY, DPDT, LATCHED, 0.004A (COIL), 24VDC (COIL), 100mW (COIL), 2A (CONTACT), 220VDC (CONTACT), SURFACE MOUNT-STRAIGHT
Low Profile Signal relay, 2 Form C, 2A 30VDC, SMD SA Type, Gold Contact POWER/SIGNAL RELAY, DPDT, MOMENTARY, 0.047A (COIL), 3VDC (COIL), 140mW (COIL), 2A (CONTACT), 220VDC (CONTACT), SURFACE MOUNT-STRAIGHT
Low Profile Signal Relay, 2 Form C, 2A 30VDC 0.5A 125VAC, 2 Coil Latching, Gold Contact POWER/SIGNAL RELAY, DPDT, LATCHED, 0.094A (COIL), 1.5VDC (COIL), 140mW (COIL), 2A (CONTACT), 220VDC (CONTACT), SURFACE MOUNT-STRAIGHT
Low Profile Signal relay, 2 Form C, 2A 30VDC, SMD SA Type, 1 Coil Latching, Gold Contact POWER/SIGNAL RELAY, DPDT, LATCHED, 0.016A (COIL), 4.5VDC (COIL), 70mW (COIL), 2A (CONTACT), 220VDC (CONTACT), SURFACE MOUNT-STRAIGHT
Low Profile Signal Relay, 2 Form C, 2A 30VDC 0.5A 125VAC, 2 Coil Latching, Gold Contact POWER/SIGNAL RELAY, DPDT, LATCHED, 0.008A (COIL), 24VDC (COIL), 200mW (COIL), 2A (CONTACT), 220VDC (CONTACT), SURFACE MOUNT-STRAIGHT
Low Profile Signal Relay, 2 Form C, 2A 30VDC 0.5A 125VAC, 1 Coil Latching, Gold Contact POWER/SIGNAL RELAY, DPDT, LATCHED, 0.023A (COIL), 3VDC (COIL), 70mW (COIL), 2A (CONTACT), 220VDC (CONTACT), SURFACE MOUNT-STRAIGHT
Low Profile Signal relay, 2 Form C, 2A 30VDC, SMD SA Type, Gold Contact POWER/SIGNAL RELAY, DPDT, MOMENTARY, 0.023A (COIL), 6VDC (COIL), 140mW (COIL), 2A (CONTACT), 220VDC (CONTACT), SURFACE MOUNT-STRAIGHT
Low Profile Signal Relay, 2 Form C, 2A 30VDC 0.5A 125VAC, 2 Coil Latching, Gold Contact POWER/SIGNAL RELAY, DPDT, LATCHED, 0.047A (COIL), 3VDC (COIL), 140mW (COIL), 2A (CONTACT), 220VDC (CONTACT), SURFACE MOUNT-STRAIGHT
Low Profile Signal Relay, 2 Form C, 2A 30VDC 0.5A 125VAC, 2 Coil Latching, Gold Contact POWER/SIGNAL RELAY, DPDT, LATCHED, 0.031A (COIL), 4.5VDC (COIL), 140mW (COIL), 2A (CONTACT), 220VDC (CONTACT), SURFACE MOUNT-STRAIGHT
Low Profile Signal Relay, 2 Form C, 2A 30VDC 0.5A 125VAC, Gold Contact POWER/SIGNAL RELAY, DPDT, MOMENTARY, 0.047A (COIL), 3VDC (COIL), 140mW (COIL), 2A (CONTACT), 220VDC (CONTACT), SURFACE MOUNT-STRAIGHT
Low Profile Signal relay, 2 Form C, 1 Form A 30VDC, PC Board Terminal Type, 1 Coil Latching, Gold Contact POWER/SIGNAL RELAY, DPDT, LATCHED, 0.017A (COIL), 6VDC (COIL), 100mW (COIL), 1A (CONTACT), 110VDC (CONTACT), THROUGH HOLE-STRAIGHT MOUNT
Low Profile Signal relay, 2 Form C, 2A 30VDC, SMD SA Type, Gold Contact POWER/SIGNAL RELAY, DPDT, MOMENTARY, 0.016A (COIL), 9VDC (COIL), 140mW (COIL), 2A (CONTACT), 220VDC (CONTACT), SURFACE MOUNT-STRAIGHT
Low Profile Signal relay, 2 Form C, 1 Form A 30VDC, PC Board Terminal Type, 1 Coil Latching, Gold Contact POWER/SIGNAL RELAY, DPDT, LATCHED, 0.022A (COIL), 4.5VDC (COIL), 100mW (COIL), 1A (CONTACT), 110VDC (CONTACT), THROUGH HOLE-STRAIGHT MOUNT
Low Profile Signal relay, 2 Form C, 1 Form A 30VDC, PC Board Terminal Type, Gold Contact POWER/SIGNAL RELAY, DPDT, MOMENTARY, 0.023A (COIL), 6VDC (COIL), 140mW (COIL), 1A (CONTACT), 110VDC (CONTACT), THROUGH HOLE-STRAIGHT MOUNT
Low Profile Signal relay, 2 Form C, 1 Form A 30VDC, PC Board Terminal Type, Gold Contact POWER/SIGNAL RELAY, DPDT, MOMENTARY, 0.031A (COIL), 4.5VDC (COIL), 140mW (COIL), 1A (CONTACT), 110VDC (CONTACT), THROUGH HOLE-STRAIGHT MOUNT
Low Profile Signal relay, 2 Form C, 1 Form A 30VDC, PC Board Terminal Type, Gold Contact POWER/SIGNAL RELAY, DPDT, MOMENTARY, 0.008A (COIL), 24VDC (COIL), 200mW (COIL), 1A (CONTACT), 110VDC (CONTACT), THROUGH HOLE-STRAIGHT MOUNT
Low Profile Signal relay, 2 Form C, 2A 30VDC, SMD SA Type, 1 Coil Latching, Gold Contact POWER/SIGNAL RELAY, DPDT, LATCHED, 0.023A (COIL), 3VDC (COIL), 70mW (COIL), 2A (CONTACT), 220VDC (CONTACT), SURFACE MOUNT-STRAIGHT
Low Profile Signal relay, 2 Form C, 1 Form A 30VDC, PC Board Terminal Type, 2 Coil Latching, Gold Contact POWER/SIGNAL RELAY, DPDT, LATCHED, 0.013A (COIL), 24VDC (COIL), 300mW (COIL), 1A (CONTACT), 110VDC (CONTACT), THROUGH HOLE-STRAIGHT MOUNT
Low Profile Signal relay, 2 Form C, 2A 30VDC, SMD SA Type, 1 Coil Latching, Gold Contact POWER/SIGNAL RELAY, DPDT, LATCHED, 0.014A (COIL), 5VDC (COIL), 70mW (COIL), 2A (CONTACT), 220VDC (CONTACT), SURFACE MOUNT-STRAIGHT
Low Profile Signal relay, 2 Form C, 2A 30VDC, SMD SA Type, Gold Contact POWER/SIGNAL RELAY, DPDT, MOMENTARY, 0.008A (COIL), 24VDC (COIL), 200mW (COIL), 2A (CONTACT), 220VDC (CONTACT), SURFACE MOUNT-STRAIGHT
Low Profile Signal Relay, 2 Form C, 2A 30VDC 0.5A 125VAC, Gold Contact POWER/SIGNAL RELAY, DPDT, MOMENTARY, 0.006A (COIL), 48VDC (COIL), 300mW (COIL), 2A (CONTACT), 220VDC (CONTACT), SURFACE MOUNT-STRAIGHT
Low Profile Signal relay, 2 Form C, 1 Form A 30VDC, PC Board Terminal Type, 2 Coil Latching, Gold Contact POWER/SIGNAL RELAY, DPDT, LATCHED, 0.04A (COIL), 5VDC (COIL), 200mW (COIL), 1A (CONTACT), 110VDC (CONTACT), THROUGH HOLE-STRAIGHT MOUNT
Low Profile Signal relay, 4 Form C, 1 Form A 30VDC, PC Board Terminal Type, 2 Coil Latching, Gold Contact POWER/SIGNAL RELAY, 4PDT, LATCHED, 0.033A (COIL), 12VDC (COIL), 400mW (COIL), 1A (CONTACT), 110VDC (CONTACT), THROUGH HOLE-STRAIGHT MOUNT
Low Profile Signal Relay, 2 Form C, 2A 30VDC 0.5A 125VAC, Gold Contact POWER/SIGNAL RELAY, DPDT, MOMENTARY, 0.008A (COIL), 24VDC (COIL), 200mW (COIL), 2A (CONTACT), 220VDC (CONTACT), SURFACE MOUNT-STRAIGHT
Low Profile Signal relay, 2 Form C, 2A 30VDC, SMD SA Type, 2 Coil Latching, Gold Contact
POWER/SIGNAL RELAY, DPDT, LATCHED, 0.006A (COIL), 12VDC (COIL), 70mW (COIL), 2A (CONTACT), 220VDC (CONTACT), SURFACE MOUNT-STRAIGHT
Low Profile Signal relay, 4 Form C, 1 Form A 30VDC, PC Board Terminal Type, 1 Coil Latching, Gold Contact
POWER/SIGNAL RELAY, DPDT, MOMENTARY, 0.022A (COIL), 9VDC (COIL), 200mW (COIL), 1A (CONTACT), 110VDC (CONTACT), THROUGH HOLE-STRAIGHT MOUNT
POWER/SIGNAL RELAY, DPDT, LATCHED, 0.008A (COIL), 9VDC (COIL), 70mW (COIL), 2A (CONTACT), 220VDC (CONTACT), SURFACE MOUNT-STRAIGHT
Panasonic, Corp.
PANASONIC CORP
E526HN-100304 E526HN-100315 E526HNA-100314 E526HN- COIL .13UH TYPE MC120 W/O CASE UNSHIELDED, VARIABLE INDUCTOR
COIL .0437UH TYPE MC120 W/O CASE UNSHIELDED, VARIABLE INDUCTOR
COIL .137UH TYPE MC120 W/CASE SHIELDED, VARIABLE INDUCTOR
COIL .118UH TYPE MC120 W/O CASE UNSHIELDED, VARIABLE INDUCTOR
COIL .29UH TYPE MC120 W/CASE SHIELDED, VARIABLE INDUCTOR
COIL .211UH TYPE MC120 W/O CASE UNSHIELDED, VARIABLE INDUCTOR
COIL .0461UH TYPE MC120 W/O CASE UNSHIELDED, VARIABLE INDUCTOR
COIL .141UH MC120 W/CASE SHIELDED, VARIABLE INDUCTOR
TOKO, Inc.
3-1419108-9 3-1419108-6 3-1419108-1 RT314024F 5-14 Power PCB Relay RT1
5kV/10mm coil-contact, reinforced insulation
1 pole 12A/16A, 1 form C (CO) or 1 form A (NO) contact
Tyco Electronics
TE Connectivity Ltd
JH2A-L2-DC110V JH2A1B-DC110V JH2A1B-WL2-DC110V JH3 JH relay. 30 Amp power relay with space saving design. 2 form A. Coil voltage 110 V DC. 2 coil latching.
JH relay. 30 Amp power relay with space saving design. 2 form A 1 form B. Coil voltage 110 V DC. Single side stable.
JH relay. 30 Amp power relay with space saving design. 2 form A 1 form B. Coil voltage 110 V DC. 2 coil latching.
JH relay. 30 Amp power relay with space saving design. 3 form A. Coil voltage 110 V DC. 2 coil latching.
JH relay. 30 Amp power relay with space saving design. 3 form A. Coil voltage 110 V DC. Single side stable.
Matsushita Electric Works(Nais)
HP4-AC115V HP4-AC220V HP4-DC110V HP4-L-AC115V HP4- HP-relay. 10 Amp power relay. 4 form C. Coil voltage 115 V AC. Standard plug-in terminal type (without lamp wired).
HP-relay. 10 Amp power relay. 4 form C. Coil voltage 220 V AC. Standard plug-in terminal type (without lamp wired).
HP-relay. 10 Amp power relay. 4 form C. Coil voltage 110 V DC. Standard plug-in terminal type (without lamp wired).
HP-relay. 10 Amp power relay. 4 form C, neon lamp. Coil voltage 115 V AC. Standard plug-in terminal type (without lamp wired).
HP-relay. 10 Amp power relay. 4 form C, neon lamp. Coil voltage 220 V AC. Standard plug-in terminal type (without lamp wired).
HP-relay. 10 Amp power relay. 4 form C, neon lamp. Coil voltage 240 V AC. Standard plug-in terminal type (without lamp wired).
HP-relay. 10 Amp power relay. 2 form C. Coil voltage 110 V DC. Top mounting type.
HP-relay. 10 Amp power relay. 2 form C. Coil voltage 220 V AC. Top mounting type.
HP-relay. 10 Amp power relay. 2 form C. Coil voltage 240 V AC. Top mounting type.
Matsushita Electric Works(Nais)
JVN1A-100V JVN1AF-100V JV-N relay. Compact flat power relay for heater loads. 1 form A. Coil voltage 100 V DC. Sealed type.
JV-N relay. Compact flat power relay for heater loads. 1 form A. Coil voltage 100 V DC. Flux-resistant type.
Matsushita Electric Works(Nais)
KM739N KM749N KM749N-LFR KM742N KM742N-LFR KM755N- 10mm Adjustable Shielded RF Coil (II)
Frontier Electronics.
ADJ12024 ADJ11005 ADJ11148 ADJ13048 ADJ13106 ADJ11 DJ-relay. 16A, compact and high-insulation power latching relay. Coil voltage 24 V DC. 1 form C. 1 coil latching type. Sealed type. Without test button.
DJ-relay. 16A, compact and high-insulation power latching relay. Coil voltage 5 V DC. 1 form C. 1 coil latching type. Flux-resistant type. Without test button.
DJ-relay. 16A, compact and high-insulation power latching relay. Coil voltage 48 V DC. 1 form C. 1 coil latching type. Flux-resistant type. With test button.
DJ-relay. 16A, compact and high-insulation power latching relay. Coil voltage 48 V DC. 1 form C. 2 coil latching type. Flux-resistant type. Without test button.
DJ-relay. 16A, compact and high-insulation power latching relay. Coil voltage 6 V DC. 1 form C. 2 coil latching type. Flux-resistant type. With test button.
DJ-relay. 16A, compact and high-insulation power latching relay. Coil voltage 12 V DC. 1 form C. 1 coil latching type. Flux-resistant type. Without test button.
DJ-relay. 16A, compact and high-insulation power latching relay. Coil voltage 24 V DC. 1 form C. 1 coil latching type. Flux-resistant type. Without test button.
DJ-relay. 16A, compact and high-insulation power latching relay. Coil voltage 12 V DC. 1 form C. 1 coil latching type. Flux-resistant type. With test button.
DJ-relay. 16A, compact and high-insulation power latching relay. Coil voltage 24 V DC. 1 form C. 1 coil latching type. Flux-resistant type. With test button.
DJ-relay. 16A, compact and high-insulation power latching relay. Coil voltage 24 V DC. 1 form C. 2 coil latching type. Flux-resistant type. Without test button.
DJ-relay. 16A, compact and high-insulation power latching relay. Coil voltage 24 V DC. 1 form C. 2 coil latching type. Flux-resistant type. With test button.
DJ-relay. 16A, compact and high-insulation power latching relay. Coil voltage 48 V DC. 1 form C. 2 coil latching type. Flux-resistant type. With test button.
DJ-relay. 16A, compact and high-insulation power latching relay. Coil voltage 5 V DC. 1 form A. 1 coil latching type. Flux-resistant type. Without test button.
DJ-relay. 16A, compact and high-insulation power latching relay. Coil voltage 6 V DC. 1 form C. 1 coil latching type. Flux-resistant type. Without test button.
DJ-relay. 16A, compact and high-insulation power latching relay. Coil voltage 48 V DC. 1 form C. 1 coil latching type. Flux-resistant type. Without test button.
DJ-relay. 16A, compact and high-insulation power latching relay. Coil voltage 5 V DC. 1 form C. 1 coil latching type. Flux-resistant type. With test button.
DJ-relay. 16A, compact and high-insulation power latching relay. Coil voltage 6 V DC. 1 form C. 1 coil latching type. Flux-resistant type. With test button.
DJ-relay. 16A, compact and high-insulation power latching relay. Coil voltage 5 V DC. 1 form C. 2 coil latching type. Flux-resistant type. Without test button.
DJ-relay. 16A, compact and high-insulation power latching relay. Coil voltage 6 V DC. 1 form C. 2 coil latching type. Flux-resistant type. Without test button.
DJ-relay. 16A, compact and high-insulation power latching relay. Coil voltage 12 V DC. 1 form C. 2 coil latching type. Flux-resistant type. Without test button.
DJ-relay. 16A, compact and high-insulation power latching relay. Coil voltage 5 V DC. 1 form C. 2 coil latching type. Flux-resistant type. With test button.
DJ-relay. 16A, compact and high-insulation power latching relay. Coil voltage 12 V DC. 1 form C. 2 coil latching type. Flux-resistant type. With test button.
DJ-relay. 16A, compact and high-insulation power latching relay. Coil voltage 6 V DC. 1 form A. 1 coil latching type. Flux-resistant type. Without test button.
DJ-relay. 16A, compact and high-insulation power latching relay. Coil voltage 12 V DC. 1 form A. 1 coil latching type. Flux-resistant type. Without test button.
DJ-relay. 16A, compact and high-insulation power latching relay. Coil voltage 24 V DC. 1 form A. 1 coil latching type. Flux-resistant type. Without test button.
DJ-relay. 16A, compact and high-insulation power latching relay. Coil voltage 48 V DC. 1 form A. 1 coil latching type. Flux-resistant type. Without test button.
DJ-relay. 16A, compact and high-insulation power latching relay. Coil voltage 5 V DC. 1 form C. 1 coil latching type. Sealed type. Without test button.
DJ-relay. 16A, compact and high-insulation power latching relay. Coil voltage 6 V DC. 1 form C. 1 coil latching type. Sealed type. Without test button.
DJ-relay. 16A, compact and high-insulation power latching relay. Coil voltage 12 V DC. 1 form C. 1 coil latching type. Sealed type. Without test button.
DJ-relay. 16A, compact and high-insulation power latching relay. Coil voltage 5 V DC. 1 form C. 2 coil latching type. Sealed type. Without test button.
DJ-relay. 16A, compact and high-insulation power latching relay. Coil voltage 12 V DC. 1 form C. 2 coil latching type. Sealed type. Without test button.
DJ-relay. 16A, compact and high-insulation power latching relay. Coil voltage 24 V DC. 1 form C. 2 coil latching type. Sealed type. Without test button.
DJ-relay. 16A, compact and high-insulation power latching relay. Coil voltage 6 V DC. 1 form A. 1 coil latching type. Flux-resistant type. With test button.
DJ-relay. 16A, compact and high-insulation power latching relay. Coil voltage 48 V DC. 1 form A. 2 coil latching type. Flux-resistant type. Without test button.
DJ-relay. 16A, compact and high-insulation power latching relay. Coil voltage 5 V DC. 1 form A. 2 coil latching type. Flux-resistant type. Without test button.
DJ-relay. 16A, compact and high-insulation power latching relay. Coil voltage 48 V DC. 1 form A. 2 coil latching type. Flux-resistant type. With test button.
DJ-relay. 16A, compact and high-insulation power latching relay. Coil voltage 24 V DC. 1 form A. 2 coil latching type. Flux-resistant type. With test button.
DJ-relay. 16A, compact and high-insulation power latching relay. Coil voltage 6 V DC. 1 form A. 2 coil latching type. Flux-resistant type. With test button.
DJ-relay. 16A, compact and high-insulation power latching relay. Coil voltage 6 V DC. 1 form A. 2 coil latching type. Flux-resistant type. Without test button.
DJ-relay. 16A, compact and high-insulation power latching relay. Coil voltage 12 V DC. 1 form A. 2 coil latching type. Flux-resistant type. With test button.
DJ-relay. 16A, compact and high-insulation power latching relay. Coil voltage 24 V DC. 1 form A. 2 coil latching type. Flux-resistant type. Without test button.
DJ-relay. 16A, compact and high-insulation power latching relay. Coil voltage 12 V DC. 1 form A. 2 coil latching type. Flux-resistant type. Without test button.
Matsushita Electric Works(Nais)
 
 Related keyword From Full Text Search System
533-4462 products 533-4462 Micropower 533-4462 lamp 533-4462 output data 533-4462 lead
533-4462 Serial 533-4462 electric 533-4462 Vbe(on) 533-4462 pci endian mode 533-4462 step
 

 

Price & Availability of 533-4462

All Rights Reserved © IC-ON-LINE 2003 - 2022  

[Add Bookmark] [Contact Us] [Link exchange] [Privacy policy]
Mirror Sites :  [www.datasheet.hk]   [www.maxim4u.com]  [www.ic-on-line.cn] [www.ic-on-line.com] [www.ic-on-line.net] [www.alldatasheet.com.cn] [www.gdcy.com]  [www.gdcy.net]


 . . . . .
  We use cookies to deliver the best possible web experience and assist with our advertising efforts. By continuing to use this site, you consent to the use of cookies. For more information on cookies, please take a look at our Privacy Policy. X
0.64528608322144