Part Number Hot Search : 
2CRCY8 16M0BC 05030 1N972B GA201 W82C485 T551309 PC3H7
Product Description
Full Text Search

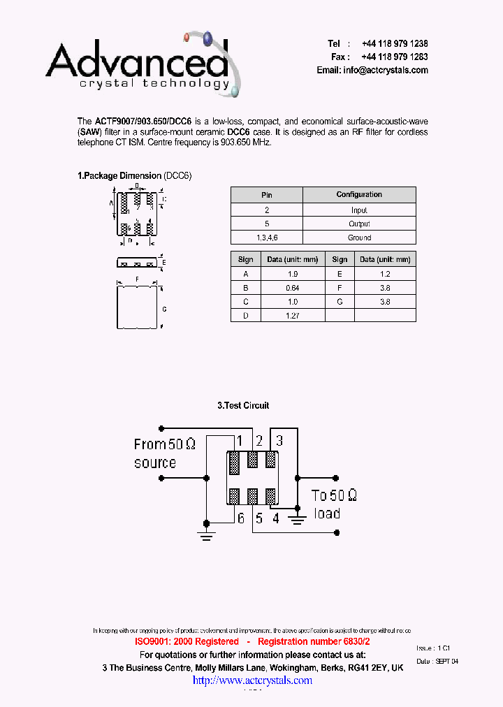
ACTF9007 - low-loss, compact, and economical surface-acoustic-wave (SAW) filter

ACTF9007_4205106.PDF Datasheet


 Full text search : low-loss, compact, and economical surface-acoustic-wave (SAW) filter
 Product Description search : low-loss, compact, and economical surface-acoustic-wave (SAW) filter


 Related Part Number
PART Description Maker
ACTF377 ACTF377_280.0_QCC8C ACTF377/280.0/QCC8C low-loss, compact, and economical surface-acoustic-wave filter 损耗低,结构紧凑和经济的表面声波滤波器
low-loss, compact, and economical surface-acoustic-wave (SAW) filter
Electronic Theatre Controls, Inc.
ETC[ETC]
Advanced Crystal Technology
List of Unclassifed Manufacturers
PQ1UXX1M2ZPH PQ1U181M2ZPH PQ1U251M2ZPH PQ1U281M2ZP Low Output Current, Compact Surface Mount Type Low Power-Loss Voltage Regulators
SHARP[Sharp Electrionic Components]
ACTF0015 ACTF0016_916.5_QCC8 a low-loss, compact, and economical surface-acoustic-wave (SAW)
Advanced Crystal Technology
ACTF8002 low-loss, compact, and economical surface-acoustic-wave (SAW)
Advanced Crystal Technology
ACTF418 ACTF418_418.0_TO39 ACTF418/418.0/TO39 low-loss, compact, and economical surface-acoustic-wave (SAW) filter
Advanced Crystal Technology
ACTF868.35_868.35_F11 ACTF86835 ACTF868.35/868.35/ low-loss, compact, and economical surface-acoustic-wave (SAW) filter
Advanced Crystal Technology
ACTF0327 low-loss, compact, and economical surface-acoustic-wave (SAW) filter
Advanced Crystal Technology
ACTF8011 low-loss, compact, and economical surface-acoustic-wave (SAW) RF filter
Advanced Crystal Technology
ACTF916.5_915.6_F11 ACTF9165 ACTF916.5/915.6/F11 low-loss, compact, and economical surface-acoustic-wave (SAW) filter
Advanced Crystal Technology
ACTF43392 ACTF433.92_433.92_F11 ACTF433.92/433.92/ low-loss, compact, and economical surface-acoustic-wave filter
Advanced Crystal Technology
ACTF552B ACTF552B_446.0_QCC8C ACTF552B/446.0/QCC8C low-loss, compact, and economical surface-acoustic-wave (SAW) filter
Advanced Crystal Technology
 
 Related keyword From Full Text Search System
ACTF9007 Reset ACTF9007 performance ACTF9007 Semiconductors ACTF9007 Bipolar ACTF9007 description
ACTF9007 Capacitor ACTF9007 siliconix ACTF9007 marking code ACTF9007 filetype:pdf ACTF9007 C代码
 

 

Price & Availability of ACTF9007

All Rights Reserved © IC-ON-LINE 2003 - 2022  

[Add Bookmark] [Contact Us] [Link exchange] [Privacy policy]
Mirror Sites :  [www.datasheet.hk]   [www.maxim4u.com]  [www.ic-on-line.cn] [www.ic-on-line.com] [www.ic-on-line.net] [www.alldatasheet.com.cn] [www.gdcy.com]  [www.gdcy.net]


 . . . . .
  We use cookies to deliver the best possible web experience and assist with our advertising efforts. By continuing to use this site, you consent to the use of cookies. For more information on cookies, please take a look at our Privacy Policy. X
0.2751989364624