Part Number Hot Search : 
SI9993CS IRF74 CRHV2010 NTP22N06 2SK1463 TVS416 G2205 26C31
Product Description
Full Text Search

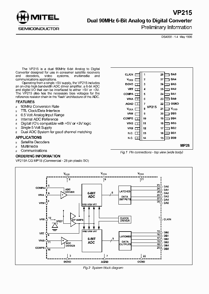
VP215 - Dual 90MHz 6-Bit Analog to Digital Converter

VP215_1334792.PDF Datasheet

 
Part No. VP215
Description Dual 90MHz 6-Bit Analog to Digital Converter

File Size 104.48K  /  7 Page  

Maker

ZARLINK[Zarlink Semiconductor Inc]



JITONG TECHNOLOGY
(CHINA HK & SZ)
Datasheet.hk's Sponsor

Part: VP21545
Maker: SCSA
Pack: QFP
Stock: 328
Unit price for :
    50: $10.62
  100: $10.08
1000: $9.55

Email: oulindz@gmail.com

Contact us

Homepage
Download [ ]
[ VP215 Datasheet PDF Downlaod from Datasheet.HK ]
[VP215 Datasheet PDF Downlaod from Maxim4U.com ] :-)


[ View it Online ]   [ Search more for VP215 ]

[ Price & Availability of VP215 by FindChips.com ]

 Full text search : Dual 90MHz 6-Bit Analog to Digital Converter
 Product Description search : Dual 90MHz 6-Bit Analog to Digital Converter


 Related Part Number
PART Description Maker
VP213ACGMP1S VP213 Dual 90MHz 6-Bit Analog to Digital Converter(90MHz 6位A/D转换
MITEL[Mitel Networks Corporation]
VP211 VP211ACGMP1S Dual 90MHz 6-Bit Analog to Digital Converter
ZARLINK[Zarlink Semiconductor Inc]
VENUSL_KG_QP1S VP215 VP5311C_CG_GP1N VP5511C_CG_GP CDMA/AMPS Dual Band and RF Receiver
Dual 90MHz 6-Bit Analog to Digital Converter
NTSC/PAL Digital Video Encoder
Colour Digital Video Camera Decoder IC
ZARLINK[Zarlink Semiconductor Inc]
MAX4622CPE MAX4622CSE MAX4622EPE MAX4622ESE MAX462 Dual, 5?Analog Switches
Dual / 5 Analog Switches
Dual.5<img src=http://dbserv.maxim-ic.com/images/ohm.gif width=12 height=9 Analog Switches
Dual, 5 Analog Switches
Dual 5 Analog Switches
Dual, 5з Analog Switches
Maxim Integrated Products, Inc.
Maixm
MAXIM[Maxim Integrated Products]
MAXIM - Dallas Semiconductor
MAX4580 MAX4580CAE MAX4580CPE MAX4580CWE MAX4580EA 1.25<img src=http://dbserv.maxim-ic.com/images/ohm.gif width=12 height=9.Dual SPST.CMOS Analog Switches 1.25Ω、双路SPST、CMOS模拟开
1.25з, Dual SPST, CMOS Analog Switches DUAL 1-CHANNEL, SGL POLE SGL THROW SWITCH, PDSO16
1.25 / Dual SPST / CMOS Analog Switches
1.25, Dual SPST, CMOS Analog Switches
1.25, Dual SPST,CMOS Analog Switches
1.25 Dual SPST CMOS Analog Switches
1.25? Dual SPST, CMOS Analog Switches
MAXIM - Dallas Semiconductor
Maxim Integrated Products, Inc.
Maixm
MAXIM[Maxim Integrated Products]
CA3163 CA3199E CA3179E CA3237 CA3247E CA3209E CA32 60 KBYTE FLASH 8-BIT MCU FOR LCD MONITORS WITH 2K RAM, 8-BIT ADC, TIMER, PWMS, 2 DDC, I2C, IFR 模拟IC
20 W TO 140 W STEP-DOWN SWITCHING REGULATOR FAMILY 模拟IC
BCD TO SEVEN SEGMENT LATCH DECODER DRIVES
DUAL COMPLEMENTARY PAIR PLUS INVERTER
SINGLE 8 CHANNEL ANALOG MULTIPLEXERS-DEMULTIPLEXERS
PRESETTABLE UP/DOWN COUNTERS (DUAL CLOCK WITH RESET) BINARY TYPE
Analog IC
AnalogIC
BRILLIANCE SEMICONDUCTOR, Inc.
KEMET Corporation
LT1468CDD-2PBF LT1468CDD-2TRPBF LT1468-209 LT1468A 16-Bit DAC Current-to-Voltage Converter
90MHz, 22V/us 16-Bit Accurate Operational Amplifier; Package: DFN; No of Pins: 8; Temperature Range: -40°C to 85°C OP-AMP, 400 uV OFFSET-MAX, 88 MHz BAND WIDTH, PDSO8
Linear Technology, Corp.
5962-89629013X 5962-8962902LX AD7569ACHIPS AD7569T    LC2MOS Complete, 8-Bit Analog I/0 Systems
LC2MOS Complete, 8-Bit Analog I/0 Systems SPECIALTY ANALOG CIRCUIT, PQCC28
LC2MOS Complete/ 8-Bit Analog I/0 Systems
CMOS, Complete 8-Bit Analog I/0 Port with Single DAC Output
Analog Devices, Inc.
MAX4518 MAX4518CEE MAX4518CPD MAX4518CSD MAX4518EE Precision, 4-Channel/Dual 2-Channel, Low-Voltage, CMOS Analog Multiplexers 4-CHANNEL, SGL ENDED MULTIPLEXER, PDSO14
Precision, 4-Channel/Dual 2-Channel, Low-Voltage, CMOS Analog Multiplexers 4-CHANNEL, SGL ENDED MULTIPLEXER, PDSO16
32-Bit Digital Signal Controller with RAM 179-BGA MICROSTAR
Precision, 4-Channel/Dual 2-Channel,Low-Voltage, CMOS Analog Multiplexers
Precision 4-Channel/Dual 2-Channel Low-Voltage CMOS Analog Multiplexers
From old datasheet system
Maxim Integrated Products, Inc.
Maixm
MAXIM[Maxim Integrated Products]
MAXIM - Dallas Semiconductor
MAX4731 MAX4731EUA MAX4733EUA MAX4732 MAX4733 MAX4 50<img src=http://dbserv.maxim-ic.com/images/ohm.gif width=12 height=9 Dual SPST Analog Switches in UCSP
50 Dual SPST Analog Switches in UCSP
50|? Dual SPST Analog Switches in UCSP
50 зDual SPST Analog Switches in UCSP
Maxim Integrated Products, Inc.
MAXIM[Maxim Integrated Products]
AD7244AQ AD7244JN AD7244JR AD7244SQ3 AD7242BQ AD72 CMOS, Dual, Complete 12-Bit Serial DACPORT TM
LC2MOS Dual, Complete, 12-Bit/14-Bit Serial DACs DUAL, SERIAL INPUT LOADING, 2 us SETTLING TIME, 12-BIT DAC, CDIP24
LC2MOS Dual, Complete, 12-Bit/14-Bit Serial DACs LC2MOS双,完整2-Bit/14-Bit串行数模转换
LC2MOS Dual/ Complete/ 12-Bit/14-Bit Serial DACs
XTAL PLAS SMT 13X5 4PAD
Analog Devices, Inc.
ANALOG DEVICES INC
http://
AD7868 AD7868BR AD7868BQ Complete 12-bit I/O System Containing a DAC And an ADC(完备2位I\O系统(包含一个A/D转换器和一个D/A转换器))
LC2MOS Complete, 12-Bit Analog I/O System SPECIALTY ANALOG CIRCUIT, PDSO28
LC2MOS Complete, 12-Bit Analog I/O System SPECIALTY ANALOG CIRCUIT, CDIP24
Analog Devices, Inc.
 
 Related keyword From Full Text Search System
VP215 semiconductor VP215 specs VP215 data VP215 integrated circuit VP215 filetype:pdf
VP215 pin VP215 器件参数 VP215 saw filter VP215 advantech pdf VP215 Voltage
 

 

Price & Availability of VP215

All Rights Reserved © IC-ON-LINE 2003 - 2022  

[Add Bookmark] [Contact Us] [Link exchange] [Privacy policy]
Mirror Sites :  [www.datasheet.hk]   [www.maxim4u.com]  [www.ic-on-line.cn] [www.ic-on-line.com] [www.ic-on-line.net] [www.alldatasheet.com.cn] [www.gdcy.com]  [www.gdcy.net]


 . . . . .
  We use cookies to deliver the best possible web experience and assist with our advertising efforts. By continuing to use this site, you consent to the use of cookies. For more information on cookies, please take a look at our Privacy Policy. X
0.46803903579712