Part Number Hot Search : 
E222M BA6198 OP450GRU 2768A LC7566 SP5503 FW262 FR130
Product Description
Full Text Search

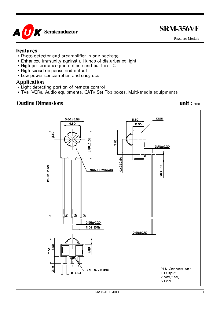
SRM356VF - Receiver Module

SRM356VF_1316393.PDF Datasheet


 Full text search : Receiver Module
 Product Description search : Receiver Module


 Related Part Number
PART Description Maker
RX2A RX2A-433-10 RX2A-433-64 UHF FM receiver module with RSSI
UHF FM Data Transmitter and Receiver Modules
Radiometrix Ltd
T-11-1250M-R3-SSC-G5 T-11-1250M-R3-SSC-GR T-11-125 FIBER OPTIC RECEIVER, 1100-1650nm, 1250Mbps, BOARD/PANEL MOUNT, ST CONNECTOR
1.25Gbps PIN-TIA Receiver Module-Receptacle (5pin-out, 3.3V)
FIBER OPTIC RECEIVER, 1100-1650nm, 1250Mbps, PANEL MOUNT, FC CONNECTOR
Source Photonics, Inc.
ETC
List of Unclassifed Manufacturers
RPM7238-H13R RPM7238-H4R RPM7238-H5R RPM7238-H8R R IR Receiver Module
Rohm
RPM7137-V4 RPM7137 RPM7137-H13 RPM7137-H4 RPM7137- IR Receiver Module
http://
ROHM[Rohm]
RPM7136-H13R RPM7136-H4R RPM7136-H5R RPM7136-H8R R IR Receiver Module
Rohm CO.,LTD.
MIM-5563H3F MIM-5443H3F INFRARED RECEIVER MODULE
Unity Opto Technology
MIM-5563H4 INFRARED RECEIVER MODULE
Unity Opto Technology
PIC-1018SMB INFRARED RECEIVER MODULE
Electronic Theatre Controls, Inc.
ETC[ETC]
List of Unclassifed Manufacturers
MIM-5363K3F MIM-5303K3F MIM-5403K3F MIM-5443K3F MI INFRARED RECEIVER MODULE
Unity Opto Technology
MIM-5383K2 INFRARED RECEIVER MODULE
Unity Opto Technology
 
 Related keyword From Full Text Search System
SRM356VF Power SRM356VF использование SRM356VF bus switch SRM356VF huck SRM356VF reference voltage
SRM356VF temperature SRM356VF eeprom pdf SRM356VF single cell SRM356VF ic查找网站 SRM356VF LPE model
 

 

Price & Availability of SRM356VF

All Rights Reserved © IC-ON-LINE 2003 - 2022  

[Add Bookmark] [Contact Us] [Link exchange] [Privacy policy]
Mirror Sites :  [www.datasheet.hk]   [www.maxim4u.com]  [www.ic-on-line.cn] [www.ic-on-line.com] [www.ic-on-line.net] [www.alldatasheet.com.cn] [www.gdcy.com]  [www.gdcy.net]


 . . . . .
  We use cookies to deliver the best possible web experience and assist with our advertising efforts. By continuing to use this site, you consent to the use of cookies. For more information on cookies, please take a look at our Privacy Policy. X
0.30272102355957