Part Number Hot Search : 
MC145405 ATF16 178M12CP 1N6322US 20163 1N5806 16GZ47 SA102
Product Description
Full Text Search

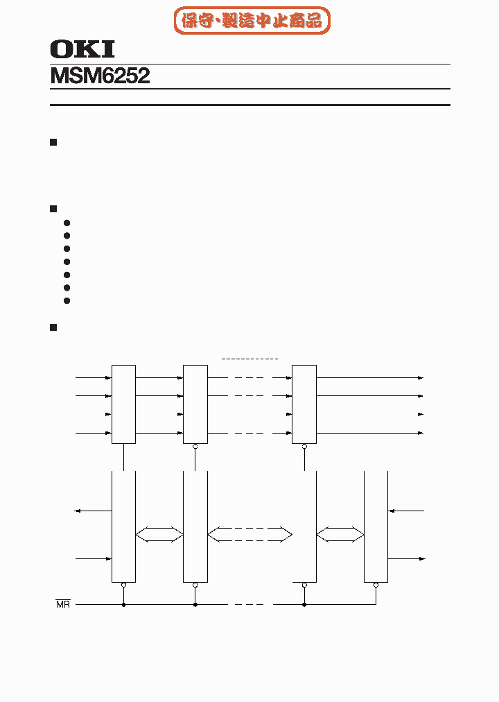
MSM6252 - 64words X Bit FIFO

MSM6252_1037192.PDF Datasheet

 
Part No. MSM6252
Description 64words X Bit FIFO

File Size 146.44K  /  12 Page  

Maker

OKI SEMICONDUCTOR CO., LTD.



JITONG TECHNOLOGY
(CHINA HK & SZ)
Datasheet.hk's Sponsor

Part: MSM6255
Maker: OKI
Pack: SMD
Stock: Reserved
Unit price for :
    50: $7.38
  100: $7.02
1000: $6.65

Email: oulindz@gmail.com

Contact us

Homepage
Download [ ]
[ MSM6252 Datasheet PDF Downlaod from Datasheet.HK ]
[MSM6252 Datasheet PDF Downlaod from Maxim4U.com ] :-)


[ View it Online ]   [ Search more for MSM6252 ]

[ Price & Availability of MSM6252 by FindChips.com ]

 Full text search : 64words X Bit FIFO
 Product Description search : 64words X Bit FIFO


 Related Part Number
PART Description Maker
IDT72T36105L4-4BB IDT72T36115L4-4BB IDT72T36125L4- 64K x 36 TeraSync FIFO, 2.5V - Best Value!
128K x 36 TeraSync FIFO, 2.5V - Best Value!
256K x 36 TeraSync FIFO, 2.5V - Best Value!
1K x 36 TeraSync FIFO, 2.5V - Best Value!
16K x 36 TeraSync FIFO, 2.5V - Best Value!
32K x 36 TeraSync FIFO, 2.5V - Best Value!
2.5 VOLT HIGH-SPEED TeraSyncTM FIFO 36-BIT CONFIGURATIONS
IDT
IDT72T1875L4-4BB IDT72T1865L4-4BBI IDT72T1885L4-4B 2.5 VOLT HIGH-SPEED TeraSync FIFO 18-BIT/9-BIT CONFIGURATIONS 2.5伏高速TeraSync先进先出18-BIT/9-BIT配置
2.5 VOLT HIGH-SPEED TeraSync FIFO 18-BIT/9-BIT CONFIGURATIONS 2.5伏高TeraSync先进先出18-BIT/9-BIT配置
2.5 VOLT HIGH-SPEED TeraSync FIFO 18-BIT/9-BIT CONFIGURATIONS 128K X 18 OTHER FIFO, 3.4 ns, PBGA240
2.5 VOLT HIGH-SPEED TeraSync FIFO 18-BIT/9-BIT CONFIGURATIONS 4K X 18 OTHER FIFO, 3.4 ns, PBGA144
Integrated Device Technology, Inc.
INTEGRATED DEVICE TECHNOLOGY INC
74HC7404 74HC7404D 74HC7404N 74HCT7404 74HCT7404D Dual 4-Input Positive-NAND Gates 14-TSSOP -40 to 85 5位64字FIFO寄存器,三
5-Bit x 64-word FIFO register 3-state
5-Bit x 64-word FIFO register; 3-state
NXP Semiconductors N.V.
Philips
MS7202AL MS7201AL MS7200L MS7200-25FC MS7201-25FC 25ns; 256 x 9, 512 x9, 1K x 9 CMOS FIFO
256 X 9 OTHER FIFO, 25 ns, PQCC32
25ns 256 x 9, 512 x9, 1K x 9 CMOS FIFO
256 x 9 CMOS FIFO
256 x 9, 512 x 9, 1K x 9 CMOS FIFO
FIFO, Single, 256x9, Uni-directional, 5V Supply, Commercial, LDCC, 32-Pin
MOSEL-VITELIC
Mosel Vitelic, Corp.
MOSEL[Mosel Vitelic, Corp]
Mosel Vitelic Corp
CY7C470 8K x 9 FIFO, 16K x 9 FIFO 32K x 9 FIFO with Programmable Flags
Cypress
CY7C425-65DC CY7C425-65KMB CY7C424-65DC CY7C429-25 1K X 9 OTHER FIFO, 30 ns, PDIP28
1K X 9 OTHER FIFO, 30 ns, PQCC32
x9 Asynchronous FIFO
CYPRESS SEMICONDUCTOR CORP
IDT72V265LA15PF IDT72V265LA15PFI 72V255LA15PF 72V2 MICROCIRCUIT, MEMORY, CMOS (STQFP) REV -
IC MEMORY FIFO SYNCHRONOUS 3.3V 8K X 18 OTHER FIFO, 10 ns, PQFP64
3.3 VOLT CMOS SuperSync FIFO 8,192 x 18 16,384 x 18
Integrated Device Techn...
INTEGRATED DEVICE TECHNOLOGY INC
Integrated Device Technology, Inc.
Integrated Device Technolog...
IDT72V2111L20PFI IDT72V2111 IDT72V2101 IDT72V21011 256K x 9 SuperSync FIFO, 3.3V
512K x 9 SuperSync FIFO, 3.3V
3.3 VOLT HIGH DENSITY CMOS SUPERSYNC FIFO?
IDT[Integrated Device Technology]
CY7C474NBSP CY7C470-15JI CY7C470-15PC CY7C474-25JC 8K x 9 FIFO, 16K x 9 FIFO 32K x 9 FIFO with Programmable Flags 32K X 9 OTHER FIFO, 25 ns, PQCC32
8K x 9 FIFO, 16K x 9 FIFO 32K x 9 FIFO with Programmable Flags 8K X 9 OTHER FIFO, 40 ns, CQCC32
8K x 9 FIFO, 16K x 9 FIFO 32K x 9 FIFO with Programmable Flags 8K X 9 OTHER FIFO, 40 ns, PQCC32
8K x 9 FIFO, 16K x 9 FIFO 32K x 9 FIFO with Programmable Flags 8K X 9 OTHER FIFO, 20 ns, CQCC32
8K x 9 FIFO, 16K x 9 FIFO 32K x 9 FIFO with Programmable Flags 8K X 9 OTHER FIFO, 40 ns, CDIP28
8K x 9 FIFO, 16K x 9 FIFO 32K x 9 FIFO with Programmable Flags 32K X 9 OTHER FIFO, 25 ns, CQCC32
8K x 9 FIFO, 16K x 9 FIFO 32K x 9 FIFO with Programmable Flags 16K X 9 OTHER FIFO, 25 ns, PDIP28
8K x 9 FIFO, 16K x 9 FIFO 32K x 9 FIFO with Programmable Flags 16K X 9 OTHER FIFO, 25 ns, PQCC32
8K x 9 FIFO, 16K x 9 FIFO 32K x 9 FIFO with Programmable Flags 32K X 9 OTHER FIFO, 40 ns, PQCC32
8K x 9 FIFO, 16K x 9 FIFO 32K x 9 FIFO with Programmable Flags 16K X 9 OTHER FIFO, 40 ns, PDIP28
CYPRESS[Cypress Semiconductor]
Cypress Semiconductor Corp.
Cypress Semiconductor, Corp.
74HCT40105PW 74HCT40105N 74HC40105N 74HC40105DB 74 4-bit x 16-word FIFO register
8-Bit Parallel-Load Shift Registers 16-SO -40 to 85
NXP Semiconductors
 
 Related keyword From Full Text Search System
MSM6252 voltage MSM6252 Number MSM6252 schematic MSM6252 datasheet online MSM6252 buffer
MSM6252 Dropout MSM6252 planar MSM6252 Cycle MSM6252 driver MSM6252 State
 

 

Price & Availability of MSM6252

All Rights Reserved © IC-ON-LINE 2003 - 2022  

[Add Bookmark] [Contact Us] [Link exchange] [Privacy policy]
Mirror Sites :  [www.datasheet.hk]   [www.maxim4u.com]  [www.ic-on-line.cn] [www.ic-on-line.com] [www.ic-on-line.net] [www.alldatasheet.com.cn] [www.gdcy.com]  [www.gdcy.net]


 . . . . .
  We use cookies to deliver the best possible web experience and assist with our advertising efforts. By continuing to use this site, you consent to the use of cookies. For more information on cookies, please take a look at our Privacy Policy. X
0.34245705604553