Part Number Hot Search : 
S3209 ADC219 RF2374 SNC10B REF01CPZ LTC6409 M8S35TDJ LA7019
Product Description
Full Text Search

HD14012 - Dual 4-input NAND Gates(??杈??涓????

HD14012_851193.PDF Datasheet

 
Part No. HD14012 HD14012B
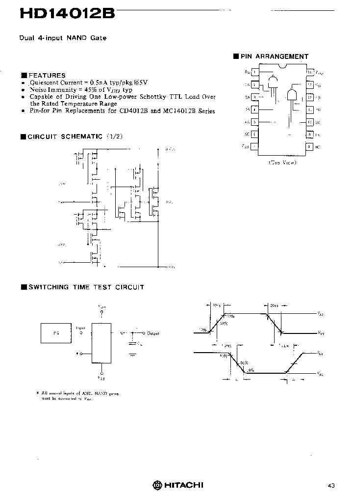
Description Dual 4-input NAND Gates(??杈??涓????

File Size 60.42K  /  6 Page  

Maker


Hitachi,Ltd.
Hitachi Semiconductor



JITONG TECHNOLOGY
(CHINA HK & SZ)
Datasheet.hk's Sponsor

Part: HD14012BP
Maker: HITACHI(日立)
Pack: DIP
Stock: 186
Unit price for :
    50: $0.26
  100: $0.25
1000: $0.23

Email: oulindz@gmail.com

Contact us

Homepage http://www.renesas.com/eng/
Download [ ]
[ HD14012 HD14012B Datasheet PDF Downlaod from Datasheet.HK ]
[HD14012 HD14012B Datasheet PDF Downlaod from Maxim4U.com ] :-)


[ View it Online ]   [ Search more for HD14012 ]

[ Price & Availability of HD14012 by FindChips.com ]

 Full text search : Dual 4-input NAND Gates(??杈??涓????
 Product Description search : Dual 4-input NAND Gates(??杈??涓????


 Related Part Number
PART Description Maker
M28C17-15BS6 M28C17-15KA6 M28C17-15MS6 M28C17-15NS 16K (2K X8) PARALLEL EEPROM
From old datasheet system
Dual 4-Input Positive-AND Gates 14-PDIP 0 to 70
Dual 4-Input Positive-NAND Gates 14-SO 0 to 70
16 Kbit 2Kb x8 Parallel EEPROM 16千位2KB的x8并行的EEPROM
Dual 4-Input Positive-AND Gates 14-SOIC 0 to 70 16千位2KB的x8并行的EEPROM
SGS Thomson Microelectronics
STMICROELECTRONICS[STMicroelectronics]
意法半导
STMicroelectronics N.V.
AAT3562IGY-320-T1 AAT3562IGY-420-T1 AAT3564IGY-420 Triple 3-input positive-AND gates 14-PDIP 0 to 70
CONNECTOR ACCESSORY
Triple 3-input positive-AND gates 14-SOIC 0 to 70
Triple 3-input positive-NAND gates 14-SOIC 0 to 70
Triple 3-input positive-NAND gates 14-PDIP 0 to 70
Dual J-K Positive-Edge-Triggered Flip-Flops With Clear and Preset 16-SOIC 0 to 70
Triple 3-input positive-NAND gates 14-SO 0 to 70
Triple 3-input positive-AND gates 14-SO 0 to 70
Dual J-K Positive-Edge-Triggered Flip-Flops With Clear and Preset 16-PDIP 0 to 70
Dual J-K Flip-Flops With Clear 14-SO 0 to 70
NanoPower Voltage Detector NanoPower电压检测器
Dual J-K Flip-Flops With Clear 14-SOIC 0 to 70 NanoPower电压检测器
Dual J-K Flip-Flops With Clear 14-PDIP 0 to 70 NanoPower电压检测器
Advanced Analogic Technologies, Inc.
MC14012BCPG MC14012BDG MC14012BDR2G MC14012B11 Dual 4-Input NAND Gates
ON Semiconductor
UT54ACTS20 Dual 4-Input NAND Gates
Aeroflex Circuit Techno...
HD74ALVC2G00 Dual 2-input NAND Gates
Hitachi Semiconductor
HD74LV2G00A-15 Dual 2?input NAND Gates
Renesas Electronics Corporation
DN74LS22 DN74LS22S Dual 4-Input Positive NAND Gates
Panasonic
U74HC00-P14-T U74HC00-D14-T U74HC00-S14-R QUADRUPLE 2-INPUT POSITIVE-NAND GATES HC/UH SERIES, QUAD 2-INPUT NAND GATE, PDSO14
QUADRUPLE 2-INPUT POSITIVE-NAND GATES HC/UH SERIES, QUAD 2-INPUT NAND GATE, DIP14
Unisonic Technologies Co., Ltd.
NLV14012BDR2G MC14012B-14 Dual 4-Input NAND Gates
   Dual 4-Input NAND Gates
ON Semiconductor
HD74LS10 Triple 3-input NAND Gates
Triple 3-input Positive NAND Gates
HITACHI[Hitachi Semiconductor]
74AUP2G38 74AUP2G38DC 74AUP2G38GM 74AUP2G38GT 74AU Low-power dual 2-input NAND gate (open-drain)
Low-power dual 2-input NAND gate; open drain; Package: SOT765-1 (VSSOP8); Container: Reel Pack, Reverse, Reverse AUP/ULP/V SERIES, DUAL 2-INPUT NAND GATE, PDSO8
Philips Semiconductors
NXP Semiconductors N.V.
 
 Related keyword From Full Text Search System
HD14012 usb circuit diagram HD14012 purpose HD14012 filetype:pdf HD14012 Adjustable HD14012 led
HD14012 Table HD14012 state HD14012 Reset HD14012 device HD14012 中文网站
 

 

Price & Availability of HD14012

All Rights Reserved © IC-ON-LINE 2003 - 2022  

[Add Bookmark] [Contact Us] [Link exchange] [Privacy policy]
Mirror Sites :  [www.datasheet.hk]   [www.maxim4u.com]  [www.ic-on-line.cn] [www.ic-on-line.com] [www.ic-on-line.net] [www.alldatasheet.com.cn] [www.gdcy.com]  [www.gdcy.net]


 . . . . .
  We use cookies to deliver the best possible web experience and assist with our advertising efforts. By continuing to use this site, you consent to the use of cookies. For more information on cookies, please take a look at our Privacy Policy. X
0.1303870677948