Part Number Hot Search : 
LM40400 273ML EL7243 LD108 MA500RUI PBY28X 91001 MSZ5231
Product Description
Full Text Search

SG1468 - Dual Polarity Tracking Regulators DUAL-POLARITY TRACKING REGULATORS 双极跟踪调节

SG1468_564934.PDF Datasheet

 
Part No. SG1468 SG1568 SG1568R_883B SG1568T_883B SG1468J SG1468T SG1468N SG1468R SG1568R SG1568T SG1568J SG1568J_883B SG1568J/883B SG1568T/883B SG1568R/883B
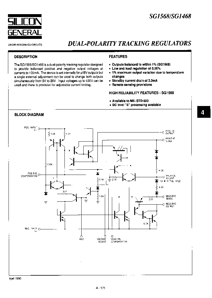
Description Dual Polarity Tracking Regulators
DUAL-POLARITY TRACKING REGULATORS 双极跟踪调节

File Size 178.15K  /  3 Page  

Maker


Linfinity Microelectronics
http://
List of Unclassifed Manufacturers
ETC[ETC]
Electronic Theatre Controls, Inc.



Homepage
Download [ ]
[ SG1468 SG1568 SG1568R_883B SG1568T_883B SG1468J SG1468T SG1468N SG1468R SG1568R SG1568T SG1568J SG15 Datasheet PDF Downlaod from Datasheet.HK ]
[SG1468 SG1568 SG1568R_883B SG1568T_883B SG1468J SG1468T SG1468N SG1468R SG1568R SG1568T SG1568J SG15 Datasheet PDF Downlaod from Maxim4U.com ] :-)


[ View it Online ]   [ Search more for SG1468 ]

[ Price & Availability of SG1468 by FindChips.com ]

 Full text search : Dual Polarity Tracking Regulators DUAL-POLARITY TRACKING REGULATORS 双极跟踪调节
 Product Description search : Dual Polarity Tracking Regulators DUAL-POLARITY TRACKING REGULATORS 双极跟踪调节


 Related Part Number
PART Description Maker
SG1468 SG1568 SG1568R_883B SG1568T_883B SG1468J SG Dual Polarity Tracking Regulators
DUAL-POLARITY TRACKING REGULATORS 双极跟踪调节
Linfinity Microelectronics
http://
List of Unclassifed Manufacturers
ETC[ETC]
Electronic Theatre Controls, Inc.
LTC3737 LTC3737EGNPBF Dual 2-Phase, No RSENSE DC/DC Controller with Output Tracking; Package: SSOP; No of Pins: 24; Temperature Range: -40°C to 125°C 1 A DUAL SWITCHING CONTROLLER, 825 kHz SWITCHING FREQ-MAX, PDSO24
Dual 2-Phase, No RSENSE™ DC/DC Controller with Output Tracking
Linear Technology, Corp.
SF2004GD SF2005G SF2005GD SF2005GA SF2001G SF2006G (SF2001GD - SF2008GD) 20.0 Ampere Dual Unipolar-Doubler Polarity Superfast Recovery Diode
(SF2001G - SF2008G) 20.0 Ampere Dual Unipolar-Doubler Polarity Superfast Recovery Diode
(SF2001GA - SF2008GA) 20.0 Ampere Dual Unipolar-Doubler Polarity Superfast Recovery Diode
Thinki Semiconductor
LT3507A LT3992 Monolithic Dual Tracking
Linear Technology
LT1933 LT3501 LT3493 LTC3407-2 LT1940 LT3506A LT19 Monolithic Dual Tracking 2A Step-Down Switching
Linear Technology
2N4118A SST4119 2N4117A 2N4119A PN4117A PN4118A PN N-Channel JFETs
IC FTDI2232L USB/SERIAL 48-LQFP
MOSFET, DUAL PP SO-8MOSFET, DUAL PP SO-8; Transistor type:MOSFET; Transistor polarity:Dual P; Voltage, Vds max:12V; Case style:SO-8; Current, Id cont:4.8A; Current, Idm pulse:-20A; Power, Pd:1.1W; Resistance, Rds on:0.035R; SMD:1;
MOSFET, DUAL PP SO-8MOSFET, DUAL PP SO-8; Transistor type:MOSFET; Transistor polarity:Dual P; Voltage, Vds max:20V; Case style:SO-8; Current, Id cont:3.6A; Current, Idm pulse:40A; Power, Pd:1.1W; Resistance, Rds on:0.06R; SMD:1;
VISAY[Vishay Siliconix]
Vishay Intertechnology,Inc.
LT3692A-15 Monolithic Dual Tracking 3.5A Step-Down Switching Regulator
Linear Technology
RC4195 Fixed 15V Dual Tracking Voltage Regulator
Raytheon
IDT54FCT620CTLB IDT54FCT620CTEB IDT54FCT620ATDB ID High Frequency Synchronous PWM Buck Controller in a 10-Lead MLPD Package.
High Frequency 2-Phase Single or Dual Output Sychronous Step Down Controller with Output Tracking and Sequencing
High Frequency 2-Phase, Single or Dual Output Synchronous Step Down Controller with Output Tracking and Sequencing
Single 8-Bit Inverting Bus Transceiver 位反向总线收发
Fairchild Semiconductor, Corp.
CMFSH-3I SMD Schottky Diode Dual: High Current: Same Polarity
DUAL, ISOLATED SILICON SCHOTTKY DIODES
CENTRAL[Central Semiconductor Corp]
LTC3736 3736F LTC3736EUF LTC3736EGN From old datasheet system
Dual 2-Phase, No RSENSE Synchronous Controller with Output Tracking
Linear Technology
LT3668HMSEPBF 40V 400mA Step-Down Switching Regulator with Dual Fault Protected Tracking LDOs
Linear Technology
 
 Related keyword From Full Text Search System
SG1468 register SG1468 module SG1468 epitaxial SG1468 Phase SG1468 components
SG1468 bridge SG1468 gaas SG1468 Driver SG1468 Gain SG1468 synchronous
 

 

Price & Availability of SG1468

All Rights Reserved © IC-ON-LINE 2003 - 2022  

[Add Bookmark] [Contact Us] [Link exchange] [Privacy policy]
Mirror Sites :  [www.datasheet.hk]   [www.maxim4u.com]  [www.ic-on-line.cn] [www.ic-on-line.com] [www.ic-on-line.net] [www.alldatasheet.com.cn] [www.gdcy.com]  [www.gdcy.net]


 . . . . .
  We use cookies to deliver the best possible web experience and assist with our advertising efforts. By continuing to use this site, you consent to the use of cookies. For more information on cookies, please take a look at our Privacy Policy. X
0.42847490310669