Part Number Hot Search : 
OCXOVST AD7943BR SH90207 SDR4420C FR40BR02 D065A 60ANGBA FLKLED
Product Description
Full Text Search

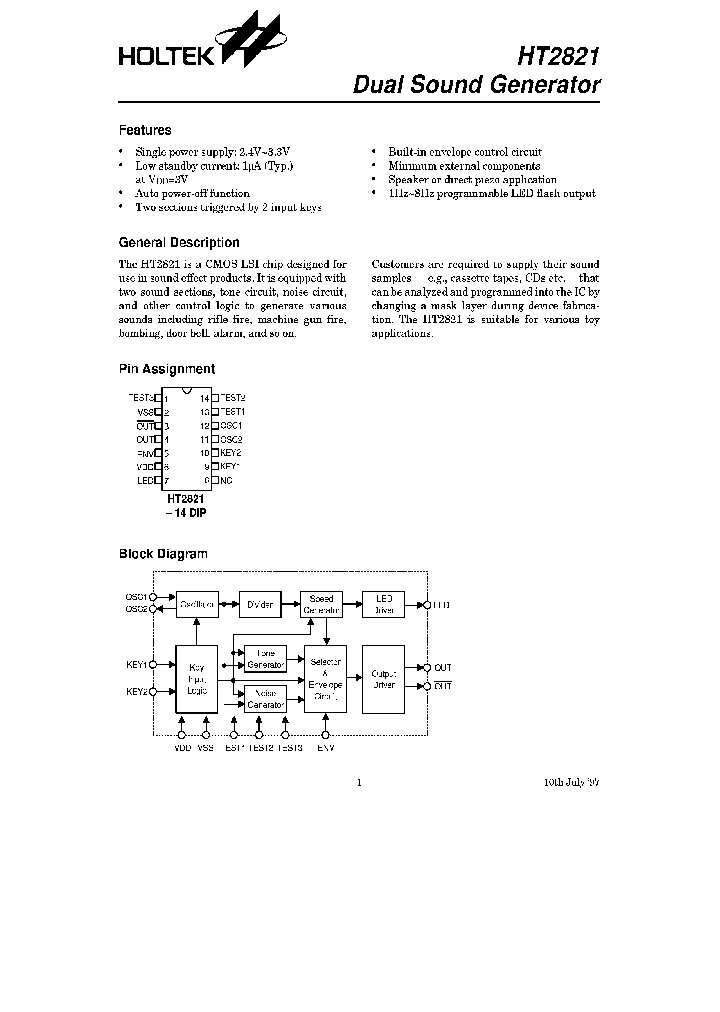
HT2821 - DUAL SOUND GENERATOR

HT2821_572145.PDF Datasheet

 
Part No. HT2821 HT2821E HT2821A
Description DUAL SOUND GENERATOR

File Size 246.52K  /  9 Page  

Maker


HOLTEK[Holtek Semiconductor Inc]



JITONG TECHNOLOGY
(CHINA HK & SZ)
Datasheet.hk's Sponsor

Part: HT2821D
Maker: HT
Pack: DIP
Stock: 134
Unit price for :
    50: $0.83
  100: $0.79
1000: $0.75

Email: oulindz@gmail.com

Contact us

Homepage http://www.holtek.com/
Download [ ]
[ HT2821 HT2821E HT2821A Datasheet PDF Downlaod from Datasheet.HK ]
[HT2821 HT2821E HT2821A Datasheet PDF Downlaod from Maxim4U.com ] :-)


[ View it Online ]   [ Search more for HT2821 ]

[ Price & Availability of HT2821 by FindChips.com ]

 Full text search : DUAL SOUND GENERATOR
 Product Description search : DUAL SOUND GENERATOR


 Related Part Number
PART Description Maker
HT2821 HT2821E HT2821A DUAL SOUND GENERATOR
HOLTEK[Holtek Semiconductor Inc]
SAA1099 Microprocessor Controlled Stereo Sound Generator for Sound Effect and Music Synthesis
Philips
HT2860 6-Sound Generator
Holtek Microelectronics
HT2812 Single Sound Generator
Holtek Microelectronics
HT2813 Single Sound Generator
Holtek Microelectronics
GM82C650 SOUND GENERATOR CIRCUIT
Hynix Semiconductor
1617 6 TONES SIREN/ALARM SOUND GENERATOR
友顺科技股份有限公司
Unisonic Technologies
EV0100 SINGLE TONE SIREN/ALARM SOUND GENERATOR
Electronic Theatre Controls, Inc.
ETC[ETC]
ML2860 16-Tone / 32-Poly Hi-Grade PCM Sound Generator LSI
16-Tone, 32-Poly Hi-Grade PCM Sound Generator LSI
OKI SEMICONDUCTOR CO., LTD.
OKI[OKI electronic componets]
OKI electronic components
1616 6 TONES SIREN/ALARM SOUND GENERATOR WITH SOFT CHIRP
Unisonic Technologies
1607-D08-T 1607 1607L-D08-T 6 TONES SIREN/ALARM SOUND GENERATOR SPECIALTY CONSUMER CIRCUIT, DIP8
Unisonic Technologies Co., Ltd.
友顺科技股份有限公司
UTC[Unisonic Technologies]
 
 Related keyword From Full Text Search System
HT2821 atmel HT2821 transceiver HT2821 Voltage HT2821 Dropout HT2821 UNITED CHEMI CON
HT2821 sfp configuration HT2821 laser diode HT2821 Data sheet HT2821 receiver HT2821 capacitors
 

 

Price & Availability of HT2821

All Rights Reserved © IC-ON-LINE 2003 - 2022  

[Add Bookmark] [Contact Us] [Link exchange] [Privacy policy]
Mirror Sites :  [www.datasheet.hk]   [www.maxim4u.com]  [www.ic-on-line.cn] [www.ic-on-line.com] [www.ic-on-line.net] [www.alldatasheet.com.cn] [www.gdcy.com]  [www.gdcy.net]


 . . . . .
  We use cookies to deliver the best possible web experience and assist with our advertising efforts. By continuing to use this site, you consent to the use of cookies. For more information on cookies, please take a look at our Privacy Policy. X
0.2335319519043