Part Number Hot Search : 
MP100 10320 74AC367 84755 MLP1005 ML101J18 000X1 19370K4A
Product Description
Full Text Search

S93663S27 - Precision supply-voltage monitor and reset controller Voltage Monitor and Reset Controller 电压监控和复位控制器

S93663S27_488767.PDF Datasheet

 
Part No. S93663S2.7 S93663PB S93663PAT S93663SAT S93662 S93662PA S93662PAT S93662PB S93662PBT S93662SA S93662SAT S93662SB S93662SBT S93663 S93663P2.7 S93663P2.7T S93663PA S93663PBT S93663S2.7T S93663SA S93663SB S93663SBT
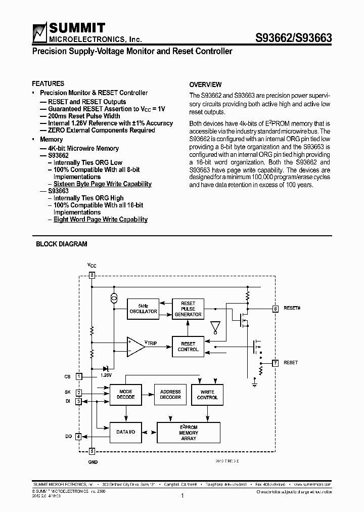
Description Precision supply-voltage monitor and reset controller
Voltage Monitor and Reset Controller 电压监控和复位控制器

File Size 75.32K  /  14 Page  

Maker


List of Unclassifed Manufacturers
ETC[ETC]
Electronic Theatre Controls, Inc.
Summit Microelectronics, Inc.



Homepage
Download [ ]
[ S93663S2.7 S93663PB S93663PAT S93663SAT S93662 S93662PA S93662PAT S93662PB S93662PBT S93662SA S93662 Datasheet PDF Downlaod from Datasheet.HK ]
[S93663S2.7 S93663PB S93663PAT S93663SAT S93662 S93662PA S93662PAT S93662PB S93662PBT S93662SA S93662 Datasheet PDF Downlaod from Maxim4U.com ] :-)


[ View it Online ]   [ Search more for S93663S27 ]

[ Price & Availability of S93663S27 by FindChips.com ]

 Full text search : Precision supply-voltage monitor and reset controller Voltage Monitor and Reset Controller 电压监控和复位控制器
 Product Description search : Precision supply-voltage monitor and reset controller Voltage Monitor and Reset Controller 电压监控和复位控制器


 Related Part Number
PART Description Maker
MC14538 MC14538BCL MC14538BCP MC14538BDW MC14538B_ UltraLow-Supply Current/Supply-Voltage Supervisory Circuit 6-SOT-23 -40 to 85
Dual Precision Retriggerable/Resettable Monostable Multivibrator
ORDERING INFORMATION
From old datasheet system
DUAL PRECISION RETRIGGERABLE / RESETTABLE MONOSTABLE MULTIVIBRATOR
MOTOROLA INC
ON Semi
MOTOROLA[Motorola, Inc]
LT1006 LT1006ACH LT1006ACJ8 LT1006AMH LT1006AMJ8 L Precision, Single Supply Op Amp OP-AMP, 200 uV OFFSET-MAX, MBCY8
Precision / Single Supply Op Amp
Precision Single Supply Op Amp
From old datasheet system
LINEAR TECHNOLOGY CORP
Linear Technology, Corp.
LINER[Linear Technology]
AMS803 AMS803XTE AMS809S AMS809XTE AMS810L AMS810M Precision supply-voltage monitor
Advanced Monolithic Systems Ltd
ZM33164-3 ZM331643C ZM331643G ZM331643N8 ZM33164-3 IC-SM-SUPPLY MONITOR SOT223 集成电路钐电源监视器的SOT223
SUPPLY VOLTAGE MONITOR 1-CHANNEL POWER SUPPLY SUPPORT CKT, PDSO8
IC-SUPPLY MONITOR 集成电路电源监视
SUPPLY VOLTAGE MONITOR 电源电压监视
IC-SM-SUPPLY MONITOR 集成电路钐电源监视器
Zetex Semiconductor PLC
Zetex Semiconductors
LT6654 LT6654BHS6-2.5TRMPBF THREE TERM VOLTAGE REFERENCE, PDSO6
SOT-23 Precision Wide Supply High Output Drive Voltage Reference
LINEAR TECHNOLOGY CORP
LT1019MH-10 LT1019MH-2.5 LT1019MH-4.5 LT1019MH-5 L Hex Inverters With Open-Collector Outputs 14-PDIP 0 to 70 1-OUTPUT THREE TERM VOLTAGE REFERENCE, 10 V, MBCY8
Quadruple 2-Input Positive-AND Gates 14-SOIC 0 to 70 1-OUTPUT THREE TERM VOLTAGE REFERENCE, 4.5 V, PDSO8
Precision Reference 1-OUTPUT THREE TERM VOLTAGE REFERENCE, 2.5 V, PDSO8
Precision Reference 1-OUTPUT THREE TERM VOLTAGE REFERENCE, 10 V, PDSO8
Precision Reference 1-OUTPUT THREE TERM VOLTAGE REFERENCE, 4.5 V, MBCY8
Precision Reference 1-OUTPUT THREE TERM VOLTAGE REFERENCE, 2.5 V, MBCY8
ER 6C 3#16 3#8 PIN RECP
From old datasheet system
Precision References
Linear Technology, Corp.
基准电压电流
Linear Technology Corporation
LINER[Linear Technology]
http://
S93WD462P-2.7 S93WD462P-2.7T S93WD462PA S93WD462SA Precision Supply-Voltage Monitor and Reset Controller With a Watchdog Timer and 1k-bit Microwire Memory
http://
Summit Microelectronics, Inc.
MAX320-MAX322 MAX322 MAX322CPA MAX322CSA MAX322CUA Precision / Dual-Supply / SPST Analog Switches
Precision, Dual Supply, SPST, Analog CMOS Switches
Precision, Dual-Supply, SPST Analog Switches
Precision Dual-Supply SPST Analog Switches
From old datasheet system
MAXIM INTEGRATED PRODUCTS INC
Maxim Integrated Products, Inc.
MAXIM - Dallas Semiconductor
MAXIM[Maxim Integrated Products]
http://
MAX478 MAX478ACPA MAX478CPA MAX478CSA MAX478EPA MA 17A Max / Dual/Quad / Single-Supply / Precision Op Amps
17A Max, Dual/Quad, Single-Supply, Precision Op Amps
From old datasheet system
17レA Max, Dual/Quad, Single-Supply, Precision Op Amps
17μA Max, Dual/Quad, Single-Supply, Precision Op Amps
MAXIM - Dallas Semiconductor
Maxim Integrated Products, Inc.
MAXIM[Maxim Integrated Products]
LT1211A LT1212 14MHz, 7V/µs, Single Supply Dual and Quad Precision Op Amps
14MHz, 7V/刁, Single Supply Dual Precision Op Amp
Linear Technology
MAX675 MAX675CPA MAX675CSA MAX675CTV MAX675EJA MAX 30V N-Channel PowerTrench MOSFET 1-OUTPUT THREE TERM VOLTAGE REFERENCE, 5 V, PDSO8
5V Precision Voltage Reference
Precision, 5V Voltage Reference, Replaced MAX673
Maxim Integrated Products, Inc.
MAXIM[Maxim Integrated Products]
MAXIM - Dallas Semiconductor
 
 Related keyword From Full Text Search System
S93663S27 single cell S93663S27 参数查询 S93663S27 mode S93663S27 Product S93663S27 download
S93663S27 Terminal S93663S27 supply S93663S27 lcd S93663S27 Serial S93663S27 Port
 

 

Price & Availability of S93663S27

All Rights Reserved © IC-ON-LINE 2003 - 2022  

[Add Bookmark] [Contact Us] [Link exchange] [Privacy policy]
Mirror Sites :  [www.datasheet.hk]   [www.maxim4u.com]  [www.ic-on-line.cn] [www.ic-on-line.com] [www.ic-on-line.net] [www.alldatasheet.com.cn] [www.gdcy.com]  [www.gdcy.net]


 . . . . .
  We use cookies to deliver the best possible web experience and assist with our advertising efforts. By continuing to use this site, you consent to the use of cookies. For more information on cookies, please take a look at our Privacy Policy. X
0.085734844207764