Part Number Hot Search : 
MT6L75FS T6250940 75S358 401CMQ TK75001 TN5D51A PL110Z MT6P06E
Product Description
Full Text Search

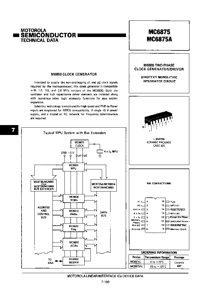
MC6875 - CLOCK GENERATOR/DRIVER (SCHOTTKY MONOLITHIC INTEGRATED CIRCUIT)

MC6875_467569.PDF Datasheet

 
Part No. MC6875 MC6875AL MC6875L MC6875A
Description CLOCK GENERATOR/DRIVER (SCHOTTKY MONOLITHIC INTEGRATED CIRCUIT)

File Size 569.58K  /  11 Page  

Maker


Motorola, Inc



JITONG TECHNOLOGY
(CHINA HK & SZ)
Datasheet.hk's Sponsor

Part: MC6875L
Maker: MOTOROLA(摩托罗拉)
Pack: CDIP
Stock: 252
Unit price for :
    50: $9.42
  100: $8.94
1000: $8.47

Email: oulindz@gmail.com

Contact us

Homepage http://www.freescale.com/
Download [ ]
[ MC6875 MC6875AL MC6875L MC6875A Datasheet PDF Downlaod from Datasheet.HK ]
[MC6875 MC6875AL MC6875L MC6875A Datasheet PDF Downlaod from Maxim4U.com ] :-)


[ View it Online ]   [ Search more for MC6875 ]

[ Price & Availability of MC6875 by FindChips.com ]

 Full text search : CLOCK GENERATOR/DRIVER (SCHOTTKY MONOLITHIC INTEGRATED CIRCUIT)
 Product Description search : CLOCK GENERATOR/DRIVER (SCHOTTKY MONOLITHIC INTEGRATED CIRCUIT)


 Related Part Number
PART Description Maker
UPD424280LLE-A80 UPD424280LLE-A70 UPD424280AG5M-80 x18 Fast Page Mode DRAM
Quad PLL Clock Generator with Serial Interface (I2C)
Low-Cost 3.3V Spread Aware™ Zero Delay Buffer
MediaClock™ MPEG Clock Generator with VCXO
MediaClock™ PDP Clock Generator
Field and Factory-Programmable Spread Spectrum Clock Generator for EMI Reduction
HOTLink II™ SMPTE Receiver Training Clock
3.3V Zero Delay Buffer x18快速页面模式的DRAM

SY89312VMGTR SY89312VMITR SY89312V 3.3V/5V, 4GHz PECL/ECL ± 2 CLOCK GENERATOR 89312 SERIES, LOW SKEW CLOCK DRIVER, 1 TRUE OUTPUT(S), 0 INVERTED OUTPUT(S), DSO8
3.3V/5V, 4GHz PECL/ECL ÷ 2 CLOCK GENERATOR
Micrel Semiconductor, Inc.
MICREL[Micrel Semiconductor]
BF-U401RD BF-U403RD BF-U404RD BS-C343RD BS-C343RD- 3.3V Phase Lock Loop Clock Driver with 3-State Outputs 48-TSSOP 一位数字LED显示
SINGLE DIGIT LED DISPLAYS 一位数字LED显示
3.3V PLL Clock Driver with 1/2x, 1x and 2x Frequency Options 28-SSOP 一位数字LED显示
Replaced by CDC421A250 : Fully Integrated Fixed Frequency Low-Jitter Crystal Oscillator Clock Generator 24-VQFN -40 to 85
ECONOLINE: RSZ/P - 1kVDC
RESISTOR,0603,10K,1%
Yellow Stone, Corp.
早安股份有限公司
ETC[ETC]
YSTONE[Yellow Stone Corp]
MSM82C84A-2GS MSM82C84A-2JS MSM82C84A-2RS OKISEMIC CLOCK GENERATOR AND DRIVER
OKI[OKI electronic componets]
OKI electronic components
CY28SRC04 CY28SRCZC-04 CY28SRCZC-04T 100 MHz, PROC SPECIFIC CLOCK GENERATOR, PDSO24 4.40 MM, TSSOP-24
PCI-Express Clock Generator
Cypress Semiconductor, Corp.
FS6128-04 FS6128-04G-XTD FS6128-04G-XTP VCXO Clock Generator, 27 MHz Output; Package: SOIC 14; No of Pins: 14; Container: Tape and Reel; Qty per Container: 3000 27 MHz, OTHER CLOCK GENERATOR, PDSO8
VCXO Clock Generator, 27 MHz Output; Package: SOIC 14; No of Pins: 14; Container: Rail; Qty per Container: 96 27 MHz, OTHER CLOCK GENERATOR, PDSO8
PLL Clock Generator IC with VXCO
ON Semiconductor
CY24133 CY24133ZC-1 CY24133ZC-1T MediaClock Digital TV Clock Generator with VCXO MediaClock数字电视与VCXO的时钟发生器
MediaClock Digital TV Clock Generator with VCXO 12.288 MHz, VIDEO CLOCK GENERATOR, PDSO16
MediaClock(TM) Digital TV Clock Generator with VCXO
Cypress Semiconductor, Corp.
Cypress Semiconductor Corp.
CYPRESS[Cypress Semiconductor]
HS9-82C85RH/PROTO HS1-82C85RH-8 HS9-82C85RH-8 HS1- Radiation Hardened CMOS Static Clock Controller/Generator 15 MHz, PROC SPECIFIC CLOCK GENERATOR, CDIP24
CONNECTOR ACCESSORY
Intersil, Corp.
Intersil Corporation
W83194BR-911 STEPLESS VIA PT/PM MAIN CLOCK GENERATOR 400.01 MHz, PROC SPECIFIC CLOCK GENERATOR, PDSO48
Winbond Electronics, Corp.
AD9522-0/PCBZ AD9522-0BCPZ 12 LVDS/24 CMOS Output Clock Generator with Integrated 2.8 GHz VCO
OTHER CLOCK GENERATOR, QCC64
ANALOG DEVICES INC
MPC9850VF MPC9850 MPC9850VFR2 500 MHz, PROC SPECIFIC CLOCK GENERATOR, PBGA100
Clock Generator for PowerQUICC III
FREESCALE SEMICONDUCTOR INC
Freescale Semiconductor, Inc
MPC9315 MPC9315FA 2.5V and 3.3V CMOS PLL Clock Generator and Driver
2.5V and 3.3V CMOS PLL Clock Generator and Drlver
Motorola, Inc
 
 Related keyword From Full Text Search System
MC6875 Processor MC6875 Output MC6875 ultra MC6875 reset MC6875 synchronous
MC6875 Corp MC6875 vishay MC6875 pwm MC6875 corp MC6875 ptc data
 

 

Price & Availability of MC6875

All Rights Reserved © IC-ON-LINE 2003 - 2022  

[Add Bookmark] [Contact Us] [Link exchange] [Privacy policy]
Mirror Sites :  [www.datasheet.hk]   [www.maxim4u.com]  [www.ic-on-line.cn] [www.ic-on-line.com] [www.ic-on-line.net] [www.alldatasheet.com.cn] [www.gdcy.com]  [www.gdcy.net]


 . . . . .
  We use cookies to deliver the best possible web experience and assist with our advertising efforts. By continuing to use this site, you consent to the use of cookies. For more information on cookies, please take a look at our Privacy Policy. X
0.55462098121643