Part Number Hot Search : 
C74HC2 A101M 5C840 HS527 PHN380 FJL6820 68B09 BAV16BPT
Product Description
Full Text Search

MT8812 - ISO-CMOS From old datasheet system

MT8812_378762.PDF Datasheet

 
Part No. MT8812 90
Description ISO-CMOS
From old datasheet system

File Size 519.20K  /  9 Page  

Maker

Zarlink



JITONG TECHNOLOGY
(CHINA HK & SZ)
Datasheet.hk's Sponsor

Part: MT8812
Maker: MT
Pack: PLCC44
Stock: 100
Unit price for :
    50: $1.23
  100: $1.17
1000: $1.10

Email: oulindz@gmail.com

Contact us

Homepage
Download [ ]
[ MT8812 90 Datasheet PDF Downlaod from Datasheet.HK ]
[MT8812 90 Datasheet PDF Downlaod from Maxim4U.com ] :-)


[ View it Online ]   [ Search more for MT8812 ]

[ Price & Availability of MT8812 by FindChips.com ]

 Full text search : ISO-CMOS From old datasheet system
 Product Description search : ISO-CMOS From old datasheet system


 Related Part Number
PART Description Maker
MT8940 MT8940AE ISO-CMOS ST-BUSFAMILY T1/CEPT Digital Trunk PLL
ISO-CMOS ST-BUS FAMILY T1/CEPT Digital Trunk PLL
ISO-CMOS ST-BUS⑩ FAMILY T1/CEPT Digital Trunk PLL
MITEL[Mitel Networks Corporation]
MT8980 MT8980D MT8980DP MT8980DE ISO-CMOS ST-BUS FAMILY Digital Switch
ISO-CMOS ST-BUS⑩ FAMILY Digital Switch
Mitel Semiconductor
MITEL[Mitel Networks Corporation]
MT8952 MT8952B MT8952BC MT8952BS MT8952BE MT8952BP ISO-CMOS ST-BUS FAMILY HDLC Protocol Controller
ISO-CMOS ST-BUS⑩ FAMILY HDLC Protocol Controller
Mitel Semiconductor
MITEL[Mitel Networks Corporation]
MT8981D-1 ISO-CMOS ST-BUSFAMILY Digital Switch
Mitel Networks Corporation
MT8808 MT8808AC MT8808AE MT8808AP ISO-CMOS 8 x 8 Analog Switch Array
Mitel Semiconductor
MITEL[Mitel Networks Corporation]
MT8809 MT8809AC MT8809AE MT8809AP MITELNETWORKSCOR ISO-CMOS 8 x 8 Analog Switch Array
MITEL[Mitel Networks Corporation]
Mitel Semiconductor
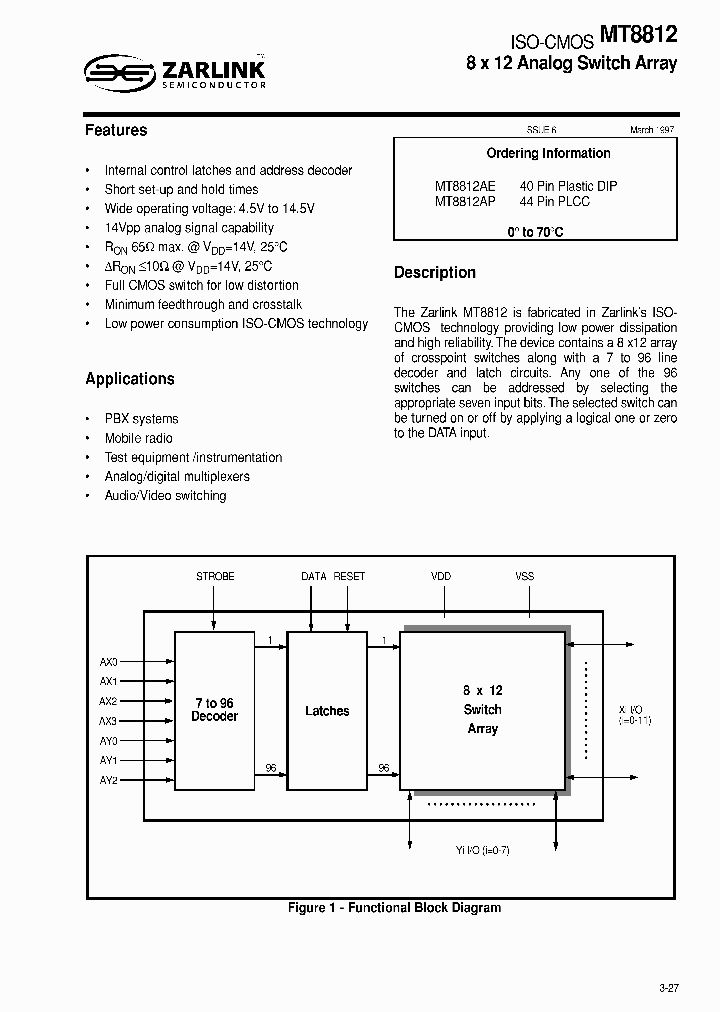
MT8812 MT8812AC MT8812AE MT8812AP ISO-CMOS 8 x 12 Analog Switch Array
Mitel Semiconductor
MITEL[Mitel Networks Corporation]
MT8814 MT8814AC MT8814AE MT8814AP ISO-CMOS 8 x 12 Analog Switch Array 标准- 8 × 12的CMOS模拟开关阵
Mitel Networks, Corp.
MITEL[Mitel Networks Corporation]
Mitel Semiconductor
MT8920BP MT8920BS ISO-CMOS ST-BUSFAMILY ST-BUS Parallel Access Circuit
Mitel Networks Corporation
24LC16 24LC16B 24LC16B-MT 24LC08B-MT 24LC08BMODULE 8K/16K I 2 C Serial EEPROMs in ISO Micromodules 8K/16K的I 2 C⑩在ISO微型模块串行EEPROM
16K IIC Serial EEPROMs in ISO micromoduls(16K1M次擦写周ISO模块)
8K/16K IIC Sserial EEPROMs in ISO micromoduls(8K1M次擦写周ISO模块)
8K/16K I 2 C ?Serial EEPROMs in ISO Micromodules
8K/16KI2CSerialEEPROMsinISOMicromodules
Microchip Technology, Inc.
MicrochipTechnology
Microchip Technology Inc.
http://
AT90SC0802RNBSP AT90SC0802R Contactless RFID Chip with AVR Microprocessor, ISO 14443
From old datasheet system
Atmel Corp
 
 Related keyword From Full Text Search System
MT8812 Module MT8812 channel MT8812 ICPRICE MT8812 digital MT8812 appreciate
MT8812 command MT8812 maxim MT8812 integrated MT8812 address MT8812 atmel
 

 

Price & Availability of MT8812

All Rights Reserved © IC-ON-LINE 2003 - 2022  

[Add Bookmark] [Contact Us] [Link exchange] [Privacy policy]
Mirror Sites :  [www.datasheet.hk]   [www.maxim4u.com]  [www.ic-on-line.cn] [www.ic-on-line.com] [www.ic-on-line.net] [www.alldatasheet.com.cn] [www.gdcy.com]  [www.gdcy.net]


 . . . . .
  We use cookies to deliver the best possible web experience and assist with our advertising efforts. By continuing to use this site, you consent to the use of cookies. For more information on cookies, please take a look at our Privacy Policy. X
0.084144115447998