Part Number Hot Search : 
2SC3204 SN52010 RN47A1JE KAS21C MSK4851 2N6586 N5392 B43721
Product Description
Full Text Search

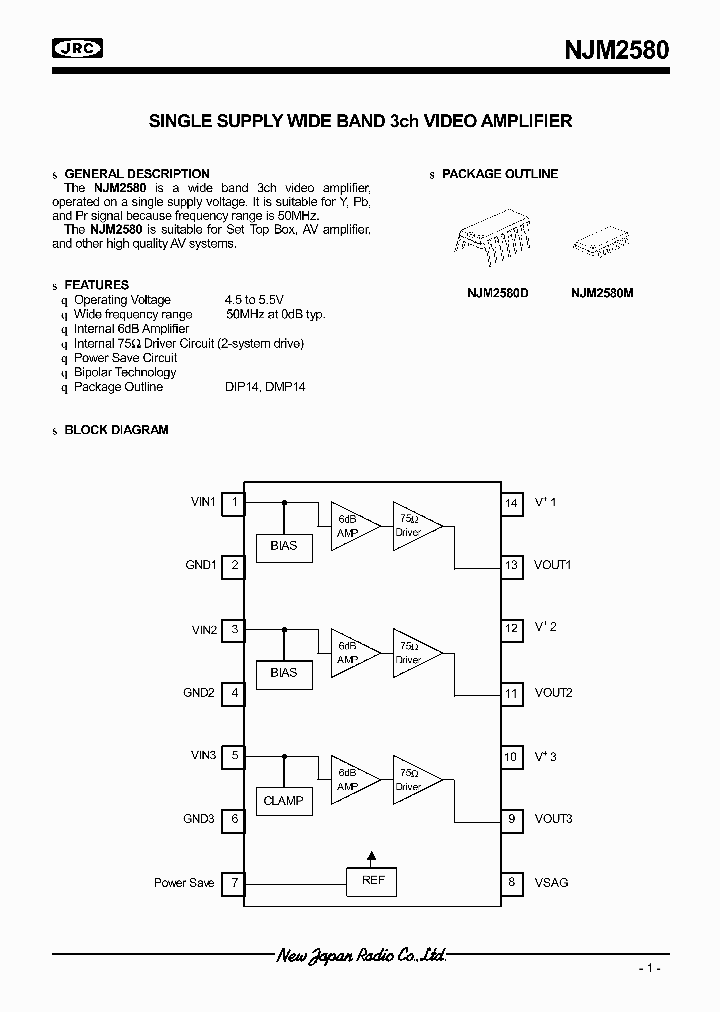
NJM2580 - SINGLE SUPPLY WIDE BAND 3ch VIDEO AMPLIFIER

NJM2580_264761.PDF Datasheet

 
Part No. NJM2580 NJM2580D NJM2580M
Description SINGLE SUPPLY WIDE BAND 3ch VIDEO AMPLIFIER

File Size 308.87K  /  8 Page  

Maker

NJRC[New Japan Radio]



JITONG TECHNOLOGY
(CHINA HK & SZ)
Datasheet.hk's Sponsor

Part: NJM2580D
Maker: JRC
Pack: DIP14
Stock: Reserved
Unit price for :
    50: $1.66
  100: $1.58
1000: $1.50

Email: oulindz@gmail.com

Contact us

Homepage
Download [ ]
[ NJM2580 NJM2580D NJM2580M Datasheet PDF Downlaod from Datasheet.HK ]
[NJM2580 NJM2580D NJM2580M Datasheet PDF Downlaod from Maxim4U.com ] :-)


[ View it Online ]   [ Search more for NJM2580 ]

[ Price & Availability of NJM2580 by FindChips.com ]

 Full text search : SINGLE SUPPLY WIDE BAND 3ch VIDEO AMPLIFIER
 Product Description search : SINGLE SUPPLY WIDE BAND 3ch VIDEO AMPLIFIER


 Related Part Number
PART Description Maker
NJM2581 NJM2581M NJM2581D DUAL SUPPLY WIDE BAND 3ch VIDEO AMPLIFIER
NJRC[New Japan Radio]
NJM12903 NJG1101F SINGLE SUPPLY DUAL COMPARATOR
WIDE BAND AGC AMPLIFIER GaAs MMIC
njr
MAX4129ESD-T Single/Dual/Quad, Wide-Bandwidth, Low-Power, Single-Supply Rail-to-Rail I/O Op Amps QUAD OP-AMP, 4000 uV OFFSET-MAX, 5 MHz BAND WIDTH, PDSO14
Maxim Integrated Products, Inc.
K4H511638C-UC K4H511638C-UCA2 K4H511638C-UCB0 K4H5 8-Bit, 20 kSPS ADC Serial Out, uProcessor Periph./Standalone, Rem. Op w/Ser. Data Link, Mux option 14-SOIC 荤的512Mb芯片DDR SDRAM内存规格
Single Wide Bandwidth High Output Drive Single Supply Op Amp 8-PDIP -40 to 125 荤的512Mb芯片DDR SDRAM内存规格
512Mb C-die DDR SDRAM Specification 荤的512Mb芯片DDR SDRAM内存规格
Single Wide Bandwidth High Output Drive Single Supply Op Amp 8-SOIC -40 to 125 荤的512Mb芯片DDR SDRAM内存规格
Dual Wide Bandwidth High Output Drive Single Supply Op Amp 8-SOIC -40 to 125 荤的512Mb芯片DDR SDRAM内存规格
8-Bit, 392 kSPS ADC Parallel Out, Microprocessor Peripheral, On-Chip Track-and-Hold, Single Channels 20-PDIP 荤的512Mb芯片DDR SDRAM内存规格
http://
Samsung Semiconductor Co., Ltd.
SAMSUNG SEMICONDUCTOR CO. LTD.
BD8601FV09 BD8601FP-E2 FET Controller Type 3ch System Power Supply ICs
Rohm
AD8602DRZ-REEL7 AD8601WDRTZ-REEL AD8602DR-REEL7 AD DigiTrim™ Dual Rail-to-Rail Input and Output Amplifier with Very Low Offset Voltage and Wide Bandwidths; Package: SOIC; No of Pins: 8; Temperature Range: Industrial DUAL OP-AMP, 7000 uV OFFSET-MAX, 8.2 MHz BAND WIDTH, PDSO8
DigiTrim™ Single Rail-to-Rail Input and Output Amplifier with Very Low Offset Voltage and Wide Bandwidths; No of Pins: 5; Temperature Range: Industrial OP-AMP, 7000 uV OFFSET-MAX, 8.2 MHz BAND WIDTH, PDSO5
DigiTrim™ Quad Rail-to-Rail Input and Output Amplifier with Very Low Offset Voltage and Wide Bandwidths; Package: SOIC; No of Pins: 14; Temperature Range: Industrial QUAD OP-AMP, 7000 uV OFFSET-MAX, 8.2 MHz BAND WIDTH, PDSO14
DigiTrim™ Quad Rail-to-Rail Input and Output Amplifier with Very Low Offset Voltage and Wide Bandwidths; Package: TSSOP; No of Pins: 14; Temperature Range: Industrial QUAD OP-AMP, 7000 uV OFFSET-MAX, 8.2 MHz BAND WIDTH, PDSO14
DigiTrim™ Dual Rail-to-Rail Input and Output Amplifier with Very Low Offset Voltage and Wide Bandwidths; Package: MSOP; No of Pins: 8; Temperature Range: Industrial DUAL OP-AMP, 7000 uV OFFSET-MAX, 8.2 MHz BAND WIDTH, PDSO8
Precision CMOS, Single-Supply, Rail-to-Rail, Input/Output Wideband Operational Amplifiers
   Precision CMOS, Single-Supply, Rail-to-Rail, Input/Output Wideband Operational Amplifiers
Analog Devices, Inc.
ANALOG DEVICES INC
NJM2722E NJM2722 Single Ultra-High speed and Wide Band Operational Amplifier
NJRC[New Japan Radio]
UPC4572 UPC4572C UPC4572G2 UPC4572HA LOW SUPPLY VOLTAGE/ULTRA LOW-NOISE/HIGH SPEED/WIDE BAND/LOW IB DUAL OPERATIONAL AMPLIFIER
LOW SUPPLY VOLTAGE,ULTRA LOW-NOISE,HIGH SPEED,WIDE BAND,LOW IB DUAL OPERATIONAL AMPLIFIER
NEC Corp.
NEC[NEC]
SA5205AD SA5205AN NE5205AD NE5205AN NE5205A SA5205 Wide-band high-frequency amplifier 0 MHz - 600 MHz RF/MICROWAVE WIDE BAND LOW POWER AMPLIFIER
NXP Semiconductors N.V.
PHILIPS[Philips Semiconductors]
5962-9317002MYX Single/Dual/Quad, Wide-Bandwidth, Low-Power, Single-Supply Rail-to-Rail I/O Op Amps 模拟定时器电
Omron Electronics LLC Industrial Automation
 
 Related keyword From Full Text Search System
NJM2580 rohm NJM2580 Voltage NJM2580 Positive NJM2580 ic equivalent NJM2580 step
NJM2580 suply voltase IC NJM2580 download NJM2580 制造商 NJM2580 的参数 NJM2580 analog
 

 

Price & Availability of NJM2580

All Rights Reserved © IC-ON-LINE 2003 - 2022  

[Add Bookmark] [Contact Us] [Link exchange] [Privacy policy]
Mirror Sites :  [www.datasheet.hk]   [www.maxim4u.com]  [www.ic-on-line.cn] [www.ic-on-line.com] [www.ic-on-line.net] [www.alldatasheet.com.cn] [www.gdcy.com]  [www.gdcy.net]


 . . . . .
  We use cookies to deliver the best possible web experience and assist with our advertising efforts. By continuing to use this site, you consent to the use of cookies. For more information on cookies, please take a look at our Privacy Policy. X
0.46665596961975