Part Number Hot Search : 
30D60B 1LV44 80C196EA CDSCA1 MC1436D PU120 SA604AD 1030D
Product Description
Full Text Search

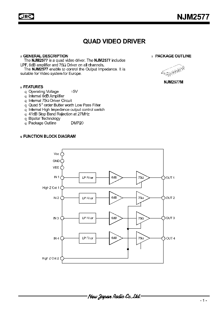
NJM2577 - QUAD VIDEO DRIVER

NJM2577_263753.PDF Datasheet

 
Part No. NJM2577
Description QUAD VIDEO DRIVER

File Size 79.93K  /  7 Page  

Maker

NJRC[New Japan Radio]



JITONG TECHNOLOGY
(CHINA HK & SZ)
Datasheet.hk's Sponsor

Part: NJM2577M
Maker: NJR
Pack: ETC
Stock: Reserved
Unit price for :
    50: $0.00
  100: $0.00
1000: $0.00

Email: oulindz@gmail.com

Contact us

Homepage
Download [ ]
[ NJM2577 Datasheet PDF Downlaod from Datasheet.HK ]
[NJM2577 Datasheet PDF Downlaod from Maxim4U.com ] :-)


[ View it Online ]   [ Search more for NJM2577 ]

[ Price & Availability of NJM2577 by FindChips.com ]

 Full text search : QUAD VIDEO DRIVER
 Product Description search : QUAD VIDEO DRIVER


 Related Part Number
PART Description Maker
SP26LV431CN-L_TR SP26LV431EN-L SP26LV431 SP26LV431 QUAD LINE DRIVER, PDIP16
QUAD LINE DRIVER, PDSO16 ROHS COMPLIANT, MO-012AC, SOIC-16
HIGH SPEED 3.3V QUAD RS-422 DIFFERENTIAL LINE DRIVER
Exar, Corp.
Exar Corporation
MAX4545CWP-T MAX4546EEE Quad/Dual, Low-Voltage, Bidirectional RF Video Switches QUAD 1-CHANNEL, AUDIO/VIDEO SWITCH, PDSO20
DUAL 1-CHANNEL, AUDIO/VIDEO SWITCH, PDSO16
Maxim Integrated Products, Inc.
MAXIM INTEGRATED PRODUCTS INC
ADG794 ADG794BRQZ ADG794BRQZ-500RL7 ADG794BRQZ-REE Low Voltage, 300 MHz Quad 2:1 Mux Analog HDTV Audio/Video Switch QUAD 2-CHANNEL, AUDIO/VIDEO SWITCH, PDSO16
Analog Devices, Inc.
AD[Analog Devices]
NJM2538 NJM2538V Quad Low-Voltage Operational Amplifers with Rail-To-Rail Outputs 14-TSSOP -40 to 85
Video Amplifier with 75 ohms Driver
New Japan Radio Co., Ltd.
NJRC[New Japan Radio]
EL2211CS EL2411CS EL2210 EL2210CN EL2210CS EL2210C Low Cost, Dual, Triple and Quad Video Op Amps 1 CHANNEL, VIDEO AMPLIFIER, PDSO8
Intersil, Corp.
INTERSIL[Intersil Corporation]
ML6429CS-1 ML6429 ML6429CS 75 Ohm Quad Video Cable Drivers and Filters with Switchable Inputs
75з Quad Video Cable Drivers and Filters with Switchable Inputs
75 Quad Video Cable Drivers and Filters with Switchable Inputs
From old datasheet system
75?/a> Quad Video Cable Drivers and Filters with Switchable Inputs
FAIRCHILD[Fairchild Semiconductor]
CAT3636HV3-GT2 CAT3636 CAT3636HV3-T2 LED Driver, Quad mode, 6 ch LED DISPLAY DRIVER, QCC16
6-Channel Quad-Mode Fractional LED Driver in TQFN 3x3
ON Semiconductor
MCVVQ111AFB MCVVQ111A MCVVQ111A VirtuoVue Monchrome Video Display Driver
VirtuoVue Monochrome Video Display Driver
Motorola, Inc
LTC487INPBF LTC487ISTRPBF Quad Low Power RS485 Driver; Package: PDIP; No of Pins: 16; Temperature Range: -40°C to 85°C
QUAD LINE DRIVER, PDSO16
LINEAR TECHNOLOGY CORP
 
 Related keyword From Full Text Search System
NJM2577 capacitors NJM2577 amplifier NJM2577 Ic on line NJM2577 Semiconductors NJM2577 corp
NJM2577 crystal NJM2577 maker NJM2577 cost NJM2577 dropout NJM2577 server
 

 

Price & Availability of NJM2577

All Rights Reserved © IC-ON-LINE 2003 - 2022  

[Add Bookmark] [Contact Us] [Link exchange] [Privacy policy]
Mirror Sites :  [www.datasheet.hk]   [www.maxim4u.com]  [www.ic-on-line.cn] [www.ic-on-line.com] [www.ic-on-line.net] [www.alldatasheet.com.cn] [www.gdcy.com]  [www.gdcy.net]


 . . . . .
  We use cookies to deliver the best possible web experience and assist with our advertising efforts. By continuing to use this site, you consent to the use of cookies. For more information on cookies, please take a look at our Privacy Policy. X
1.1733958721161