Part Number Hot Search : 
NSC05234 QS5930T 10154 TC11CP 47M63 M4003 GES5817 UTC9018
Product Description
Full Text Search

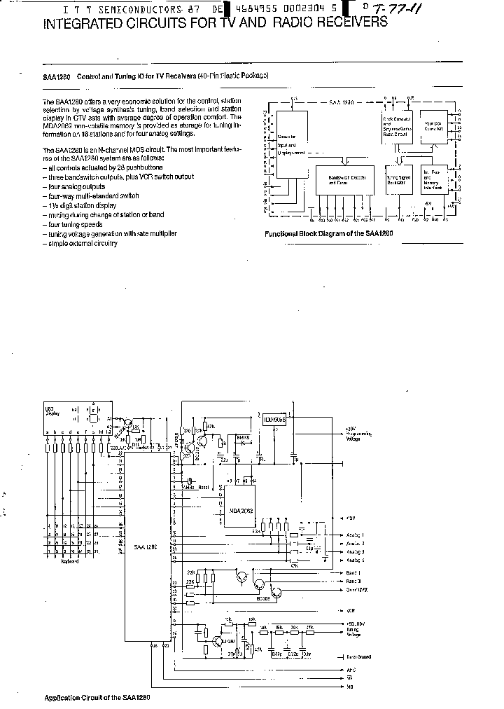
SAA1280NBSP - SAA1280 Integrated Circuits for TV and Radio Receivers From old datasheet system

SAA1280NBSP_249159.PDF Datasheet


 Full text search : SAA1280 Integrated Circuits for TV and Radio Receivers From old datasheet system
 Product Description search : SAA1280 Integrated Circuits for TV and Radio Receivers From old datasheet system


 Related Part Number
PART Description Maker
AS8218 AS8228 Highly Integrated Single Phase 2 Current Energy Metering Integrated Circuits
austriamicrosystems AG
AM7968/AM7969 AM7968-125LMC AM7969-175 AM7968-175D TAXIchip Integrated Circuits: Transparent Asynchronous Transmitter/Receiver Interface
16MHZ, TQFP, COM TEMP(MCU 5X)
16MHZ, TQFP, IND TEMP, GREEN, 2.7-5.5V(MCU 5X)
TAXIchip Integrated Circuits(Transparent Asynchronous Xmitter-Receiver Interface) TAXIchip集成电路(透明异步Xmitter,接收器接口
Advanced Micro Devices, Inc.
ITC100P ITC100PTR Integrated Telecom Circuits
Clare, Inc.
NTE74120 Integrated Circuits - TTL
NTE Electronics
ITC117PL ITC117PLTR Integrated Telecom Circuits
IXYS Corporation
ITC137P ITC137PTR ITC137P12 Integrated Telecom Circuits
IXYS Corporation
NE564 LINEAR INTEGRATED CIRCUITS
ETC
List of Unclassifed Manufacturers
MC940 MC949 (MC94x) INTEGRATED CIRCUITS
MOTOROLA
BD63960EFV Silicon monolithic integrated circuits
Rohm
BU9798GUW Silicon monolithic integrated circuits
Rohm
AP89085 AP89085-15 AP89341 P89170 Integrated Circuits Inc.
VOICE OTP IC
Aplus Intergrated Circuits
Aplus Intergrated Circu...
AN247P Linear Monolithic Integrated Circuits
Matsushita Electric
 
 Related keyword From Full Text Search System
SAA1280NBSP performance SAA1280NBSP differential SAA1280NBSP Cirkuit diagram SAA1280NBSP Address SAA1280NBSP switching
SAA1280NBSP data SAA1280NBSP alldatasheet SAA1280NBSP Detector SAA1280NBSP texas SAA1280NBSP BLDC motor driver
 

 

Price & Availability of SAA1280NBSP

All Rights Reserved © IC-ON-LINE 2003 - 2022  

[Add Bookmark] [Contact Us] [Link exchange] [Privacy policy]
Mirror Sites :  [www.datasheet.hk]   [www.maxim4u.com]  [www.ic-on-line.cn] [www.ic-on-line.com] [www.ic-on-line.net] [www.alldatasheet.com.cn] [www.gdcy.com]  [www.gdcy.net]


 . . . . .
  We use cookies to deliver the best possible web experience and assist with our advertising efforts. By continuing to use this site, you consent to the use of cookies. For more information on cookies, please take a look at our Privacy Policy. X
0.30236601829529