Part Number Hot Search : 
XS170S 2SC5037 TA1091A CD6283A 448UA TA0502A SPE06SB 64113212
Product Description
Full Text Search

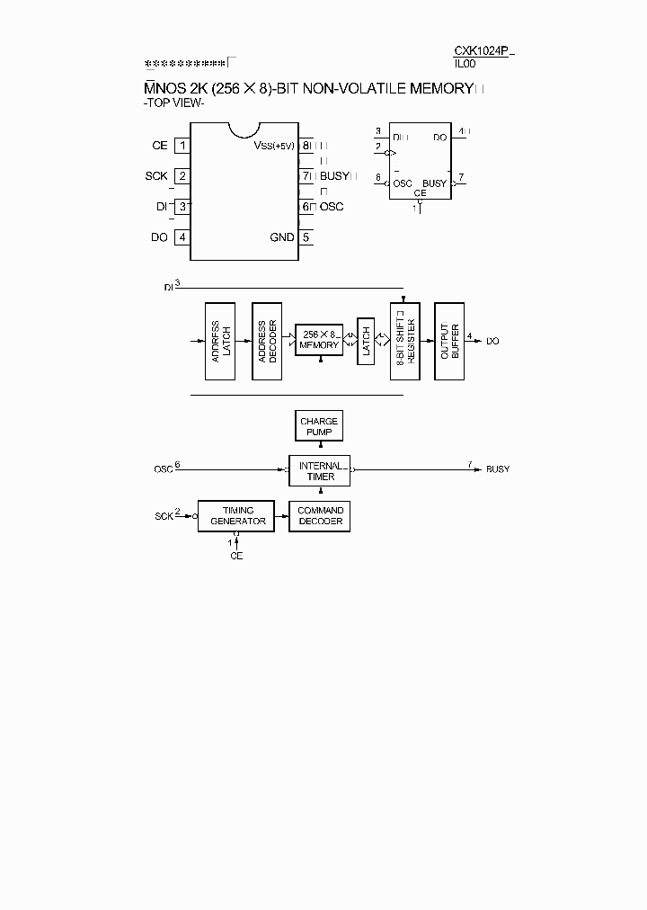
CXK1024P - MNOS 2K (256 X 8)-BIT NON-VOLATILE MEMORY

CXK1024P_237916.PDF Datasheet


 Full text search : MNOS 2K (256 X 8)-BIT NON-VOLATILE MEMORY
 Product Description search : MNOS 2K (256 X 8)-BIT NON-VOLATILE MEMORY


 Related Part Number
PART Description Maker
CXK1024P NMOS 2K Bit Non-Volatile Memory
MNOS 2K (256 X 8)-BIT NON-VOLATILE MEMORY
ETC
List of Unclassifed Manufacturers
HYB314175BJ-50- HYB314175BJL-50 HYB314175BJ-60 HYB High-Speed Fully-Differential Amplifiers 8-MSOP-PowerPAD -40 to 85 3.3V56亩16位江户的DRAM 3.3V56亩16位江户与DRAM的低功率版本自刷
3.3V 256 K x 16-Bit EDO-DRAM 3.3V 256 K x 16-Bit EDO-DRAM Low power version with Self Refresh
3.3V 256 K x 16-Bit EDO-DRAM(3.3V 256K×16外延式数据输出(EDO)动态RAM)
http://
SIEMENS AG
NM93C06EM8 NM93C06EMT8 NM93C06EN NM93CS06EMT8 NM93 256-Bit Serial CMOS EEPROM (MICROWIRE?/a> Synchronous Bus)
The CAT24FC02 is a 2-kb Serial CMOS EEPROM internally organized as 256 words of 8 bits each 16 X 16 MICROWIRE BUS SERIAL EEPROM, PDIP8
Card Edge Connector; No. of Contacts:40; Pitch Spacing:0.1" RoHS Compliant: Yes
256-Bit Serial CMOS EEPROM (MICROWIRE⑩ Synchronous Bus)
256-BIT SERIAL CMOS EEPROM (MICROWIRE⒙ SYNCHRONOUS BUS)
256-Bit Serial CMOS EEPROM (MICROWIRE Synchronous Bus)
256-Bit Serial CMOS EEPROM (MICROWIRE?Synchronous Bus)
Fairchild Semiconductor, Corp.
EEPROM
Fairchild Semiconductor Corporation
FAIRCHILD[Fairchild Semiconductor]
Q67100-Q607 Q67100-Q608 Q67100-Q433 Q67100-Q542 Q6 256 K x 4-Bit Dynamic RAM Low Power 256 K x 4-Bit Dynamic RAM 256亩4位动态随机存储器的低功56亩4位动态随机存储器
256 K x 4-Bit Dynamic RAM Low Power 256 K x 4-Bit Dynamic RAM 256K X 4 FAST PAGE DRAM, 60 ns, PDIP20
http://
SIEMENS A G
SIEMENS AG
CC THIN FILM MNOS CAPACITOR SERIES
California Micro Devices Corporation
AM41DL1634DB30IT AM41DL1634DB45IS AM41DL1634DB70IS 16 Megabit (2 M x 8-Bit/1 M x 16-Bit) CMOS 3.0 Volt-only, Simultaneous Operation Flash Memory and 4 Mbit (512 K x 8-Bit/256 K x 16-Bit) Static RAM
AMD[Advanced Micro Devices]
AM29LV002 AM29LV002B-90RECB AM29LV002B-120FCB AM29 2 Megabit (256 K x 8-Bit) CMOS 3.0 Volt-only/ Boot Sector Flash Memory
Half Bridge Driver, LO Out of Phase with RT, Programmable Oscillating Frequency, 1.2us Deadtime in a 8-pin DIP package
2 Megabit (256 K x 8-Bit) CMOS 3.0 Volt-only, Boot Sector Flash Memory 2兆位56亩8位).0伏的CMOS只,引导扇区闪存
Connector 连接
2 Megabit (256 K x 8-Bit) CMOS 3.0 Volt-only, Boot Sector Flash Memory 256K X 8 FLASH 3V PROM, 100 ns, PDSO40
2 Megabit (256 K x 8-Bit) CMOS 3.0 Volt-only, Boot Sector Flash Memory 256K X 8 FLASH 3V PROM, 120 ns, PDSO40
MB 18C 18#20 PIN RECP 256K X 8 FLASH 3V PROM, 120 ns, PDSO40
2 Megabit (256 K x 8-Bit) CMOS 3.0 Volt-only, Boot Sector Flash Memory 2兆位256亩8位).0伏的CMOS只,引导扇区闪存
256K X 8 FLASH 3V PROM, 90 ns, PDSO40
AMD
Advanced Micro Devices, Inc.
SPANSION LLC
ADVANCED MICRO DEVICES INC
AM29F400BB-55FEB AM29F400BB-55FIB AM29F400BT-55FCB 4 Megabit (512 K x 8-Bit/256 K x 16-Bit) CMOS 5.0 Volt-only Boot Sector Flash Memory 256K X 16 FLASH 5V PROM, 70 ns, PDSO48
4 Megabit (512 K x 8-Bit/256 K x 16-Bit) CMOS 5.0 Volt-only Boot Sector Flash Memory 4兆位12亩x 8-Bit/256亩x 16位).0伏的CMOS只引导扇区闪
Advanced Micro Devices, Inc.
http://
HYB314171BJ-50- HYB314171BJL-50 HYB314171BJL-70 HY 3.3V 256 K x 16-Bit Dynamic RAM 3.3V Low Power 256 K x 16-Bit Dynamic RAM with Self Refresh
http://
SIEMENS A G
SIEMENS AG
AM29F400BT-90FC AM29F400BT-90EIB AM29F400BT-90SE 4 Megabit (512 K x 8-Bit/256 K x 16-Bit) CMOS 5.0 Volt-only Boot Sector Flash Memory 256K X 16 FLASH 5V PROM, 90 ns, PDSO48
4 Megabit (512 K x 8-Bit/256 K x 16-Bit) CMOS 5.0 Volt-only Boot Sector Flash Memory 4兆位12亩x 8-Bit/256亩x 16位).0伏的CMOS只引导扇区闪
4 Megabit (512 K x 8-Bit/256 K x 16-Bit) CMOS 5.0 Volt-only Boot Sector Flash Memory 256K X 16 FLASH 5V PROM, 90 ns, PDSO44
Advanced Micro Devices, Inc.
AM2855 AM2856 (AM2855 - AM2857) Quad 128-Bit / Dual 256-Bit and Single 512-Bit Static Shift Registers
AMD
AM41LV3204MT10IT Stacked Multi-chip Package (MCP) 32 Mbit (4 M x 8 bit/2 M x 16-bit) Flash Memory and 4 Mbit (512K x 8-Bit/256 K x 16-Bit) Static RAM
Advanced Micro Devices, Inc.
 
 Related keyword From Full Text Search System
CXK1024P Source CXK1024P application CXK1024P intersil CXK1024P Differential CXK1024P SePIC
CXK1024P cost CXK1024P m85049 CXK1024P 0pam CXK1024P Terminal CXK1024P upload
 

 

Price & Availability of CXK1024P

All Rights Reserved © IC-ON-LINE 2003 - 2022  

[Add Bookmark] [Contact Us] [Link exchange] [Privacy policy]
Mirror Sites :  [www.datasheet.hk]   [www.maxim4u.com]  [www.ic-on-line.cn] [www.ic-on-line.com] [www.ic-on-line.net] [www.alldatasheet.com.cn] [www.gdcy.com]  [www.gdcy.net]


 . . . . .
  We use cookies to deliver the best possible web experience and assist with our advertising efforts. By continuing to use this site, you consent to the use of cookies. For more information on cookies, please take a look at our Privacy Policy. X
0.38039112091064