Part Number Hot Search : 
88456 16VT175L MAX14 ON0043 B66397 BC850W 20N06 XR1007
Product Description
Full Text Search

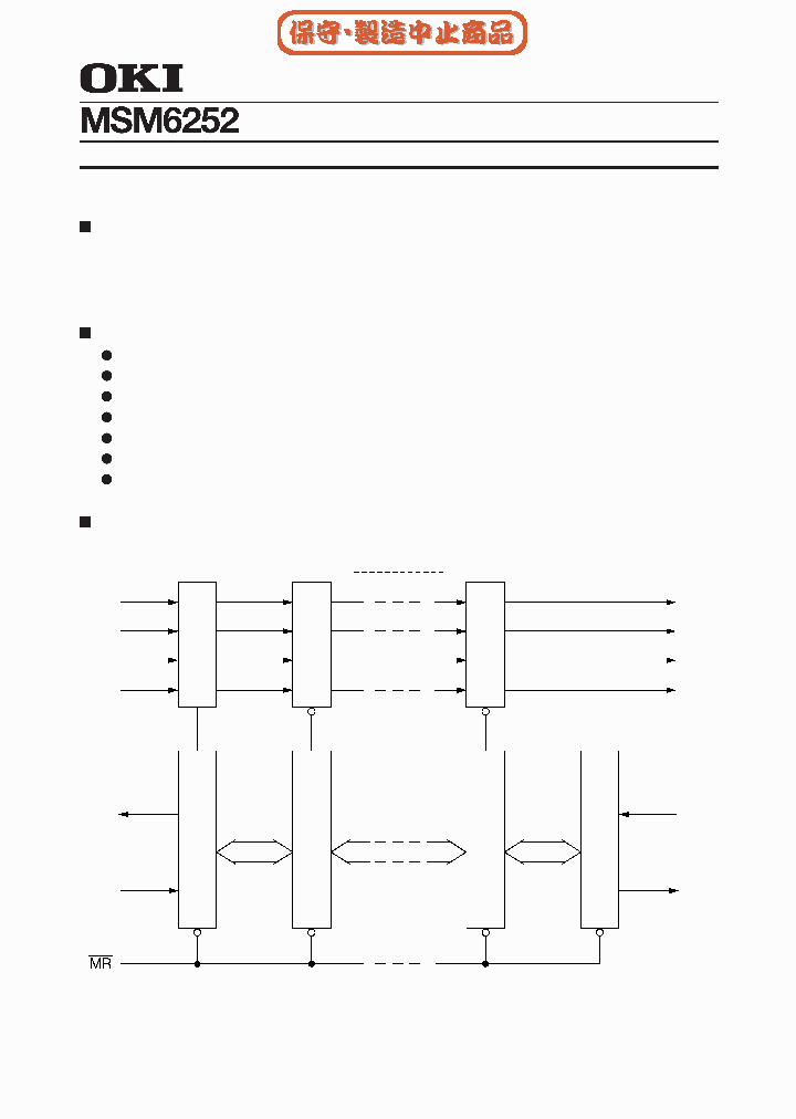
MSM6252 - 64words X Bit FIFO

MSM6252_227132.PDF Datasheet

 
Part No. MSM6252
Description 64words X Bit FIFO

File Size 129.03K  /  11 Page  

Maker


OKI electronic componets



JITONG TECHNOLOGY
(CHINA HK & SZ)
Datasheet.hk's Sponsor

Part: MSM6255
Maker: OKI
Pack: SMD
Stock: Reserved
Unit price for :
    50: $7.38
  100: $7.02
1000: $6.65

Email: oulindz@gmail.com

Contact us

Homepage http://www.oki.com
Download [ ]
[ MSM6252 Datasheet PDF Downlaod from Datasheet.HK ]
[MSM6252 Datasheet PDF Downlaod from Maxim4U.com ] :-)


[ View it Online ]   [ Search more for MSM6252 ]

[ Price & Availability of MSM6252 by FindChips.com ]

 Full text search : 64words X Bit FIFO
 Product Description search : 64words X Bit FIFO


 Related Part Number
PART Description Maker
CY7C404-25PC CY7C403-15DC CY7C403-15DMB CY7C402-10 64 x 4 Cascadable FIFO / 64 x 5 Cascadable FIFO 64 X 5 OTHER FIFO, 40 ns, CDIP18
64 x 4 Cascadable FIFO / 64 x 5 Cascadable FIFO 64 X 5 OTHER FIFO, 40 ns, PDIP18
64 x 4 Cascadable FIFO / 64 x 5 Cascadable FIFO 64 X 5 OTHER FIFO, 55 ns, CDIP18
64 x 4 Cascadable FIFO / 64 x 5 Cascadable FIFO 64 X 4 OTHER FIFO, 55 ns, CDIP16
64 x 4 Cascadable FIFO / 64 x 5 Cascadable FIFO 64 X 5 OTHER FIFO, 55 ns, PDIP18
(CY7C401 - CY7C404) 64 x 4 Cascadable FIFO / 64 x 5 Cascadable FIFO
64 x 4 Cascadable FIFO / 64 x 5 Cascadable FIFO 64 X 4 OTHER FIFO, 40 ns, CDIP16
64 x 4 Cascadable FIFO / 64 x 5 Cascadable FIFO 64 X 4 OTHER FIFO, 34 ns, CDIP16
CYPRESS[Cypress Semiconductor]
Cypress Semiconductor Corp.
Cypress Semiconductor, Corp.
5962-8956806QUA 5962-8956805VUA 5962-8956805VYA 59 308ksps ADC with DSP Interface and 78dB SINAD
12-Bit 300ksps ADCs with FIFO, Temp Sensor, Internal Reference
x9 Asynchronous FIFO X9热卖异步FIFO
TOKO, Inc.
CY7C408A-35VC CY7C408A-35PC CY7C408A-25PC CY7C409A 64 x 8 Cascadable FIFO 64 x 9 Cascadable FIFO 64 X 9 OTHER FIFO, 23 ns, PDSO28
64 x 8 Cascadable FIFO 64 x 9 Cascadable FIFO 64 X 9 OTHER FIFO, 23 ns, CDIP28
64 x 8 Cascadable FIFO 64 x 9 Cascadable FIFO 64 X 9 OTHER FIFO, 23 ns, CQCC28
Cypress Semiconductor, Corp.
Cypress Semiconductor Corp.
CYPRESS[Cypress Semiconductor]
MS7202AL MS7201AL MS7200L MS7200-25FC MS7201-25FC 25ns; 256 x 9, 512 x9, 1K x 9 CMOS FIFO
256 X 9 OTHER FIFO, 25 ns, PQCC32
25ns 256 x 9, 512 x9, 1K x 9 CMOS FIFO
256 x 9 CMOS FIFO
256 x 9, 512 x 9, 1K x 9 CMOS FIFO
FIFO, Single, 256x9, Uni-directional, 5V Supply, Commercial, LDCC, 32-Pin
MOSEL-VITELIC
Mosel Vitelic, Corp.
MOSEL[Mosel Vitelic, Corp]
Mosel Vitelic Corp
IDT7207L30SOG IDT7207L25SOG IDT7207L40SOG IDT7207L CMOS ASYNCHRONOUS FIFO 16K X 9 OTHER FIFO, 50 ns, PDIP28
CMOS ASYNCHRONOUS FIFO 32K X 9 OTHER FIFO, 20 ns, CDIP28
CMOS ASYNCHRONOUS FIFO 异步FIFO的CMOS
CMOS ASYNCHRONOUS FIFO 2K X 9 OTHER FIFO, 15 ns, PDIP28
CMOS ASYNCHRONOUS FIFO 16K X 9 OTHER FIFO, 25 ns, CDIP28
CMOS ASYNCHRONOUS FIFO 64K X 9 OTHER FIFO, 25 ns, PDIP28
CMOS ASYNCHRONOUS FIFO 64K X 9 OTHER FIFO, 25 ns, PQCC32
CMOS ASYNCHRONOUS FIFO 64K X 9 OTHER FIFO, 20 ns, PDIP28
Integrated Device Technology, Inc.
74HC7030 74HCT7030 9-bit x 64-word FIFO register; 3-state
9-bit x 64-word FIFO register;3-state(64x9-先进先出寄存器;(三态))
9-bit x 64-word FIFO register 3-state
NXP Semiconductors
Philips
AL440B AL440B-12 AL440B-24 4M-bits FIFO field memory
4Mbits (512k x 8-bit) FIFO memory
4MBits FIFO Field Memory
ETC[ETC]
N.A.
AVERLOGIC
IDT72V2111L20PFI IDT72V2111 IDT72V2101 IDT72V21011 256K x 9 SuperSync FIFO, 3.3V
512K x 9 SuperSync FIFO, 3.3V
3.3 VOLT HIGH DENSITY CMOS SUPERSYNC FIFO?
IDT[Integrated Device Technology]
CY7C474NBSP CY7C470-15JI CY7C470-15PC CY7C474-25JC 8K x 9 FIFO, 16K x 9 FIFO 32K x 9 FIFO with Programmable Flags 32K X 9 OTHER FIFO, 25 ns, PQCC32
8K x 9 FIFO, 16K x 9 FIFO 32K x 9 FIFO with Programmable Flags 8K X 9 OTHER FIFO, 40 ns, CQCC32
8K x 9 FIFO, 16K x 9 FIFO 32K x 9 FIFO with Programmable Flags 8K X 9 OTHER FIFO, 40 ns, PQCC32
8K x 9 FIFO, 16K x 9 FIFO 32K x 9 FIFO with Programmable Flags 8K X 9 OTHER FIFO, 20 ns, CQCC32
8K x 9 FIFO, 16K x 9 FIFO 32K x 9 FIFO with Programmable Flags 8K X 9 OTHER FIFO, 40 ns, CDIP28
8K x 9 FIFO, 16K x 9 FIFO 32K x 9 FIFO with Programmable Flags 32K X 9 OTHER FIFO, 25 ns, CQCC32
8K x 9 FIFO, 16K x 9 FIFO 32K x 9 FIFO with Programmable Flags 16K X 9 OTHER FIFO, 25 ns, PDIP28
8K x 9 FIFO, 16K x 9 FIFO 32K x 9 FIFO with Programmable Flags 16K X 9 OTHER FIFO, 25 ns, PQCC32
8K x 9 FIFO, 16K x 9 FIFO 32K x 9 FIFO with Programmable Flags 32K X 9 OTHER FIFO, 40 ns, PQCC32
8K x 9 FIFO, 16K x 9 FIFO 32K x 9 FIFO with Programmable Flags 16K X 9 OTHER FIFO, 40 ns, PDIP28
CYPRESS[Cypress Semiconductor]
Cypress Semiconductor Corp.
Cypress Semiconductor, Corp.
IDT72T18105 (IDT72T18xxx) HIGH-SPEED TeraSync FIFO 18-BIT/9-BIT CONFIGURATIONS
IDT
 
 Related keyword From Full Text Search System
MSM6252 zener MSM6252 module MSM6252 schematic MSM6252 specification MSM6252 Ic-on-line
MSM6252 Pin MSM6252 serial MSM6252 technology MSM6252 reserved MSM6252 regulation
 

 

Price & Availability of MSM6252

All Rights Reserved © IC-ON-LINE 2003 - 2022  

[Add Bookmark] [Contact Us] [Link exchange] [Privacy policy]
Mirror Sites :  [www.datasheet.hk]   [www.maxim4u.com]  [www.ic-on-line.cn] [www.ic-on-line.com] [www.ic-on-line.net] [www.alldatasheet.com.cn] [www.gdcy.com]  [www.gdcy.net]


 . . . . .
  We use cookies to deliver the best possible web experience and assist with our advertising efforts. By continuing to use this site, you consent to the use of cookies. For more information on cookies, please take a look at our Privacy Policy. X
0.057499885559082