Part Number Hot Search : 
1232035 MM1031XM F216BX WR12X DE3S6M10 HX1203NL FR40KR05 MAA02018
Product Description
Full Text Search

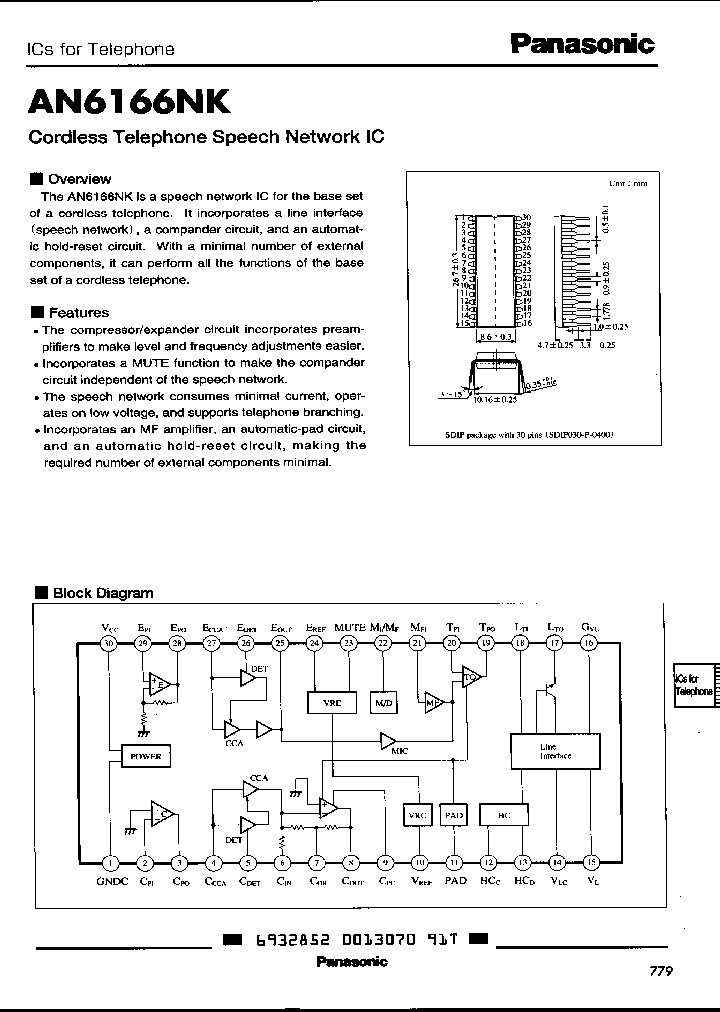
AN6166NK - Cordless Telephone Speech Network IC

AN6166NK_228334.PDF Datasheet


 Full text search : Cordless Telephone Speech Network IC
 Product Description search : Cordless Telephone Speech Network IC


 Related Part Number
PART Description Maker
AN6472NFBP Cordless Telephone Speech Network IC Incorporating Cross-Point Switch TELEPHONE SPEECH CKT, PQFP64
Panasonic, Corp.
Panasonic Corporation
Panasonic Semiconductor
AS2520 AS2520B AS2520BP AS2520BT AS2520P AS2520T A Telephone Speech Circuit with Loudhearing and Handsfree TELEPHONE SPEECH CKT, PDIP28
Telephone Speech Circuit with Loudhearing and Handsfree TELEPHONE SPEECH CKT, PDSO28
ams AG
Austria Mikro Systems
AMSCO[austriamicrosystems AG]
U3761MB-T U3761MB-TFN U3761MB-TFNG3 Universal Telephone IC - All Functions Integrated TELEPHONE MULTIFUNCTION CKT, PDSO44
One-chip telephone, low-voltage speech circuit, dialer 3 10 memories
http://
Atmel, Corp.
Atmel Corp.
ATMEL Corporation
AN6591FJM Transmission / reception, single chip PLL IC for PHS, cordless telephone TELECOM, CORDLESS, RF AND BASEBAND CIRCUIT, PQCC44
For InformationCommunication - Cellular Phone
Panasonic, Corp.
FX128 Cordless Telephone Scrambler
CONSUMER MICROCIRCUITS LIMITED
UM9310 Cordless Telephone Controller
UMC[UMC Corporation]
CXA1744AR IF Amplifier for Digital Cordless Telephone
SONY
TRM5P-J TRM5F-J TRM5P RF Module for Cordless Telephone in Japan Use
MITSUMI ELECTRIC
Mitsumi Electronics, Corp.
MC13109AFTA UNIVERSAL CORDLESS TELEPHONE SUBSYSTEM IC
Motorola, Inc.
UAA3515A UAA3515AHL 900 MHz analog cordless telephone IC
PHILIPS[Philips Semiconductors]
ACTF14-59 Compact RF duplexer for cordless telephone CT1
Advanced Crystal Technology
TB31214FNG PLL EREQUENCY SYNTHESIZER FOR CORDLESS TELEPHONE
Toshiba Semiconductor
 
 Related keyword From Full Text Search System
AN6166NK max AN6166NK 価格 AN6166NK lamp AN6166NK Bit AN6166NK marking code
AN6166NK Vout AN6166NK schottky AN6166NK FRE DOUNLODE AN6166NK equivalent ic AN6166NK epitaxial
 

 

Price & Availability of AN6166NK

All Rights Reserved © IC-ON-LINE 2003 - 2022  

[Add Bookmark] [Contact Us] [Link exchange] [Privacy policy]
Mirror Sites :  [www.datasheet.hk]   [www.maxim4u.com]  [www.ic-on-line.cn] [www.ic-on-line.com] [www.ic-on-line.net] [www.alldatasheet.com.cn] [www.gdcy.com]  [www.gdcy.net]


 . . . . .
  We use cookies to deliver the best possible web experience and assist with our advertising efforts. By continuing to use this site, you consent to the use of cookies. For more information on cookies, please take a look at our Privacy Policy. X
0.067107915878296