Part Number Hot Search : 
PC812B ZMD10 KSC3502F TFR433S CVA3415T UPC1158H SMBG5921 4N26X
Product Description
Full Text Search

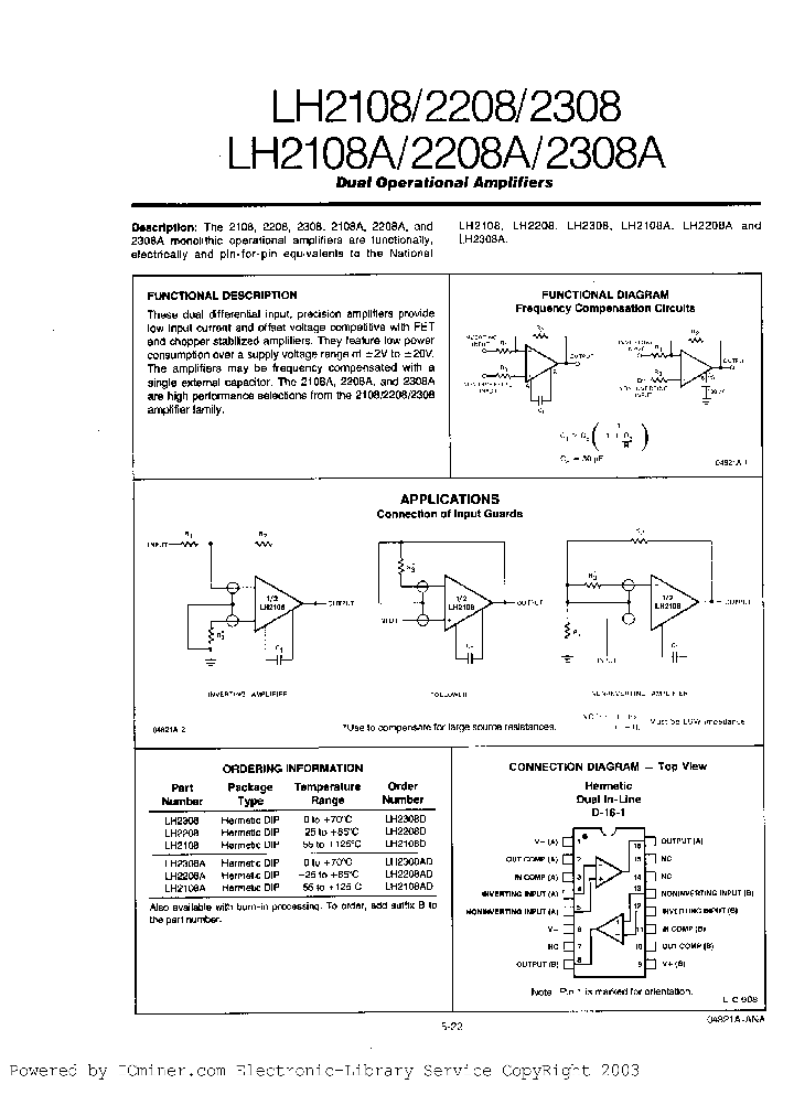
LH2308 - Voltage-FeedbackOperationalAmplifier

LH2308_200338.PDF Datasheet


 Full text search : Voltage-FeedbackOperationalAmplifier
 Product Description search : Voltage-FeedbackOperationalAmplifier


 Related Part Number
PART Description Maker
1N4742A 1N4728A 1N4734A 1N4747A 1N4756A 1N4759A 1N 1W zener diode. Nominal zener voltage 30V. 1% tolerance.
   1W ZENER DIODE
1W zener diode. Nominal zener voltage 15V. 2% tolerance.
1W zener diode. Nominal zener voltage 12V. 2% tolerance.
1W zener diode. Nominal zener voltage 82V. 1% tolerance.
1W zener diode. Nominal zener voltage 4.3V. 2% tolerance.
1W zener diode. Nominal zener voltage 16V. 2% tolerance.
1W zener diode. Nominal zener voltage 4.3V. 1% tolerance.
1W zener diode. Nominal zener voltage 51V. 2% tolerance.
1W zener diode. Nominal zener voltage 3.3V. 2% tolerance.
1W zener diode. Nominal zener voltage 62V. 2% tolerance.
1W zener diode. Nominal zener voltage 18V. 2% tolerance.
1W zener diode. Nominal zener voltage 9.1V. 2% tolerance.
1W zener diode. Nominal zener voltage 11V. 1% tolerance.
1W zener diode. Nominal zener voltage 56V. 2% tolerance.
1W zener diode. Nominal zener voltage 3.9V. 1% tolerance.
1W zener diode. Nominal zener voltage 33V. 2% tolerance.
1W zener diode. Nominal zener voltage 4.7V. 1% tolerance.
1W zener diode. Nominal zener voltage 3.3V. 1% tolerance.
1W zener diode. Nominal zener voltage 56V. 1% tolerance.
1W zener diode. Nominal zener voltage 36V. 1% tolerance.
1W zener diode. Nominal zener voltage 33V. 1% tolerance.
1W zener diode. Nominal zener voltage 22V. 1% tolerance.
1W zener diode. Nominal zener voltage 7.5V. 1% tolerance.
1W zener diode. Nominal zener voltage 9.1V. 1% tolerance.
surface mount silicon Zener diodes 硅表面贴装齐纳二极管
Zener Diodes for Stabilized Power Supply
1W zener diode. Nominal zener voltage 20V. 1% tolerance.
1W zener diode. Nominal zener voltage 12V. 1% tolerance.
1W zener diode. Nominal zener voltage 27V. 1% tolerance.
1W zener diode. Nominal zener voltage 51V. 1% tolerance.
1W zener diode. Nominal zener voltage 47V. 1% tolerance.
1W zener diode. Nominal zener voltage 91V. 1% tolerance.
1W zener diode. Nominal zener voltage 5.1V. 1% tolerance.
1W zener diode. Nominal zener voltage 6.2V. 1% tolerance.
1W zener diode. Nominal zener voltage 4.7V. 2% tolerance.
1W zener diode. Nominal zener voltage 15V. 1% tolerance.
1W zener diode. Nominal zener voltage 22V. 2% tolerance.
1W zener diode. Nominal zener voltage 68V. 1% tolerance.
1W zener diode. Nominal zener voltage 5.6V. 1% tolerance.
1W zener diode. Nominal zener voltage 10V. 2% tolerance.
1W zener diode. Nominal zener voltage 24V. 2% tolerance.
1W zener diode. Nominal zener voltage 7.5V. 2% tolerance.
1W zener diode. Nominal zener voltage 51V. 10% tolerance.
1W zener diode. Nominal zener voltage 75V. 2% tolerance.
1W zener diode. Nominal zener voltage 6.2V. 2% tolerance.
1W zener diode. Nominal zener voltage 16V. 1% tolerance.
1W zener diode. Nominal zener voltage 100V. 1% tolerance.
1W zener diode. Nominal zener voltage 82V. 10% tolerance.
1W zener diode. Nominal zener voltage 62V. 1% tolerance.
1W zener diode. Nominal zener voltage 11V. 2% tolerance.
Jinan Gude Electronic Devic...
娴???洪??靛??ㄤ欢??????
Jinan Gude Electronic Device Co., Ltd.
JGD[Jinan Gude Electronic Device]
ETC[ETC]
List of Unclassifed Manufacturers
http://
Hitachi Semiconductor
List of Unclassifed Manufac...
Jinan Gude Electronic D...
List of Unclassifed Man...
SO-512.00-300-1.33 SO-314.00-500-0.8 SO-154.80-600 VOLTAGE CONTROLLED SINE SAW OSCILLATOR, 511.7 MHz - 512.3 MHz
VOLTAGE CONTROLLED SINE SAW OSCILLATOR, 313.5 MHz - 314.5 MHz
VOLTAGE CONTROLLED SINE SAW OSCILLATOR, 154.2 MHz - 155.4 MHz
VOLTAGE CONTROLLED SINE SAW OSCILLATOR, 716.3 MHz - 717.3 MHz DFP-26
VOLTAGE CONTROLLED SINE SAW OSCILLATOR, 716.8 MHz - 717.8 MHz DFP-26
VOLTAGE CONTROLLED SINE SAW OSCILLATOR, 124.8 MHz - 125.2 MHz
VOLTAGE CONTROLLED SINE SAW OSCILLATOR, 514.6 MHz - 515.4 MHz
VOLTAGE CONTROLLED SINE SAW OSCILLATOR, 254.6 MHz - 254.8 MHz
VOLTAGE CONTROLLED SINE SAW OSCILLATOR, 833.3 MHz - 834.1 MHz DFP-26
VOLTAGE CONTROLLED SINE SAW OSCILLATOR, 99 MHz - 101 MHz
VOLTAGE CONTROLLED SINE SAW OSCILLATOR, 622.1 MHz - 622.9 MHz
VOLTAGE CONTROLLED SINE SAW OSCILLATOR, 299.7 MHz - 300.3 MHz
VOLTAGE CONTROLLED SINE SAW OSCILLATOR, 269.5 MHz - 270.5 MHz
VOLTAGE CONTROLLED SINE SAW OSCILLATOR, 724.55 MHz - 725.05 MHz DFP-26
VOLTAGE CONTROLLED SINE SAW OSCILLATOR, 376.59 MHz - 378.59 MHz
VOLTAGE CONTROLLED SINE SAW OSCILLATOR, 776.7 MHz - 777.3 MHz DFP-26
VOLTAGE CONTROLLED SINE SAW OSCILLATOR, 142.6 MHz - 143.4 MHz
VOLTAGE CONTROLLED SINE SAW OSCILLATOR, 716.5 MHz - 717.5 MHz DFP-26
VOLTAGE CONTROLLED SINE SAW OSCILLATOR, 929.7 MHz - 930.3 MHz DFP-26
VOLTAGE CONTROLLED SINE SAW OSCILLATOR, 774.7 MHz - 775.3 MHz DFP-26
VOLTAGE CONTROLLED SINE SAW OSCILLATOR, 445.6 MHz - 446 MHz
VOLTAGE CONTROLLED SINE SAW OSCILLATOR, 965.7 MHz - 966.3 MHz DFP-26
VOLTAGE CONTROLLED SINE SAW OSCILLATOR, 644.6 MHz - 645.4 MHz
VOLTAGE CONTROLLED SINE SAW OSCILLATOR, 661.68 MHz - 662.48 MHz
VOLTAGE CONTROLLED SINE SAW OSCILLATOR, 319.9 MHz - 320.1 MHz
VOLTAGE CONTROLLED SINE SAW OSCILLATOR, 694.6 MHz - 695.4 MHz
VOLTAGE CONTROLLED SINE SAW OSCILLATOR, 859.7 MHz - 860.3 MHz DFP-26
VOLTAGE CONTROLLED SINE SAW OSCILLATOR, 724.6 MHz - 725.4 MHz DFP-26
VOLTAGE CONTROLLED SINE SAW OSCILLATOR, 1023.7 MHz - 1024.3 MHz
VOLTAGE CONTROLLED SINE SAW OSCILLATOR, 600 MHz - 600.6 MHz
VOLTAGE CONTROLLED SINE SAW OSCILLATOR, 607.1 MHz - 607.9 MHz
VOLTAGE CONTROLLED SINE SAW OSCILLATOR, 499.6 MHz - 500.4 MHz
VOLTAGE CONTROLLED SINE SAW OSCILLATOR, 949.894 MHz - 950.594 MHz
Spectrum Control, Inc.
Abracon, Corp.
Cree, Inc.
Vishay Intertechnology, Inc.
LEDtronics, Inc.
Electronic Theatre Controls, Inc.
IRC Advanced Film
Pascall Electronics, Ltd.
ITT, Corp.
TE Connectivity, Ltd.
SPECTRUM CONTROL INC
ATV06B141J-G ATV06B141JB-G ATV06B510J-G ATV06B510J Transient Voltage Suppressor (TVS), P<sub>PPM</sub>=600Watts, V<sub>RWM</sub>=140V, Tolerance=5%
Transient Voltage Suppressor (TVS), P-PPM=600Watts, V-RWM=51V, Tolerance=5%
Transient Voltage Suppressor (TVS), P-PPM=600Watts, V-RWM=58V, Tolerance=5%
Transient Voltage Suppressor (TVS), P-PPM=600Watts, V-RWM=54V, Tolerance=5%
Transient Voltage Suppressor (TVS), P-PPM=600Watts, V-RWM=5V, Tolerance=5%
Transient Voltage Suppressor (TVS), P-PPM=600Watts, V-RWM=78V, Tolerance=5%
Transient Voltage Suppressor (TVS), P-PPM=600Watts, V-RWM=45V, Tolerance=5%
Transient Voltage Suppressor (TVS), P-PPM=600Watts, V-RWM=85V, Tolerance=5%
Transient Voltage Suppressor (TVS), P-PPM=600Watts, V-RWM=10V, Tolerance=5%
Transient Voltage Suppressor (TVS), P-PPM=600Watts, V-RWM=100V, Tolerance=5%
Transient Voltage Suppressor (TVS), P-PPM=600Watts, V-RWM=11V, Tolerance=5%
Transient Voltage Suppressor (TVS), P-PPM=600Watts, V-RWM=110V, Tolerance=5%
Transient Voltage Suppressor (TVS), P-PPM=600Watts, V-RWM=12V, Tolerance=5%
Transient Voltage Suppressor (TVS), P-PPM=600Watts, V-RWM=43V, Tolerance=5%
Transient Voltage Suppressor (TVS), P-PPM=600Watts, V-RWM=70V, Tolerance=5%
Transient Voltage Suppressor (TVS), P-PPM=600Watts, V-RWM=75V, Tolerance=5%
Transient Voltage Suppressor (TVS), P-PPM=600Watts, V-RWM=7V, Tolerance=5%
Transient Voltage Suppressor (TVS), P-PPM=600Watts, V-RWM=7.5V, Tolerance=5%
Transient Voltage Suppressor (TVS), P-PPM=600Watts, V-RWM=440V, Tolerance=5%
Transient Voltage Suppressor (TVS), P-PPM=600Watts, V-RWM=6V, Tolerance=5%
Transient Voltage Suppressor (TVS), P-PPM=600Watts, V-RWM=6.5V, Tolerance=5%
Transient Voltage Suppressor (TVS), P-PPM=600Watts, V-RWM=350V, Tolerance=5%
Transient Voltage Suppressor (TVS), P-PPM=600Watts, V-RWM=300V, Tolerance=5%
Transient Voltage Suppressor (TVS), P-PPM=600Watts, V-RWM=30V, Tolerance=5%
Transient Voltage Suppressor (TVS), P-PPM=600Watts, V-RWM=36V, Tolerance=5%
Transient Voltage Suppressor (TVS), P-PPM=600Watts, V-RWM=19V, Tolerance=5%
Transient Voltage Suppressor (TVS), P-PPM=600Watts, V-RWM=60V, Tolerance=5%
Transient Voltage Suppressor (TVS), P-PPM=600Watts, V-RWM=8.5V, Tolerance=5%
Transient Voltage Suppressor (TVS), P-PPM=600Watts, V-RWM=8V, Tolerance=5%
Transient Voltage Suppressor (TVS), P-PPM=600Watts, V-RWM=9V, Tolerance=5%
Transient Voltage Suppressor (TVS), P-PPM=600Watts, V-RWM=400V, Tolerance=5%
Comchip Technology
BU426 RP20 (F) Series - Powerline Regulated DC-DC Converters; Input Voltage (Vdc): 12V; Output Voltage (Vdc): 5V; 2:1 Wide Input Voltage Range; 20 Watts
HIGH VOLTAGE POWER SWITCH
意法半导
ST Microelectronics
STMicroelectronics
BRT21 BRT21H C67079-A1020-A6 C67079-A1021-A10 C670 SITACO AC Switches Without Zero Voltage Switch With Zero Voltage Switch 1 CHANNEL TRIAC OUTPUT WITH ZERO CRSVR OPTOCOUPLER
SITACO AC Switches Without Zero Voltage Switch With Zero Voltage Switch SITACO AC开关无零电压开关与零电压开
RP Series - Econoline Unregulated DC-DC Converters; Input Voltage (Vdc): 05V; Output Voltage (Vdc): 12V; Power: 1W; Pot-Core Transformer - separated
INDUCTOR TOROID 180UH 15% HORIZ
From old datasheet system
SIEMENS AG
SIEMENS[Siemens Semiconductor Group]
1N5988 1N5993 1N5987 1N5989 1N5997 1N5996 1N6029 1 From old datasheet system
Axial-Leaded 500 mW Zener Diodes
SILICON 500 mW ZENER DIODES
3.3V Input to Regulated 5V Output Charge Pumps
Static Protection Wrist Grounder; Body Material:Fabric RoHS Compliant: NA
Zener Voltage Regulator Diode 8.2 V, 0.48 W, SILICON, UNIDIRECTIONAL VOLTAGE REGULATOR DIODE, DO-204AH
Zener Voltage Regulator Diode 180 V, 0.48 W, SILICON, UNIDIRECTIONAL VOLTAGE REGULATOR DIODE, DO-204AH
Zener Voltage Regulator Diode 33 V, 0.48 W, SILICON, UNIDIRECTIONAL VOLTAGE REGULATOR DIODE, DO-204AH
Zener Voltage Regulator Diode 39 V, 0.48 W, SILICON, UNIDIRECTIONAL VOLTAGE REGULATOR DIODE, DO-204AH
Zener Voltage Regulator Diode 15 V, 0.48 W, SILICON, UNIDIRECTIONAL VOLTAGE REGULATOR DIODE, DO-204AH
Zener Voltage Regulator Diode 100 V, 0.48 W, SILICON, UNIDIRECTIONAL VOLTAGE REGULATOR DIODE, DO-204AH
Insulating Tape; Peak Reflow Compatible (260 C):No 27 V, 0.48 W, SILICON, UNIDIRECTIONAL VOLTAGE REGULATOR DIODE, DO-204AH
MICROSEMI CORP-LAWRENCE
MICROSEMI CORP-SCOTTSDALE
MICROSEMI[Microsemi Corporation]
Microsemi, Corp.
LA5318V Voltage-Dividing Voltage Generator for Multi-Voltage LCD Matrix Drive(用于多路电压LCD矩阵驱动分压发电
Sanyo Electric Co.,Ltd.
Sanyo Semicon Device
HDP01-0512NRL HDLA-2416 HDLG-2416 HDLU-2416 HDLO-2 Voltage Regulator IC; Package/Case:3-TO-220; Current Rating:1A; Output Voltage Max:5V; Voltage Regulator Type:Negative Voltage; Mounting Type:Through Hole
Linear Voltage Regulator IC; Supply Voltage Max:35V; Package/Case:3-TO-220; Output Voltage:5V; Current Rating:1A; Voltage Regulator Type:Positive Voltage; Mounting Type:Through Hole RoHS Compliant: Yes
Voltage Regulator IC; Package/Case:3-TO-220; Supply Voltage:35V; Output Current:1A; Output Voltage:18V; Voltage Regulator Type:Positive Voltage; Mounting Type:Through Hole
HARD DISK DRIVE POWER SUPPLY PROTECTION
Four Character 5.0 mm (0.2 inch) Smart 5 x 7 Alphanumeric Displays
ST Microelectronics
Agilent (Hewlett-Packard)
Agilent(Hewlett-Packard)
http://
ICL7662IBD ICL7662 Voltage Inverter, 5V, Input 4.5-20V, or Voltage Doubler to 38.6V
CMOS Voltage Converter
INTERSIL
NTE5232A NTE5174A NTE5191A NTE5191AK NTE5205AK NTE Zener diode, 10 watt, -5% tolerance. Nominal zener voltage Vz = 170V. Zener test current Izt = 15mA.
Zener diode, 10 watt, -5% tolerance. Nominal zener voltage Vz = 150V. Zener test current Izt = 17mA.
Zener diode, 10 watt, -5% tolerance. Nominal zener voltage Vz = 130V. Zener test current Izt = 19mA.
Zener diode, 10 watt, -5% tolerance. Nominal zener voltage Vz = 110V. Zener test current Izt = 23mA.
Zener diode, 10 watt, -5% tolerance. Nominal zener voltage Vz = 100V. Zener test current Izt = 25mA.
Zener diode, 10 watt, -5% tolerance. Nominal zener voltage Vz = 87V. Zener test current Izt = 29mA.
Zener diode, 10 watt, -5% tolerance. Nominal zener voltage Vz = 68V. Zener test current Izt = 37mA.
Zener diode, 10 watt, -5% tolerance. Nominal zener voltage Vz = 60V. Zener test current Izt = 43mA.
Zener diode, 10 watt, -5% tolerance. Nominal zener voltage Vz = 51V. Zener test current Izt = 50mA.
Zener diode, 10 watt, -5% tolerance. Nominal zener voltage Vz = 47V. Zener test current Izt = 55mA.
Zener diode, 10 watt, -5% tolerance. Nominal zener voltage Vz = 43V. Zener test current Izt = 60mA.
Zener diode, 10 watt, -5% tolerance. Nominal zener voltage Vz = 36V. Zener test current Izt = 70mA.
Zener diode, 10 watt, -5% tolerance. Nominal zener voltage Vz = 30V. Zener test current Izt = 85mA.
Zener diode, 10 watt, -5% tolerance. Nominal zener voltage Vz = 27V. Zener test current Izt = 95mA.
Zener Diode, 10 Watt ±5% Tolerance
Zener Diode, 10 Watt 【5% Tolerance
Zener Diode 10 Watt 5% Tolerance
Zener Diode / 10 Watt 5% Tolerance
Zener Diode, 10 Watt % Tolerance
Zener diode, 10 watt, -5% tolerance. Nominal zener voltage Vz = 28V. Zener test current Izt = 90mA.
Zener diode, 10 watt, -5% tolerance. Nominal zener voltage Vz = 33V. Zener test current Izt = 75mA.
Zener diode, 10 watt, -5% tolerance. Nominal zener voltage Vz = 39V. Zener test current Izt = 65mA.
Zener diode, 10 watt, -5% tolerance. Nominal zener voltage Vz = 45V. Zener test current Izt = 55mA.
Zener diode, 10 watt, -5% tolerance. Nominal zener voltage Vz = 50V. Zener test current Izt = 50mA.
Zener diode, 10 watt, -5% tolerance. Nominal zener voltage Vz = 56V. Zener test current Izt = 45mA.
Zener diode, 10 watt, -5% tolerance. Nominal zener voltage Vz = 62V. Zener test current Izt = 40mA.
Zener diode, 10 watt, -5% tolerance. Nominal zener voltage Vz = 75V. Zener test current Izt = 33mA.
Zener diode, 10 watt, -5% tolerance. Nominal zener voltage Vz = 91V. Zener test current Izt = 28mA.
Zener diode, 10 watt, -5% tolerance. Nominal zener voltage Vz = 105V. Zener test current Izt = 25mA.
Zener diode, 10 watt, -5% tolerance. Nominal zener voltage Vz = 120V. Zener test current Izt = 20mA.
Zener diode, 10 watt, -5% tolerance. Nominal zener voltage Vz = 140V. Zener test current Izt = 18mA.
Zener diode, 10 watt, -5% tolerance. Nominal zener voltage Vz = 160V. Zener test current Izt = 16mA.
NTE[NTE Electronics]
NTE Electronics, Inc.
Sony, Corp.
 
 Related keyword From Full Text Search System
LH2308 converter LH2308 hitachi LH2308 rectifier LH2308 complimentary against LH2308 Audio
LH2308 filetype:pdf LH2308 Rectifier LH2308 Mode LH2308 Converter LH2308 zener
 

 

Price & Availability of LH2308

All Rights Reserved © IC-ON-LINE 2003 - 2022  

[Add Bookmark] [Contact Us] [Link exchange] [Privacy policy]
Mirror Sites :  [www.datasheet.hk]   [www.maxim4u.com]  [www.ic-on-line.cn] [www.ic-on-line.com] [www.ic-on-line.net] [www.alldatasheet.com.cn] [www.gdcy.com]  [www.gdcy.net]


 . . . . .
  We use cookies to deliver the best possible web experience and assist with our advertising efforts. By continuing to use this site, you consent to the use of cookies. For more information on cookies, please take a look at our Privacy Policy. X
0.18836092948914