Part Number Hot Search : 
3EVKI L290B RN731V07 18010 AM2940LC 34063 MN6627 ADN4605
Product Description
Full Text Search

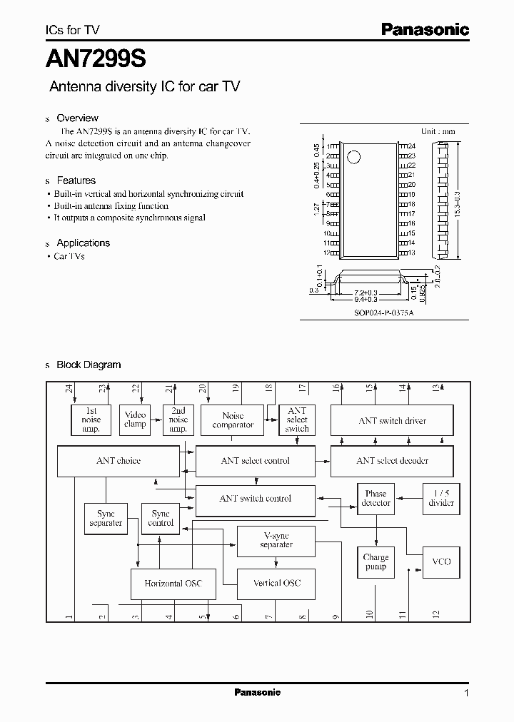
AN7299S - Antenna diversity IC for car TV

AN7299S_182035.PDF Datasheet

 
Part No. AN7299S
Description Antenna diversity IC for car TV

File Size 41.68K  /  4 Page  

Maker


PANASONIC[Panasonic Semiconductor]



JITONG TECHNOLOGY
(CHINA HK & SZ)
Datasheet.hk's Sponsor

Part: AN7299S
Maker: PANASONI
Pack: SOP24
Stock: 418
Unit price for :
    50: $2.57
  100: $2.44
1000: $2.32

Email: oulindz@gmail.com

Contact us

Homepage http://www.panasonic.co.jp/semicon/e-index.html
Download [ ]
[ AN7299S Datasheet PDF Downlaod from Datasheet.HK ]
[AN7299S Datasheet PDF Downlaod from Maxim4U.com ] :-)


[ View it Online ]   [ Search more for AN7299S ]

[ Price & Availability of AN7299S by FindChips.com ]

 Full text search : Antenna diversity IC for car TV
 Product Description search : Antenna diversity IC for car TV


 Related Part Number
PART Description Maker
KIA2039 KIA2039FN BIPOLAR LINEAR INTEGRATED CIRCUIT (FM ANTENNA DIVERSITY IC)
Korea Electronics (KEC)
KEC(Korea Electronics)
LA4422 5.8W typ AF Power Amplifier for Car Stereos, Car Radios
From old datasheet system
Sanyo Electric Co.,Ltd.
SANYO[Sanyo Semicon Device]
TEA6848H New In Car Entertainment car radio tuner IC with Precision Adjacent Channel Suppression
NXP Semiconductors
TEA6843 TEA6843HL New In Car Entertainment (NICE) extended car radio
PHILIPS[Philips Semiconductors]
TEA6823 TEA6823T TEA6825 TEA6825T In Car Entertainment ICE car radio
PHILIPS[Philips Semiconductors]
TEA6845 TEA6845AH TEA6845H New In Car Entertainment NICE car radio
PHILIPS[Philips Semiconductors]
TEA6840H New In Car Entertainment NICE car radio
NXP Semiconductors
804018K-2/595 804018K-2/596 802018K-3/595 804018KU 20800 MHz - 23700 MHz PARABOLIC ANTENNA, 25 dBi GAIN
23700 MHz - 26500 MHz PARABOLIC ANTENNA, 25 dBi GAIN
14250 MHz - 16150 MHz PARABOLIC ANTENNA, 25 dBi GAIN
53000 MHz - 60000 MHz PARABOLIC ANTENNA, 25 dBi GAIN
47000 MHz - 53000 MHz PARABOLIC ANTENNA, 25 dBi GAIN
31000 MHz - 35500 MHz PARABOLIC ANTENNA, 25 dBi GAIN
40000 MHz - 47000 MHz PARABOLIC ANTENNA, 25 dBi GAIN
75000 MHz - 87000 MHz PARABOLIC ANTENNA, 25 dBi GAIN
26500 MHz - 31000 MHz PARABOLIC ANTENNA, 25 dBi GAIN
Bourns, Inc.
Skyworks Solutions, Inc.
TE Connectivity, Ltd.
SKYWORKS SOLUTIONS INC
HA13164A ASSP>ICs for Car Audio>System Power Supply for Car Audio(dummy)
Multiple Voltage Regulator
Renesas Technology / Hitachi Semiconductor
 
 Related keyword From Full Text Search System
AN7299S silicon AN7299S switching AN7299S buffer AN7299S texas AN7299S schematic
AN7299S international AN7299S bit AN7299S diode AN7299S Amplifier AN7299S ic在线
 

 

Price & Availability of AN7299S

All Rights Reserved © IC-ON-LINE 2003 - 2022  

[Add Bookmark] [Contact Us] [Link exchange] [Privacy policy]
Mirror Sites :  [www.datasheet.hk]   [www.maxim4u.com]  [www.ic-on-line.cn] [www.ic-on-line.com] [www.ic-on-line.net] [www.alldatasheet.com.cn] [www.gdcy.com]  [www.gdcy.net]


 . . . . .
  We use cookies to deliver the best possible web experience and assist with our advertising efforts. By continuing to use this site, you consent to the use of cookies. For more information on cookies, please take a look at our Privacy Policy. X
0.23324799537659