Part Number Hot Search : 
0205135 C1504 30D60B ISL6267 393B1 D25XB20 TAN75A F1401
Product Description
Full Text Search

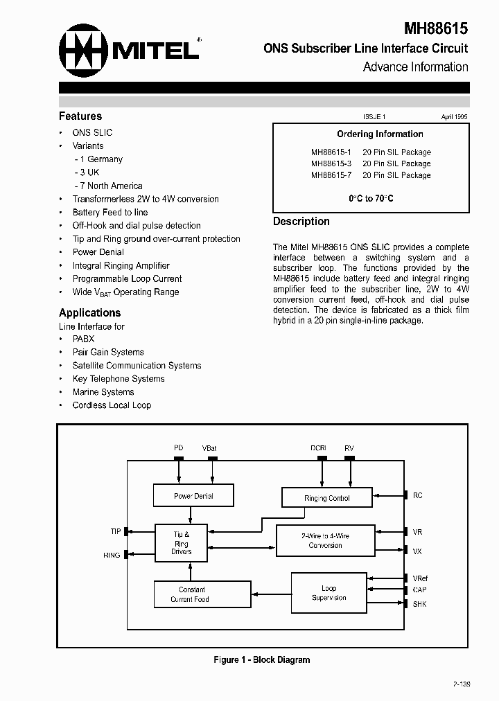
MH88615 - ONS Subscriber Line Interface Circuit Advance Information

MH88615_162757.PDF Datasheet

 
Part No. MH88615 MH88615-1 MH88615-3 MH88615-7
Description ONS Subscriber Line Interface Circuit Advance Information

File Size 50.40K  /  6 Page  

Maker


Mitel Semiconductor
MITEL[Mitel Networks Corporation]



JITONG TECHNOLOGY
(CHINA HK & SZ)
Datasheet.hk's Sponsor

Part: MH88612
Maker: MITEL
Pack:
Stock: Reserved
Unit price for :
    50: $4.59
  100: $4.36
1000: $4.13

Email: oulindz@gmail.com

Contact us

Homepage http://www.mitel.com/
Download [ ]
[ MH88615 MH88615-1 MH88615-3 MH88615-7 Datasheet PDF Downlaod from Datasheet.HK ]
[MH88615 MH88615-1 MH88615-3 MH88615-7 Datasheet PDF Downlaod from Maxim4U.com ] :-)


[ View it Online ]   [ Search more for MH88615 ]

[ Price & Availability of MH88615 by FindChips.com ]

 Full text search : ONS Subscriber Line Interface Circuit Advance Information
 Product Description search : ONS Subscriber Line Interface Circuit Advance Information


 Related Part Number
PART Description Maker
AM79534-1JC AM7953X-1DC AM7953X-2JC AM7953X-1JC AM Subscriber Line Interface Circuit TELECOM-SLIC, PQCC32
Subscriber Line Interface Circuit 用户线接口电
Advanced Micro Devices, Inc.
PBL3796 Subscriber Line Interface Circuit
Ericsson
AM79514-2JC AM79514-1JC Subscriber Line Interface Circuit
Advanced Micro Devices, Inc.
ADVANCED MICRO DEVICES INC
MH88612K Subscriber Line Interface Circuit
Zarlink Semiconductor
PBL386141SHT PBL38614-1 Subscriber Line Interface Circuit
http://
STLC3080 SUBSCRIBER LINE INTERFACE CIRCUIT
ST Microelectronics
AM7942 Subscriber Line Interface Circuit
AMD
PBL386151 PBL38615-1 PBL386151SHT PBL38615/1 Subscriber Line Interface Circuit
Ericsson Microelectronics
ERICSSON[Ericsson]
AM79514 AM79514-1JC AM79514-2JC Subscriber Line Interface Circuit
Advanced Micro Devices
MH88511 Subscriber Line Interface Circuit (SLIC)
Zarlink Semiconductor
LE79R79-2DJC LE79R79-2FQC LE79R79-3DJC LE79R79-1DJ Ringing Subscriber Line Interface Circuit
Zarlink
HC3-5504DLC-5 HC3-5504DLC-9 SLIC Subscriber Line Interface Circuit
Intersil Corporation
 
 Related keyword From Full Text Search System
MH88615 描述 MH88615 Vout MH88615 poliester MH88615 filetype:pdf MH88615 signal
MH88615 single MH88615 maker MH88615 Corporate MH88615 inductors MH88615 Derating Rule
 

 

Price & Availability of MH88615

All Rights Reserved © IC-ON-LINE 2003 - 2022  

[Add Bookmark] [Contact Us] [Link exchange] [Privacy policy]
Mirror Sites :  [www.datasheet.hk]   [www.maxim4u.com]  [www.ic-on-line.cn] [www.ic-on-line.com] [www.ic-on-line.net] [www.alldatasheet.com.cn] [www.gdcy.com]  [www.gdcy.net]


 . . . . .
  We use cookies to deliver the best possible web experience and assist with our advertising efforts. By continuing to use this site, you consent to the use of cookies. For more information on cookies, please take a look at our Privacy Policy. X
0.5048520565033