Part Number Hot Search : 
450NX HD29027P BD48K53 SSL310F 11221 HV9922N3 PT840610 FSDM0
Product Description
Full Text Search

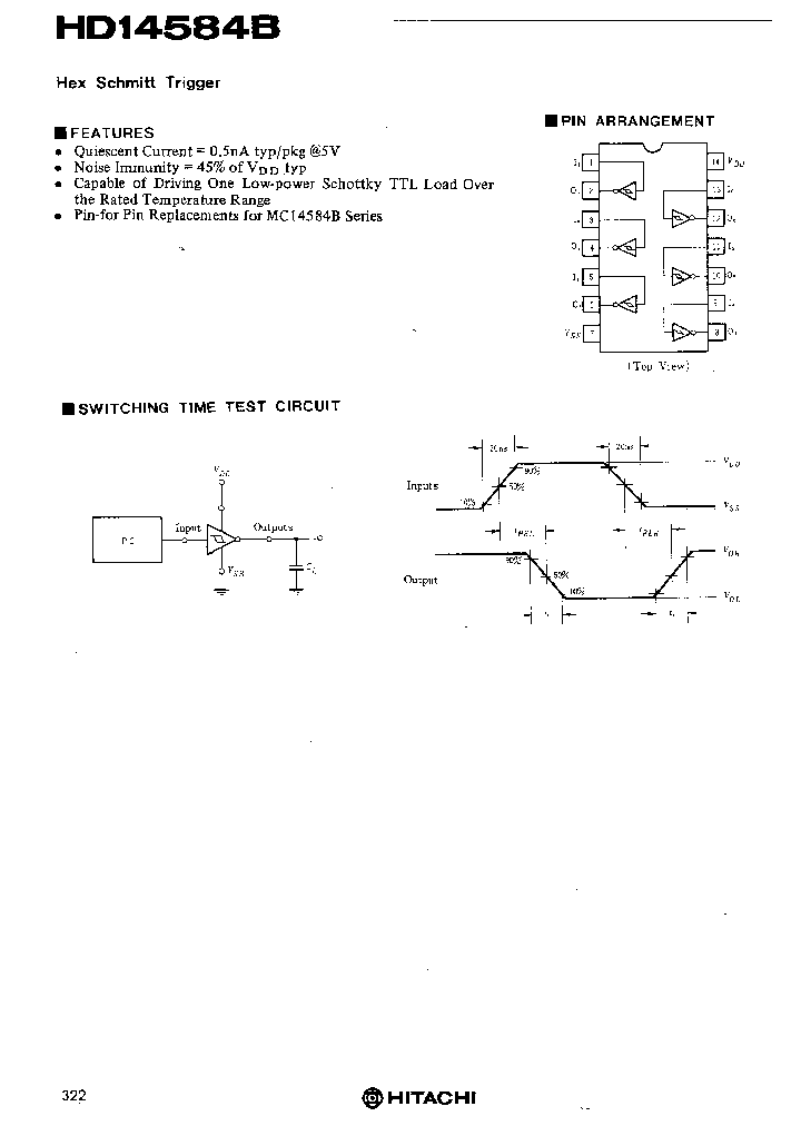
HD14584B - Hex Schmitt Trigger

HD14584B_162544.PDF Datasheet

 
Part No. HD14584B
Description Hex Schmitt Trigger

File Size 61.67K  /  6 Page  

Maker


http://
HITACHI[Hitachi Semiconductor]



JITONG TECHNOLOGY
(CHINA HK & SZ)
Datasheet.hk's Sponsor

Part: HD14584BP
Maker: HITACHI(日立)
Pack: DIP
Stock: 78
Unit price for :
    50: $0.55
  100: $0.53
1000: $0.50

Email: oulindz@gmail.com

Contact us

Homepage http://www.renesas.com/eng/
Download [ ]
[ HD14584B Datasheet PDF Downlaod from Datasheet.HK ]
[HD14584B Datasheet PDF Downlaod from Maxim4U.com ] :-)


[ View it Online ]   [ Search more for HD14584B ]

[ Price & Availability of HD14584B by FindChips.com ]

 Full text search : Hex Schmitt Trigger
 Product Description search : Hex Schmitt Trigger


 Related Part Number
PART Description Maker
MC14106BDTR2G MC14106B06 MC14106BCPG MC14106BDG MC    Hex Schmitt Trigger
Hex Schmitt Trigger 4000/14000/40000 SERIES, HEX 1-INPUT INVERT GATE, PDSO14
ONSEMI[ON Semiconductor]
74HCT14 74HCT14DR2G 74HCT14DTR2G 74HCT14.REV1 74HCT14 Data Sheet
Hex Schmitt-Trigger Inverter; Package: SOIC 14 LEAD; No of Pins: 14; Container: Tape and Reel; Qty per Container: 2500 HCT SERIES, HEX 1-INPUT INVERT GATE, PDSO14
Hex Schmitt−Trigger Inverter with LSTTL Compatible Inputs High−Performance Silicon−Gate CMOS
Rectron Semiconductor
MC54HCT14AJ MC54_74HCT14A ON1509 Hex Schmitt-Trigger Inverter with LSTTL Compatible Inputs
HEX SCHMITT-TRIGGER INVERTER WLTH LSTTL COMPATLBLE INPUTS
From old datasheet system
Motorola, Inc
ON Semi
74ACTQ14 74ACTQ14MTC 74ACTQ14PC 74ACTQ14SC Quiet SeriesHex Inverter with Schmitt Trigger Input ACT SERIES, HEX 1-INPUT INVERT GATE, PDSO14
Quiet Series Hex Inverter with Schmitt Trigger Input
From old datasheet system
Fairchild Semiconductor, Corp.
74AHC14BQ-G 74AHCT14BQ Hex inverting Schmitt trigger AHCT/VHCT/VT SERIES, HEX 1-INPUT INVERT GATE, PQCC14
NXP Semiconductors N.V.
U74HCT14L-D14-T HIGH-SPEED CMOS LOGIC HEX INVERTING SCHMITT TRIGGER HCT SERIES, HEX 1-INPUT INVERT GATE, DIP14
Unisonic Technologies Co., Ltd.
TC4584BP07 TC4584BF TC4584BFN TC4584BP Hex Schmitt Trigger
Toshiba Semiconductor
MM74C14 MM74C14M MM74C14N 74C14 Hex Schmitt Trigger
Fairchild Semiconductor Corporation
FAIRCHILD[Fairchild Semiconductor]
CD40106BC_03 CD40106BC CD40106BCM CD40106BCN CD401 Hex Schmitt Trigger
FAIRCHILD SEMICONDUCTOR CORP
FAIRCHILD[Fairchild Semiconductor]
MC14106B-D Hex Schmitt Trigger
ON Semiconductor
U3525-S16-T U3525-S16-R U3525-D16-T U74AHC1G00L-AF SINGLE SCHMITT-TRIGGER BUFFER
SINGLE SCHMITT-TRIGGER INVERTER
QUADRUPLE 2-INPUT POSITIVE-OR GATES
2-INPUT OR GATE
2-INPUT NOR GATE
HIGH-SPEED CMOS LOGIC HEX INVERTING SCHMITT TRIGGER
QUADRUPLE 2-INPUT POSITIVE-NAND GATES
2-INPUT EXCLUSIVE-OR GATE
SINGLE BUS BUFFER GATE WITH 3-STATE OUTPUT
BILATERAL SWITCH
2-INPUT AND GATE
2-INPUT NAND GATE
REGULATING PWM IC
友顺科技股份有限公司
UTC[Unisonic Technologies]
 
 Related keyword From Full Text Search System
HD14584B ethernet transceiver HD14584B 型号替换 HD14584B Engine HD14584B varactor HD14584B Untuk apa ic
HD14584B serial HD14584B Audio HD14584B Crystals HD14584B Source HD14584B sfp configuration
 

 

Price & Availability of HD14584B

All Rights Reserved © IC-ON-LINE 2003 - 2022  

[Add Bookmark] [Contact Us] [Link exchange] [Privacy policy]
Mirror Sites :  [www.datasheet.hk]   [www.maxim4u.com]  [www.ic-on-line.cn] [www.ic-on-line.com] [www.ic-on-line.net] [www.alldatasheet.com.cn] [www.gdcy.com]  [www.gdcy.net]


 . . . . .
  We use cookies to deliver the best possible web experience and assist with our advertising efforts. By continuing to use this site, you consent to the use of cookies. For more information on cookies, please take a look at our Privacy Policy. X
0.23169207572937