Part Number Hot Search : 
RFA53 MAX15 NTXV1 FST30035 1F100 MC1404 DL4735 NCP2809
Product Description
Full Text Search

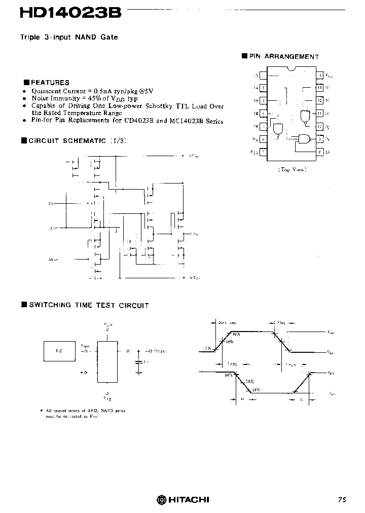
HD14023B - Triple 3-input NAND Gate

HD14023B_157518.PDF Datasheet


 Full text search : Triple 3-input NAND Gate
 Product Description search : Triple 3-input NAND Gate


 Related Part Number
PART Description Maker
DM54LS10J/883C DM54LS10J-MIL DM54LS10W-MIL DM54LS1 Triple 3-input NAND Gate 输入与非
Triple 3-input NAND Gate 3输入与非
NEC, Corp.
Delta Electronics, Inc.
Rochester Electronics, LLC
Alliance Semiconductor, Corp.
74LVC00ABQ 74LVC00AD Quad 2-input NAND gate 输入与非
Quad 2-input NAND gate LVC/LCX/Z SERIES, QUAD 2-INPUT NAND GATE, PQCC14
74LVC00A; Quad 2-input NAND gate
NXP Semiconductors N.V.
Philips
KK74ACT10 KK74ACT10N KK74ACT10D Triple 3-Input NAND Gate High-Speed Silicon-Gate CMOS
KODENSHI KOREA CORP.
KK74HC10AD KK74HC10AN Triple 3-Input NAND Gate High-Performance Silicon-Gate CMOS
KODENSHI KOREA CORP.
KK4023B Triple 3-Input NAND Gate High-Voltage Silicon-Gate CMOS
KODENSHI KOREA
74F30SJ 74F30PC 74F30SC 74F30 8-Input NAND Gate F/FAST SERIES, 8-INPUT NAND GATE, PDSO14
8-Input NAND Gate 8输入与非
Fairchild Semiconductor, Corp.
FAIRCHILD[Fairchild Semiconductor]
U3525-S16-T U3525-S16-R U3525-D16-T U74AHC1G00L-AF SINGLE SCHMITT-TRIGGER BUFFER
SINGLE SCHMITT-TRIGGER INVERTER
QUADRUPLE 2-INPUT POSITIVE-OR GATES
2-INPUT OR GATE
2-INPUT NOR GATE
HIGH-SPEED CMOS LOGIC HEX INVERTING SCHMITT TRIGGER
QUADRUPLE 2-INPUT POSITIVE-NAND GATES
2-INPUT EXCLUSIVE-OR GATE
SINGLE BUS BUFFER GATE WITH 3-STATE OUTPUT
BILATERAL SWITCH
2-INPUT AND GATE
2-INPUT NAND GATE
REGULATING PWM IC
友顺科技股份有限公司
UTC[Unisonic Technologies]
IW4023B Triple 3-Input NAND GAte
IK Semiconductor
MC3107 Triple 3-Input NAND Gate
Motorola
DV74AC10 DV74ACT10 Triple 3-Input NAND Gate
AVG Semiconductors(HITEK)
M74HCT10B1R M74HCT10C1R M74HCT10M1R M54HCT10 M54HC TRIPLE 3-INPUT NAND GATE
STMICROELECTRONICS[STMicroelectronics]
74ALS10A 74ALS10AN 74ALS10AD Triple 3-Input NAND gate
NXP Semiconductors
PHILIPS[Philips Semiconductors]
 
 Related keyword From Full Text Search System
HD14023B 描述 HD14023B free down HD14023B Processors HD14023B Datasheet HD14023B Operation
HD14023B Drain HD14023B Diode HD14023B saw filter HD14023B protection HD14023B regulation
 

 

Price & Availability of HD14023B

All Rights Reserved © IC-ON-LINE 2003 - 2022  

[Add Bookmark] [Contact Us] [Link exchange] [Privacy policy]
Mirror Sites :  [www.datasheet.hk]   [www.maxim4u.com]  [www.ic-on-line.cn] [www.ic-on-line.com] [www.ic-on-line.net] [www.alldatasheet.com.cn] [www.gdcy.com]  [www.gdcy.net]


 . . . . .
  We use cookies to deliver the best possible web experience and assist with our advertising efforts. By continuing to use this site, you consent to the use of cookies. For more information on cookies, please take a look at our Privacy Policy. X
0.29348301887512