Part Number Hot Search : 
SDS152KF 5KP110CA XFATM AN1234 SMB200 SK1240C NTE1771 CO4AVH
Product Description
Full Text Search

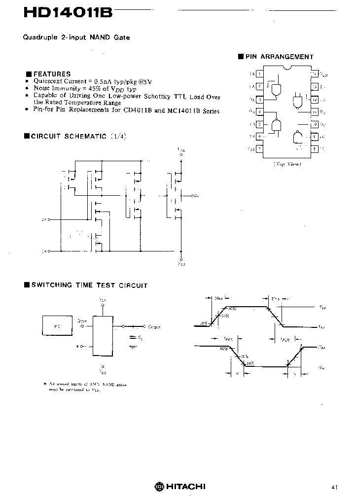
HD14011B - Quadruple 2-input NAND Gate

HD14011B_143135.PDF Datasheet

 
Part No. HD14011B
Description Quadruple 2-input NAND Gate

File Size 60.28K  /  6 Page  

Maker


Hitachi Semiconductor



JITONG TECHNOLOGY
(CHINA HK & SZ)
Datasheet.hk's Sponsor

Part: HD14011BFPEL
Maker: HITACHI
Pack: SOP14
Stock: 804
Unit price for :
    50: $0.17
  100: $0.16
1000: $0.15

Email: oulindz@gmail.com

Contact us

Homepage http://www.renesas.com/eng/
Download [ ]
[ HD14011B Datasheet PDF Downlaod from Datasheet.HK ]
[HD14011B Datasheet PDF Downlaod from Maxim4U.com ] :-)


[ View it Online ]   [ Search more for HD14011B ]

[ Price & Availability of HD14011B by FindChips.com ]

 Full text search : Quadruple 2-input NAND Gate
 Product Description search : Quadruple 2-input NAND Gate


 Related Part Number
PART Description Maker
HD74LS00 HD74LS00FPSMD HD74LS00PDIP HD74LS00RPSMD Quad. 2-input NAND Gates
QUADRUPLE 2-INPUT POSITIVE-NAND GATES
LOGIC GATE,QUAD 2-INPUT NAND,LS-TTL,DIP,14PIN,PLASTIC
From old datasheet system
Quad 2-input NAND Gate 输入与非
Hitachi America
HITACHI[Hitachi Semiconductor]
Hitachi,Ltd.
Renesas Electronics, Corp.
MC10109 MC10109FN MC10109L MC10109P ON0555 Replaced by SN54LS132 : Quadruple 2-Input Positive-NAND Schmitt Triggers 14-CDIP -55 to 125 10K SERIES, DUAL 5-INPUT OR/NOR GATE, PQCC20
Dual 4-5-Input OR/NOR Gate
PIN ASSIGNMENT
From old datasheet system
Motorola Mobility Holdings, Inc.
Motorola, Inc
ONSEMI[ON Semiconductor]
HCTS20MS HCTS20D_SAMPLE HCTS20DMSR HCTS20HMSR HCTS NAND-Gate, 4-Input, TTL Inputs, Dual, Rad-Hard, High-Speed, CMOS, Logic
Switch Boot; For Use With:Toggle Switches
Radiation Hardened Dual 4-Input NAND Gate HCT SERIES, DUAL 4-INPUT NAND GATE, CDFP14
INTERSIL[Intersil Corporation]
Intersil, Corp.
HD14011B Quadruple 2-input NAND Gate
Hitachi Semiconductor
U74HCT00-S14-T U74HCT00-S14-R QUADRUPLE 2-INPUT NAND GATE
Unisonic Technologies
74HC20D HCT20 74HCT20 74HCT20N 74HC20N 74HC20 74HC Dual 4-input NAND gate HC/UH SERIES, DUAL 4-INPUT NAND GATE, PDSO14
74HC/HCT20; Dual 4-input NAND gate
Dual 4-input NAND gate 输入与非
PHILIPS[Philips Semiconductors]
NXP Semiconductors N.V.
74F30SJ 74F30PC 74F30SC 74F30 8-Input NAND Gate F/FAST SERIES, 8-INPUT NAND GATE, PDSO14
8-Input NAND Gate 8输入与非
Fairchild Semiconductor, Corp.
FAIRCHILD[Fairchild Semiconductor]
CD4023 CD4023BC CD4023BCM CD4023BCN CD4023BCS CD40 Triple 3-input NAND Gate 4000/14000/40000 SERIES, TRIPLE 3-INPUT NAND GATE, PDSO14
Buffered Triple 3-Input NAND Gate
Fairchild Semiconductor, Corp.
FAIRCHILD[Fairchild Semiconductor]
74AUP1G38GM132 74AUP1G38GW125 Low-power 2-input NAND gate (open drain); Package: SOT886 (XSON6); Container: Tape reel smd AUP/ULP/V SERIES, 2-INPUT NAND GATE, PDSO6
Low-power 2-input NAND gate (open drain); Package: SOT353-1 (TSSOP5); Container: Reel Pack, Reverse, Reverse AUP/ULP/V SERIES, 2-INPUT NAND GATE, PDSO5
NXP Semiconductors N.V.
74AUP2G38 74AUP2G38DC 74AUP2G38GM 74AUP2G38GT 74AU Low-power dual 2-input NAND gate (open-drain)
Low-power dual 2-input NAND gate; open drain; Package: SOT765-1 (VSSOP8); Container: Reel Pack, Reverse, Reverse AUP/ULP/V SERIES, DUAL 2-INPUT NAND GATE, PDSO8
Philips Semiconductors
NXP Semiconductors N.V.
 
 Related keyword From Full Text Search System
HD14011B integrated gigabit HD14011B Precision HD14011B Bit HD14011B Integrated HD14011B intersil
HD14011B ptc data HD14011B samsung HD14011B Datasheet HD14011B applications HD14011B huck
 

 

Price & Availability of HD14011B

All Rights Reserved © IC-ON-LINE 2003 - 2022  

[Add Bookmark] [Contact Us] [Link exchange] [Privacy policy]
Mirror Sites :  [www.datasheet.hk]   [www.maxim4u.com]  [www.ic-on-line.cn] [www.ic-on-line.com] [www.ic-on-line.net] [www.alldatasheet.com.cn] [www.gdcy.com]  [www.gdcy.net]


 . . . . .
  We use cookies to deliver the best possible web experience and assist with our advertising efforts. By continuing to use this site, you consent to the use of cookies. For more information on cookies, please take a look at our Privacy Policy. X
0.40308403968811