Part Number Hot Search : 
HT46R48 MC7806A CM756 CM755 CM216 UNR9214 1CMU5 S2E15
Product Description
Full Text Search

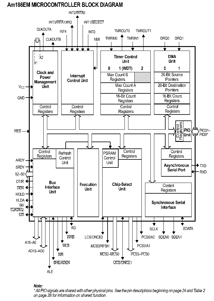
AM186EM - Am186EM Microcontroller Block Diagram

AM186EM_21531.PDF Datasheet

 
Part No. AM186EM
Description Am186EM Microcontroller Block Diagram

File Size 13.96K  /  1 Page  

Maker


Advanced Micro Devices
ETC[ETC]
List of Unclassifed Manufacturers



JITONG TECHNOLOGY
(CHINA HK & SZ)
Datasheet.hk's Sponsor

Part: AM186EM-40VC
Maker: AMD(先进)
Pack: QFP100
Stock: 258
Unit price for :
    50: $8.12
  100: $7.72
1000: $7.31

Email: oulindz@gmail.com

Contact us

Homepage
Download [ ]
[ AM186EM Datasheet PDF Downlaod from Datasheet.HK ]
[AM186EM Datasheet PDF Downlaod from Maxim4U.com ] :-)


[ View it Online ]   [ Search more for AM186EM ]

[ Price & Availability of AM186EM by FindChips.com ]

 Full text search : Am186EM Microcontroller Block Diagram
 Product Description search : Am186EM Microcontroller Block Diagram


 Related Part Number
PART Description Maker
AM186EM Am186EM Microcontroller Block Diagram
Advanced Micro Devices
ETC[ETC]
List of Unclassifed Manufacturers
MPC555 MPC555LFMZP40 MPC555PB MPC555D MPC555LFAZP4 This document provides an overview of the MPC555 microcontroller, including a block diagram showing the major modular components and sections that lis
THIS DOCUMENT PROVIDES AN OVERVIEW OF THE MPC555 MICROCONTROLLER, INCLUDING A BLOCK DIAGRAM SHOWING THE MAJOR MODULAR COMPONENTS AND SECTIONS THAT LIS
This document provides an overview of the MPC555 microcontroller, including a block diagram showing 
Circular Connector; Body Material:Aluminum; Series:PT07; Number of Contacts:6; Connector Shell Size:10; Connecting Termination:Solder; Circular Shell Style:Jam Nut Receptacle; Circular Contact Gender:Socket; Insert Arrangement:10-98
CABLE ASSEMBLY; ; NMO Antenna Mount to BNC Male, RG58C/U, 5 feet
MOTOROLA[Motorola, Inc]
Motorola, Inc.
AM186ER Am186ER Microcontroller Block Diagram
Advanced Micro Devices
DEBUG186 DEBUGGING Debugging an Am186EM Application on the SD186EM Demonstration Board Using Microsoft's C/C Compiler and Paradigm Debug Software Application Note 80.0KB (PDF) 调试的SD186EM演示板使用微软的C / C编译器和调试软件中的应用范例说明1 Am186EM应用程序80.0KB(PDF格式
AMIC Technology, Corp.
Z2.302.0421.0 Terminal Block Ground Block; No. of Positions:1; Wire Size (AWG):2/0-6; Mounting Type:DIN Rail; Color:Yellow/Green MODULAR TERMINAL BLOCK
Wieland Electric, Inc.
WIELAND ELECTRIC INC
1616500000 Terminal Block; Wire Size (AWG):26-12; Mounting Type:Clip; Leaded Process Compatible:Yes; Terminal Block Clamp Type:Tension Clamp 16 A, MODULAR TERMINAL BLOCK, 1 ROW, 1 DECK
Weidmuller, Corp.
12-142 13-142 Terminal Block; Number of Positions:12; Pitch Spacing:0.563"; Wire Size (AWG):10; Color:Black; Leaded Process Compatible:No; Number of Contacts:12; Peak Reflow Compatible (260 C):No 30 A, BARRIER STRIP TERMINAL BLOCK, 2 ROWS, 1 DECK
CONN BARRIER BLOCK .563 13 POS 30 A, BARRIER STRIP TERMINAL BLOCK, 2 ROWS, 1 DECK
Cinch Connectors
BLK-89 Coaxial DC Block SMA 0.0001 to 8 GHz 0.1 MHz - 8000 MHz RF/MICROWAVE INSIDE DC BLOCK, 0.9 dB INSERTION LOSS-MAX
Coaxial DC Block SMA 0.0001 to 8 GHz
MINI[Mini-Circuits]
LD87C51FB-1 TP80C51FA N80C51FA-24 LN80C51FA-1 D83C 8-BIT, MROM, 33 MHz, MICROCONTROLLER, CDIP40
8-BIT, 16 MHz, MICROCONTROLLER, PQCC44
8-BIT, 24 MHz, MICROCONTROLLER, PQCC44
EVENT-CONTROL CHMOS SINGLE-CHIP 8-BIT MICROCONTROLLER 8-BIT, 12 MHz, MICROCONTROLLER, PDIP40
8-Bit MCU: CISC: EPROM: MCS51 Family
INTEL CORP
Intel, Corp.
25.602.2953.0 Terminal Block; No. of Positions:9; Pitch Spacing:0.197"; Mounting Type:PC Board RoHS Compliant: Yes 15 A, STRIP TERMINAL BLOCK, 1 ROW, 1 DECK
Wieland Electric, Inc.
25.640.3353.0 Terminal Block RoHS Compliant: Yes 8 A, MODULAR TERMINAL BLOCK, 1 ROW, 1 DECK
Wieland Electric, Inc.
 
 Related keyword From Full Text Search System
AM186EM 参数比较 AM186EM amplifier AM186EM protection ic AM186EM Micropower AM186EM Regulator
AM186EM Controller AM186EM データシート AM186EM PDF AM186EM Crystals AM186EM quad
 

 

Price & Availability of AM186EM

All Rights Reserved © IC-ON-LINE 2003 - 2022  

[Add Bookmark] [Contact Us] [Link exchange] [Privacy policy]
Mirror Sites :  [www.datasheet.hk]   [www.maxim4u.com]  [www.ic-on-line.cn] [www.ic-on-line.com] [www.ic-on-line.net] [www.alldatasheet.com.cn] [www.gdcy.com]  [www.gdcy.net]


 . . . . .
  We use cookies to deliver the best possible web experience and assist with our advertising efforts. By continuing to use this site, you consent to the use of cookies. For more information on cookies, please take a look at our Privacy Policy. X
0.12147212028503