Part Number Hot Search : 
P6KE400 133TQI PVB5VBV 1N5221 LAN91C96 SMCJ130 BUV60 TC40H273
Product Description
Full Text Search

MT8963AE - Integrated PCM Filter Codec

MT8963AE_9571.PDF Datasheet

 
Part No. MT8963AE MT8965 MT8966 MT8962AS1 MT8960AE1 MT8963AE1 MT8963AS1 MT8963ASR
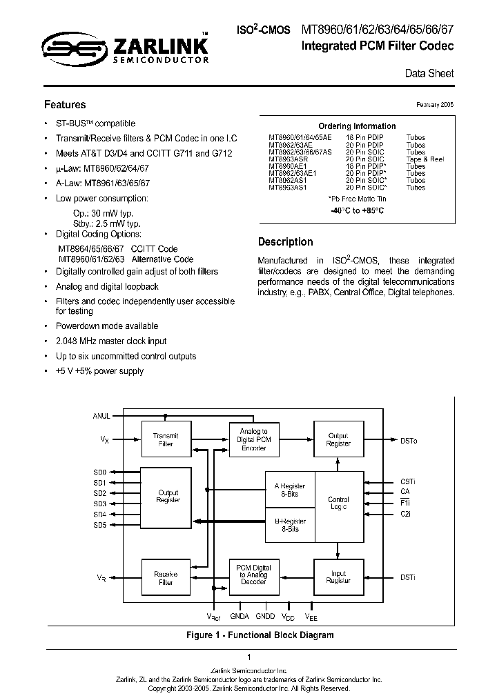
Description Integrated PCM Filter Codec

File Size 595.67K  /  32 Page  

Maker


Zarlink Semiconductor Inc



JITONG TECHNOLOGY
(CHINA HK & SZ)
Datasheet.hk's Sponsor

Part: MT8963AE
Maker: MITSUBISHI
Pack: DIP20
Stock: 152
Unit price for :
    50: $4.98
  100: $4.74
1000: $4.49

Email: oulindz@gmail.com

Contact us

Homepage http://www.zarlink.com/
Download [ ]
[ MT8963AE MT8965 MT8966 MT8962AS1 MT8960AE1 MT8963AE1 MT8963AS1 MT8963ASR Datasheet PDF Downlaod from Datasheet.HK ]
[MT8963AE MT8965 MT8966 MT8962AS1 MT8960AE1 MT8963AE1 MT8963AS1 MT8963ASR Datasheet PDF Downlaod from Maxim4U.com ] :-)


[ View it Online ]   [ Search more for MT8963AE ]

[ Price & Availability of MT8963AE by FindChips.com ]

 Full text search : Integrated PCM Filter Codec
 Product Description search : Integrated PCM Filter Codec


 Related Part Number
PART Description Maker
PEB2466-HV1.2 Four Channel Codec Filter with PCM- and m-Controller Interface SICOFI4-mC A/MU-LAW, PCM CODEC, PQFP64
SIEMENS AG
MC14LC5481 PCM Codec-Filter(PCM 编解滤波
Motorola, Inc.
KK145567N KK145567 PCM CODEC - FILTER
KODENSHI KOREA CORP.
ML145502WP PCM Codec-Filter Mono-Circuit
LANSDALE Semiconductor ...
MC14LC5480 5 V PCM CODEC FILTER ADVANCE INFO 96 R0.1
Motorola
MC145482 MC145482DW MC145482SD 5V 13-BIT LINEAR PCM CODEC-FILTER
5 V 13-Bit Linear PCM Codec-Filter
MOTOROLA[Motorola, Inc]
MOTOROLA[Motorola Inc]
MC145574DWR2 MC145554DW MC145554P DATACOM, ISDN CONTROLLER, PDSO28
MU-LAW, PCM CODEC, PDSO16
MU-LAW, PCM CODEC, PDIP16
MOTOROLA INC
FREESCALE SEMICONDUCTOR INC
M5913 M5913B1 COMBINED SINGLE CHIP PCM CODEC AND FILTER
意法半导
STMicroelectronics
MC145482 5V 13-Bit Linear PCM Codec-Filter
From old datasheet system
Motorola
 
 Related keyword From Full Text Search System
MT8963AE step-down converter MT8963AE baumer ivo gxmmw MT8963AE Supply MT8963AE regulator MT8963AE pitch
MT8963AE mos MT8963AE rectifier MT8963AE Purpose MT8963AE 制造商 MT8963AE Step
 

 

Price & Availability of MT8963AE

All Rights Reserved © IC-ON-LINE 2003 - 2022  

[Add Bookmark] [Contact Us] [Link exchange] [Privacy policy]
Mirror Sites :  [www.datasheet.hk]   [www.maxim4u.com]  [www.ic-on-line.cn] [www.ic-on-line.com] [www.ic-on-line.net] [www.alldatasheet.com.cn] [www.gdcy.com]  [www.gdcy.net]


 . . . . .
  We use cookies to deliver the best possible web experience and assist with our advertising efforts. By continuing to use this site, you consent to the use of cookies. For more information on cookies, please take a look at our Privacy Policy. X
0.038382768630981